16. (8分)在“探究电流与电阻关系”的实验中,使用的电源为两节新干电池。

(1)如图12甲所示为实验电路,请在接错的一根导线上打“×”,再用笔画线代替导线将电路改正(导线不允许交叉)。
(2)电路改正后,进行了三次实验,在第二次实验中电流表示数如图12乙所示,请将电流表示数填入表格空白处。
| 序号 | 电阻R/Ω | 电流I/A |
| :---: | :---: | :---: |
| 1 | 5 | 0.40 |
| 2 | 10 | |
| 3 | 20 | 0.10 |
(3)根据上表数据及相关已知条件计算,三次实验中,滑动变阻器连入电路的最大电阻为______Ω。

(1)如图12甲所示为实验电路,请在接错的一根导线上打“×”,再用笔画线代替导线将电路改正(导线不允许交叉)。
(2)电路改正后,进行了三次实验,在第二次实验中电流表示数如图12乙所示,请将电流表示数填入表格空白处。
| 序号 | 电阻R/Ω | 电流I/A |
| :---: | :---: | :---: |
| 1 | 5 | 0.40 |
| 2 | 10 | |
| 3 | 20 | 0.10 |
(3)根据上表数据及相关已知条件计算,三次实验中,滑动变阻器连入电路的最大电阻为______Ω。
答案:
(1)如答图所示。
(2)0.20
(3)10
(1)如答图所示。
(2)0.20
(3)10
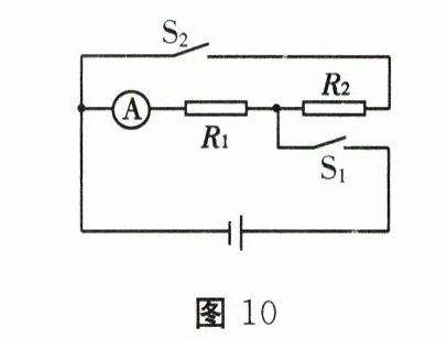
17. (10分)如图13所示的电路中,电阻$R_1$为20Ω,电源电压不变。当$S_1、$$S_2$断开$,S_3$闭合时,电流表的示数为0.45A;当$S_1$断开$,S_2、$$S_3$闭合时,电流表的示数为0.75A。求:
(1)电源电压;
(2)电阻$R_2$的大小;
$(3)S_2、$$S_3$断开$,S_1$闭合时,加在电阻为$R_1$的电阻器两端的电压为多少?

(1)电源电压;
(2)电阻$R_2$的大小;
$(3)S_2、$$S_3$断开$,S_1$闭合时,加在电阻为$R_1$的电阻器两端的电压为多少?
答案:
解:
(1)当S₁、S₂断开,S₃闭合时,电阻为R₁的电阻器接在电源两端,电源电压U=I₁R₁=0.45 A×20 Ω=9 V。
(2)当S₁断开,S₂、S₃闭合时,电阻为R₁和R₂的电阻器并联,通过电阻为R₂的电阻器的电流I₂=I - I₁=0.75 A - 0.45 A=0.3 A,电阻R₂=U₂/I₂=U/I₂=9 V/0.3 A=30 Ω。
(3)当S₂、S₃断开,S₁闭合时,电阻为R₁和R₂的电阻器串联,电路中的电流I'=U/R=9 V/(20 Ω + 30 Ω)=0.18 A,电阻为R₁的电阻器两端的电压U₁'=I'R₁=I'R₁=0.18 A×20 Ω=3.6 V。
(1)当S₁、S₂断开,S₃闭合时,电阻为R₁的电阻器接在电源两端,电源电压U=I₁R₁=0.45 A×20 Ω=9 V。
(2)当S₁断开,S₂、S₃闭合时,电阻为R₁和R₂的电阻器并联,通过电阻为R₂的电阻器的电流I₂=I - I₁=0.75 A - 0.45 A=0.3 A,电阻R₂=U₂/I₂=U/I₂=9 V/0.3 A=30 Ω。
(3)当S₂、S₃断开,S₁闭合时,电阻为R₁和R₂的电阻器串联,电路中的电流I'=U/R=9 V/(20 Ω + 30 Ω)=0.18 A,电阻为R₁的电阻器两端的电压U₁'=I'R₁=I'R₁=0.18 A×20 Ω=3.6 V。
18. (12分)如图14甲所示,电源电压不变,电阻器的电阻$R_1$为20Ω。闭合开关S,电流表$A_1$和$A_2$的示数分别为0.6A、1A。求:
(1)电源电压U;
(2)滑动变阻器连入电路的电阻$R_2;$
(3)若移动滑片P到某位置时,发现一电流表的示数如图14乙所示,求此时电路中的总电阻R。

(1)电源电压U;
(2)滑动变阻器连入电路的电阻$R_2;$
(3)若移动滑片P到某位置时,发现一电流表的示数如图14乙所示,求此时电路中的总电阻R。
答案:
解:
(1)由于并联电路中各支路两端的电压相等,根据欧姆定律,可得电源电压U=U₂=U₁=I₁R₁=0.6 A×20 Ω=12 V。
(2)因为并联电路中干路电流等于各支路电流之和,所以,通过滑动变阻器的电流I₂=I - I₁=1 A - 0.6 A=0.4 A,则滑动变阻器连入电路的电阻R₂=U₂/I₂=12 V/0.4 A=30 Ω。
(3)电流表A₁测定值电阻所在支路的电流,则A₁示数是不变的,所以,移动滑片P到某位置时,如题图乙所示,电流表是A₂的示数,由于干路电流一定大于0.6 A,所以干路上的电流表的测量范围是0~3 A,其示数为1.2 A,即干路的电流为1.2 A,由I=U/R,可得电路中的总电阻R=U/I'=12 V/1.2 A=10 Ω。
(1)由于并联电路中各支路两端的电压相等,根据欧姆定律,可得电源电压U=U₂=U₁=I₁R₁=0.6 A×20 Ω=12 V。
(2)因为并联电路中干路电流等于各支路电流之和,所以,通过滑动变阻器的电流I₂=I - I₁=1 A - 0.6 A=0.4 A,则滑动变阻器连入电路的电阻R₂=U₂/I₂=12 V/0.4 A=30 Ω。
(3)电流表A₁测定值电阻所在支路的电流,则A₁示数是不变的,所以,移动滑片P到某位置时,如题图乙所示,电流表是A₂的示数,由于干路电流一定大于0.6 A,所以干路上的电流表的测量范围是0~3 A,其示数为1.2 A,即干路的电流为1.2 A,由I=U/R,可得电路中的总电阻R=U/I'=12 V/1.2 A=10 Ω。
查看更多完整答案,请扫码查看