2024年优等生测评卷九年级物理全一册人教版
注:目前有些书本章节名称可能整理的还不是很完善,但都是按照顺序排列的,请同学们按照顺序仔细查找。练习册 2024年优等生测评卷九年级物理全一册人教版 答案主要是用来给同学们做完题方便对答案用的,请勿直接抄袭。
18. 新素材 2024年4月25日,搭载神舟十八号载人飞船的长征二号F遥十八运载火箭在酒泉卫星发射中心点火发射。请从能量转化过程简要说明神舟十八号发射升空的动力来源。
答案:
答:点火后,燃料燃烧将化学能转化为内能,产生高温高压的燃气,燃气迅速喷出做功,将内能转化为机械能,实现神舟十八号发射升空。
19. 真实情境 有一天,小芳的弟弟问她,他穿在身上的化纤材料的衣服经常会吸附在身体上是什么原因?小芳利用所掌握的知识向弟弟解释了这一现象,弟弟很高兴。请你说出小芳是怎样向弟弟解释这一现象的。
答案:
答:人体与化纤衣服相互摩擦,发生摩擦起电现象,人体与衣服带有异种电荷,根据电荷间作用规律可知,异种电荷相互吸引,所以人体和衣服会吸附在一起。
20. 超导是导体电阻为零的现象,目前只研制出了低温下的超导材料。若研制出常温下的超导材料并作为输电导线,那么,还需要采用高压输电吗?为什么?
答案:
答:不需要。采用高压输电是为了减少电能在输电导线上的损耗;若利用超导材料作导线,电阻为 0,由焦耳定律 Q = I²Rt 可知,无论电流多大,输电导线上都没有电能损耗,所以无需高压输电。
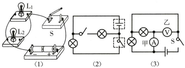
21. (1)如图所示,是一个未完成连接的实物电路。请用笔画线代替导线将电路连接完整,要求:L₁与L₂并联,开关S控制两盏灯,导线不能交叉;
(2)如图,请在两个虚线框内填入“电池”和“开关”的符号,使开关都闭合时两灯组成并联电路;
(3)如图,请在甲、乙两个“〇”内填入“电压表”和“电流表”的符号,使两灯组成并联电路。

(2)如图,请在两个虚线框内填入“电池”和“开关”的符号,使开关都闭合时两灯组成并联电路;
(3)如图,请在甲、乙两个“〇”内填入“电压表”和“电流表”的符号,使两灯组成并联电路。
答案:
22. 回归教材 在探究“比较不同物质吸热能力的情况”的实验中,实验装置如图所示。


(1)实验中应量取质量相等的甲乙两种液体,分别倒入相同的烧杯中,用相同的电加热器加热,加热4 min,甲吸收的热量________(选填“大于”“小于”或“等于”)乙吸收的热量。
(2)当它们吸收相同的热量时,通过比较________来判断吸热能力的强弱。
(3)通过实验,记录数据如表格所示,从开始加热到42℃,比较甲乙两种液体吸收的热量:Q甲________Q乙。
(4)分析实验数据可知:________物质的吸热能力强。
(1)实验中应量取质量相等的甲乙两种液体,分别倒入相同的烧杯中,用相同的电加热器加热,加热4 min,甲吸收的热量________(选填“大于”“小于”或“等于”)乙吸收的热量。
(2)当它们吸收相同的热量时,通过比较________来判断吸热能力的强弱。
(3)通过实验,记录数据如表格所示,从开始加热到42℃,比较甲乙两种液体吸收的热量:Q甲________Q乙。
(4)分析实验数据可知:________物质的吸热能力强。
答案:
(1)等于
(2)升高温度的多少
(3)小于
(4)乙
(1)等于
(2)升高温度的多少
(3)小于
(4)乙
查看更多完整答案,请扫码查看