2024年优等生测评卷九年级物理全一册人教版
注:目前有些书本章节名称可能整理的还不是很完善,但都是按照顺序排列的,请同学们按照顺序仔细查找。练习册 2024年优等生测评卷九年级物理全一册人教版 答案主要是用来给同学们做完题方便对答案用的,请勿直接抄袭。
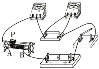
23. 拓展性学习小组的同学合作探究“串联电路的电压特点”,设计了图甲电路,并根据实验数据描绘了图丙图线。(已知电源电压恒为6 V)

(1)正确连接后,应将滑动变阻器的滑片移到最________端(选填“左”或“右”)。
(2)闭合开关,用电压表测R₁两端的电压时,电压表V₁示数如图乙所示,为了使实验结果更准确,他应该________。
(3)另一个小组同学想根据实验绘制出如图丙所示的图线,他们应该对图甲电路的改进是________。
(4)根据探究目的,分析图丙中的图线,得出的结论是________。
(1)正确连接后,应将滑动变阻器的滑片移到最________端(选填“左”或“右”)。
(2)闭合开关,用电压表测R₁两端的电压时,电压表V₁示数如图乙所示,为了使实验结果更准确,他应该________。
(3)另一个小组同学想根据实验绘制出如图丙所示的图线,他们应该对图甲电路的改进是________。
(4)根据探究目的,分析图丙中的图线,得出的结论是________。
答案:
(1)右 (2)选用 0~3 V 量程 (3)串联一只电流表 (4)串联电路两端的总电压等于各部分电路两端的电压之和
24. 如图所示,在“探究电流与电压的关系”实验中:
(1)为了能够完成实验,在图甲中用笔画线代替导线将实验电路连接完整。
(2)闭合开关前,应将滑动变阻器的滑片置于图中________(选填“A”或“B”)端。
(3)闭合开关,移动滑片,记录电流表和电压表示数,进行多次实验,绘制出I - U图像,如图乙中a所示。根据图像得出结论:在电阻一定时,通过导体的电流跟导体两端的电压成________。
(4)实验完成后,将电阻换成小灯泡,重复上述实验过程,绘制出I - U图像,如图乙中b所示。试分析图像中A、B、C三点电阻Rₐ、R₈、Rₑ大小关系为________。

(1)为了能够完成实验,在图甲中用笔画线代替导线将实验电路连接完整。
(2)闭合开关前,应将滑动变阻器的滑片置于图中________(选填“A”或“B”)端。
(3)闭合开关,移动滑片,记录电流表和电压表示数,进行多次实验,绘制出I - U图像,如图乙中a所示。根据图像得出结论:在电阻一定时,通过导体的电流跟导体两端的电压成________。
(4)实验完成后,将电阻换成小灯泡,重复上述实验过程,绘制出I - U图像,如图乙中b所示。试分析图像中A、B、C三点电阻Rₐ、R₈、Rₑ大小关系为________。
答案:
(1)
(2)A (3)正比 (4)$R_{A}<R_{C}<R_{B}$
(1)
(2)A (3)正比 (4)$R_{A}<R_{C}<R_{B}$
25. 某同学用如图甲电路测定小灯泡的电功率,电源电压为6 V,小灯泡标有“2.5 V”字样(灯丝电阻约为10 Ω),有以下两种规格的滑动变阻器可选用:A“50 Ω 2 A”,B“10 Ω 1 A”。
(1)应选用滑动变阻器________(选填“A”或“B”)。
(2)连接好电路,闭合开关后发现小灯泡比正常工作时亮,他想到自己在开关闭合前遗漏了一个步骤,立即断开开关。遗漏的步骤是________。
(3)改正错误后,闭合开关,小灯泡不亮,电流表和电压表指针都有较小的偏转,则小灯泡不亮的原因是________(填字母)。
A. 小灯泡烧坏 B. 小灯泡短路 C. 小灯泡的实际功率太小
(4)排除故障后,闭合开关,移动滑片,发现电压表的示数如图乙所示,其读数是________V;为了测量小灯泡的额定功率,应将滑动变阻器的滑片向________端移动(选填“左”或“右”)。
(5)调节滑动变阻器,当小灯泡正常发光时,电流表的示数为0.25 A,小灯泡的额定功率是________W。

(1)应选用滑动变阻器________(选填“A”或“B”)。
(2)连接好电路,闭合开关后发现小灯泡比正常工作时亮,他想到自己在开关闭合前遗漏了一个步骤,立即断开开关。遗漏的步骤是________。
(3)改正错误后,闭合开关,小灯泡不亮,电流表和电压表指针都有较小的偏转,则小灯泡不亮的原因是________(填字母)。
A. 小灯泡烧坏 B. 小灯泡短路 C. 小灯泡的实际功率太小
(4)排除故障后,闭合开关,移动滑片,发现电压表的示数如图乙所示,其读数是________V;为了测量小灯泡的额定功率,应将滑动变阻器的滑片向________端移动(选填“左”或“右”)。
(5)调节滑动变阻器,当小灯泡正常发光时,电流表的示数为0.25 A,小灯泡的额定功率是________W。
答案:
(1)A (2)将滑动变阻器的滑片移至最大阻值处 (3)C (4)1.1 左 (5)0.625
查看更多完整答案,请扫码查看