第10页
- 第1页
- 第2页
- 第3页
- 第4页
- 第5页
- 第6页
- 第7页
- 第8页
- 第9页
- 第10页
- 第11页
- 第12页
- 第13页
- 第14页
- 第15页
- 第16页
- 第17页
- 第18页
- 第19页
- 第20页
- 第21页
- 第22页
- 第23页
- 第24页
- 第25页
- 第26页
- 第27页
- 第28页
- 第29页
- 第30页
- 第31页
- 第32页
- 第33页
- 第34页
- 第35页
- 第36页
- 第37页
- 第38页
- 第39页
- 第40页
- 第41页
- 第42页
- 第43页
- 第44页
- 第45页
- 第46页
- 第47页
- 第48页
- 第49页
- 第50页
- 第51页
- 第52页
- 第53页
- 第54页
- 第55页
- 第56页
- 第57页
- 第58页
- 第59页
- 第60页
- 第61页
- 第62页
- 第63页
- 第64页
- 第65页
- 第66页
- 第67页
- 第68页
- 第69页
- 第70页
- 第71页
- 第72页
- 第73页
- 第74页
- 第75页
- 第76页
- 第77页
- 第78页
- 第79页
- 第80页
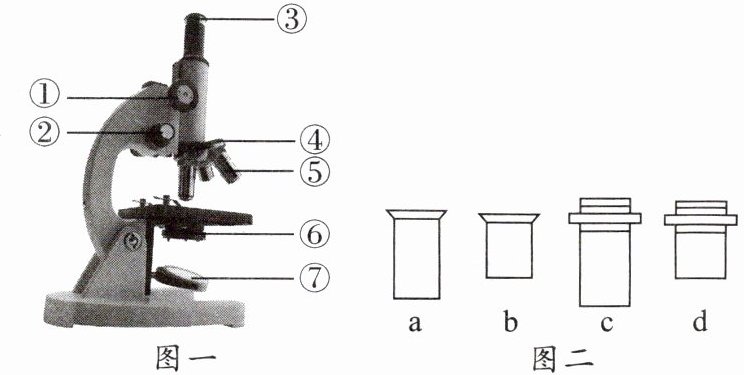
12.(河北唐山滦州市期中)如图是单目显微镜的结构示意图,请据图回答问题。([____]内填序号,______上填文字)

(1)使用单目显微镜的规范操作步骤是
A. 取镜
B. 观察
C. 安放
D. 对光
E. 整理桌面、收好显微镜
(2)使用图一中的单目显微镜进行对光时,需要通过调节[
(3)要将图一中的低倍物镜换成高倍物镜,应转动[
(4)在观察洋葱鳞片叶内表皮细胞时,为了观察到更大的细胞,图二中最佳的目镜和物镜的组合是
(5)用显微镜进行观察时,发现视野中有一污点,如果转动目镜和移动玻片标本,污点都没有移动,说明污点在
(6)如果不动显微镜的其他部分,只是转动转换器,将物镜由$10×转换成40×$,视野中的光线将会变
(1)使用单目显微镜的规范操作步骤是
A→C→D→B→E
(用字母和“→”表示)。A. 取镜
B. 观察
C. 安放
D. 对光
E. 整理桌面、收好显微镜
(2)使用图一中的单目显微镜进行对光时,需要通过调节[
⑥
]遮光器
上光圈的大小和反光镜的角度来调节视野亮度。(3)要将图一中的低倍物镜换成高倍物镜,应转动[
④
]转换器
。若此时观察到的物像不太清晰,应调节[②
]细准焦螺旋
。(4)在观察洋葱鳞片叶内表皮细胞时,为了观察到更大的细胞,图二中最佳的目镜和物镜的组合是
bc
(填字母)。(5)用显微镜进行观察时,发现视野中有一污点,如果转动目镜和移动玻片标本,污点都没有移动,说明污点在
物镜
上。(6)如果不动显微镜的其他部分,只是转动转换器,将物镜由$10×转换成40×$,视野中的光线将会变
暗
,看到的细胞数目变少
。
答案:
(1)A→C→D→B→E
(2)⑥ 遮光器
(3)④ 转换器 ② 细准焦螺旋
(4)bc
(5)物镜
(6)暗 少
(1)A→C→D→B→E
(2)⑥ 遮光器
(3)④ 转换器 ② 细准焦螺旋
(4)bc
(5)物镜
(6)暗 少
13.(科学思维)小花同学为了能够清晰观察到叶片表皮上的气孔,使用单目显微镜进行观察。请回答实验过程中的有关问题。

(1)用图一所示显微镜观察时,在对光中应转动[3]
(2)小花在进行观察中,转动粗准焦螺旋使镜筒下降,图二中的
(3)图三中①②表示目镜,③④表示物镜,⑤⑥表示物镜与载玻片之间的距离。若使物像放大倍数最大,图三中的组合应是(
A. ②③⑤
B. ①④⑥
C. ①③⑤
D. ②③⑥
(4)若视野从图四中的甲转为乙,下列操作的正确排序是
A. 转动转换器,换上高倍物镜
B. 移动装片,将欲观察的对象移到视野中央
C. 转动细准焦螺旋
(1)用图一所示显微镜观察时,在对光中应转动[3]
转换器
,使低倍物镜
对准通光孔。(2)小花在进行观察中,转动粗准焦螺旋使镜筒下降,图二中的
B
图是正确操作。(3)图三中①②表示目镜,③④表示物镜,⑤⑥表示物镜与载玻片之间的距离。若使物像放大倍数最大,图三中的组合应是(
A
)A. ②③⑤
B. ①④⑥
C. ①③⑤
D. ②③⑥
(4)若视野从图四中的甲转为乙,下列操作的正确排序是
BAC
。A. 转动转换器,换上高倍物镜
B. 移动装片,将欲观察的对象移到视野中央
C. 转动细准焦螺旋
答案:
(1)转换器 低倍物镜
(2)B
(3)A
(4)BAC
(1)转换器 低倍物镜
(2)B
(3)A
(4)BAC
查看更多完整答案,请扫码查看