第22页
- 第1页
- 第2页
- 第3页
- 第4页
- 第5页
- 第6页
- 第7页
- 第8页
- 第9页
- 第10页
- 第11页
- 第12页
- 第13页
- 第14页
- 第15页
- 第16页
- 第17页
- 第18页
- 第19页
- 第20页
- 第21页
- 第22页
- 第23页
- 第24页
- 第25页
- 第26页
- 第27页
- 第28页
- 第29页
- 第30页
- 第31页
- 第32页
- 第33页
- 第34页
- 第35页
- 第36页
- 第37页
- 第38页
- 第39页
- 第40页
- 第41页
- 第42页
- 第43页
- 第44页
- 第45页
- 第46页
- 第47页
- 第48页
- 第49页
- 第50页
- 第51页
- 第52页
- 第53页
- 第54页
- 第55页
- 第56页
- 第57页
- 第58页
- 第59页
- 第60页
- 第61页
- 第62页
- 第63页
- 第64页
- 第65页
- 第66页
- 第67页
- 第68页
- 第69页
- 第70页
- 第71页
- 第72页
- 第73页
- 第74页
- 第75页
- 第76页
- 第77页
- 第78页
- 第79页
- 第80页
1. (江苏徐州中考)如图是用单目显微镜在同一目镜下观察酵母菌的两个视野图。下列叙述正确的是(

A.甲图用的物镜镜头比乙图的长
B.从甲图到乙图,需先换用高倍目镜
C.可以通过调节细准焦螺旋使物像更清晰
D.同一视野内酵母菌细胞的形态、大小基本相同
C
)A.甲图用的物镜镜头比乙图的长
B.从甲图到乙图,需先换用高倍目镜
C.可以通过调节细准焦螺旋使物像更清晰
D.同一视野内酵母菌细胞的形态、大小基本相同
答案:
1.C [物镜的放大倍数越大,镜头越长,甲图用的物镜镜头比乙图的短,A错误。从甲图到乙图,需先将装片移动到视野中央,B错误。找到物像如果不太清晰,需调节细准焦螺旋,使物像更加清晰,C正确。同一视野内酵母菌细胞的形态、大小也不尽相同,D错误。]
2. (山东青岛中考)使用单目显微镜观察时会遇到不同情况,下列采取的措施,不合理的是(
A.将较暗的视野调亮——使用大光圈,调节反光镜
B.转换物镜——用手转动转换器
C.判断视野中污点的位置——转动反光镜、遮光器或目镜
D.镜筒下降时,避免物镜压碎玻片标本——从侧面注视物镜
C
)A.将较暗的视野调亮——使用大光圈,调节反光镜
B.转换物镜——用手转动转换器
C.判断视野中污点的位置——转动反光镜、遮光器或目镜
D.镜筒下降时,避免物镜压碎玻片标本——从侧面注视物镜
答案:
2.C [判断显微镜视野中污点的位置:先转动目镜,如果污点移动,则说明污点在目镜上,如果污点不动,则说明污点不在目镜上;然后移动玻片标本,污点移动,则说明污点在玻片标本上,如果不动,则说明污点在物镜上。转动反光镜和遮光器无法判断污点位置,C不合理。]
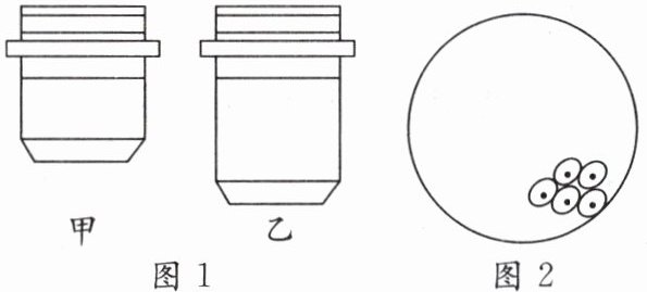
3. (贵州黔西南州兴仁市期中)用双目光学显微镜的一个目镜分别与图1中物镜甲、乙组合来观察人的口腔上皮细胞临时装片,图2是观察过程中看到的视野。下列说法错误的是(

A.放置装片时,标本应正对通光孔的中心
B.观察时要调节两个目镜间距离以适应瞳距
C.与甲的组合比,乙的组合视野中的细胞数目多
D.若将图2中的细胞移到视野正中央,应调节移动手轮
C
)A.放置装片时,标本应正对通光孔的中心
B.观察时要调节两个目镜间距离以适应瞳距
C.与甲的组合比,乙的组合视野中的细胞数目多
D.若将图2中的细胞移到视野正中央,应调节移动手轮
答案:
3.C
查看更多完整答案,请扫码查看