第50页
- 第1页
- 第2页
- 第3页
- 第4页
- 第5页
- 第6页
- 第7页
- 第8页
- 第9页
- 第10页
- 第11页
- 第12页
- 第13页
- 第14页
- 第15页
- 第16页
- 第17页
- 第18页
- 第19页
- 第20页
- 第21页
- 第22页
- 第23页
- 第24页
- 第25页
- 第26页
- 第27页
- 第28页
- 第29页
- 第30页
- 第31页
- 第32页
- 第33页
- 第34页
- 第35页
- 第36页
- 第37页
- 第38页
- 第39页
- 第40页
- 第41页
- 第42页
- 第43页
- 第44页
- 第45页
- 第46页
- 第47页
- 第48页
- 第49页
- 第50页
- 第51页
- 第52页
- 第53页
- 第54页
- 第55页
- 第56页
- 第57页
- 第58页
- 第59页
- 第60页
- 第61页
- 第62页
- 第63页
- 第64页
- 第65页
- 第66页
- 第67页
- 第68页
- 第69页
- 第70页
- 第71页
- 第72页
- 第73页
- 第74页
- 第75页
- 第76页
- 第77页
- 第78页
- 第79页
- 第80页
- 第81页
- 第82页
- 第83页
- 第84页
- 第85页
- 第86页
- 第87页
1. 在“用一段导线、一节干电池使一个小灯泡发光”的活动中,下列方法中小灯泡能发光的是(

A
B
C D
D
)A
B
C D
答案:
D 由图可知,D图中将小灯泡的金属触头和金属螺纹壳分别接在了干电池的两极上,是正确的接法;A图中导线没有接到干电池的负极上,没有形成通路,小灯泡不能发光;B、C两图中导线直接接在干电池的两极上,会造成电源短路,小灯泡不能发光。
2.[2023江苏南京栖霞期中]如图,某同学将一张细条状锡纸的两端分别压在干电池的正负极,发现锡纸发热并燃烧,关于该实验的分析正确的是(

A.实验时干电池的正极与正极相连
B.用普通纸代替锡纸也能燃烧
C.实验所用锡纸为绝缘体
D.该实验能说明短路带来的危害
D
)A.实验时干电池的正极与正极相连
B.用普通纸代替锡纸也能燃烧
C.实验所用锡纸为绝缘体
D.该实验能说明短路带来的危害
答案:
D 将一节干电池的负极与另一节干电池的正极相连才能组成电池组,故A错误;普通纸是绝缘体,不能导电,故B错误;锡纸发热说明有电流通过,则锡纸为导体,故C错误;锡纸是导体,用它把电源正、负极连接,会发生短路,因发热过多损坏电源,甚至引起火灾,故D正确。
3.[2024江苏徐州中考]如图所示电路,闭合开关,电路所处的状态是(

A.通路
B.断路
C.短路
D.无法判断
C
)A.通路
B.断路
C.短路
D.无法判断
答案:
C 由图可知,电源两极直接用导线连接起来,电源被短路,灯泡不发光,故选C。
4.[2025江苏泰兴期中]物理课里有这样一段情景:老师拿出一个普通灯泡,她用手接触金属螺纹壳和金属触头,灯不亮;她拿出另一个“魔术灯”,如图所示,用手接触金属螺纹壳和金属触头,灯亮了起来。对于“魔术灯”的展示,利用所学知识可推断:老师的手相当于电路中的
开关
,打开灯罩,可看到电路中的另一个基本元件是电源
。(均选填“开关”或“电源”)
答案:
开关 电源
5.[2025江苏盐城期中]如图甲、乙、丙三个电路,分别处于

甲 乙 丙
断路
、短路
、通路
状态。甲 乙 丙
答案:
断路 短路 通路
6.[2024江苏苏州模拟]手电筒的结构如图所示,按下按键时,电路接通,小灯泡发光。关于该手电筒的电路图,选项图中正确的是(


A
B
C D
B
)A
B
C D
答案:
B 按下按键时,电流的路径为电源正极→灯泡→开关→电源负极,故B正确。
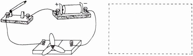
7.[2024江苏苏州星湾学校月考]如图是小松组装的电风扇的工作电路图。请在方框内画出对应的电路图。(电风扇电动机的元件符号是M)

答案:
解析 由实物图知,电路中只有电风扇电动机一个用电器,开关接在电源正极与电动机之间,电路图如图所示。
解析 由实物图知,电路中只有电风扇电动机一个用电器,开关接在电源正极与电动机之间,电路图如图所示。
查看更多完整答案,请扫码查看