第25页
- 第2页
- 第3页
- 第4页
- 第5页
- 第6页
- 第7页
- 第8页
- 第9页
- 第10页
- 第11页
- 第12页
- 第13页
- 第14页
- 第15页
- 第16页
- 第17页
- 第18页
- 第19页
- 第20页
- 第21页
- 第22页
- 第23页
- 第24页
- 第25页
- 第26页
- 第27页
- 第28页
- 第29页
- 第30页
- 第31页
- 第32页
- 第33页
- 第34页
- 第35页
- 第36页
- 第37页
- 第38页
- 第39页
- 第40页
- 第41页
- 第42页
- 第43页
- 第44页
- 第45页
- 第46页
- 第47页
- 第48页
- 第49页
- 第50页
- 第51页
- 第52页
- 第53页
- 第54页
- 第55页
- 第56页
- 第57页
- 第58页
- 第59页
- 第60页
- 第61页
- 第62页
- 第63页
- 第64页
- 第65页
- 第66页
- 第67页
- 第68页
- 第69页
- 第70页
- 第71页
- 第72页
- 第73页
- 第74页
- 第75页
- 第76页
- 第77页
- 第78页
- 第79页
- 第80页
- 第81页
- 第82页
- 第83页
- 第84页
- 第85页
- 第86页
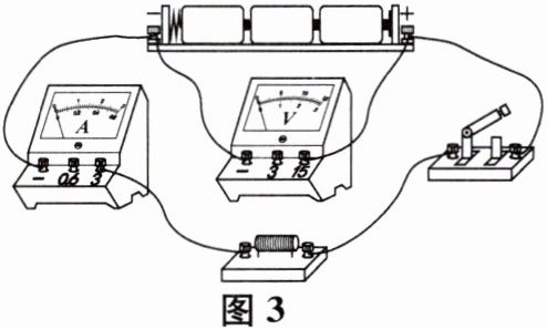
7. 如图 3 所示,把某导体接在电路中,其电源是由 3 节新干电池串联组成. 闭合开关后,电流表的示数为 0.3A,则 20s 内通过导体横截面的电荷量为

6
C,电压表的示数为4.5
V. 若重新断开开关后,电流表的示数为0
A,电压表的示数为4.5
V.
答案:
6;4.5;0;4.5
8. 用电压表测某导体两端的电压时,若选用 0~3V 的量程,测得的电压值为 2.2V;若使用 0~15V 量程,测得的电压值为 2.0V,则该导体两端的电压应记录为(
A.2.2V
B.2.0V
C.2.1V
D.以上均可
A
)A.2.2V
B.2.0V
C.2.1V
D.以上均可
答案:
A
9. 某同学测量电压时所用量程是 0~3V,但记录的读数却是 6.5V,则被测电压应为(
A.1.1V
B.1.3V
C.1.6V
D.3.0V
B
)A.1.1V
B.1.3V
C.1.6V
D.3.0V
答案:
B
10. 如图 4 所示电压表的刻度盘,已知电压表$ V_1$的示数为$ 4.5V,V_2$的示数为 2.3V,请在图中分别标出选用的接线柱及指针的位置.

答案:
V1:接线柱接“-”和“15”;指针指在0~15V刻度线的第9个小格处(从0刻度开始,每小格0.5V,0.5V×9=4.5V)。
V2:接线柱接“-”和“3”;指针指在0~3V刻度线的第23个小格处(从0刻度开始,每小格0.1V,0.1V×23=2.3V)。
V2:接线柱接“-”和“3”;指针指在0~3V刻度线的第23个小格处(从0刻度开始,每小格0.1V,0.1V×23=2.3V)。
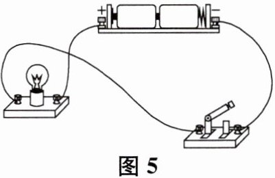
11. 如图 5 所示电路中,有一根导线连接有误,请将其用“×”删除,并补上正确的连线.
答案:
题目中电路的连接有误,开关与电源右端连接的导线应连接到电源正极与电池组中间的接线柱改为连接到开关的右端接线柱,使得开关能控制整个电路。
正确的连接方式如下:
将开关与电源右端连接的导线用“×”标记删除,然后从开关的右端接线柱画一条线连接到电池组中间的正极接线柱(原导线连接点之前的位置)。
图修正后:
电池组:左边为负极,右边为正极,中间为正极接线柱。
开关:一端连接到电池组的正极,另一端连接到滑动变阻器。
灯泡:连接到滑动变阻器的另一端,形成完整的电路。
正确的连接方式如下:
将开关与电源右端连接的导线用“×”标记删除,然后从开关的右端接线柱画一条线连接到电池组中间的正极接线柱(原导线连接点之前的位置)。
图修正后:
电池组:左边为负极,右边为正极,中间为正极接线柱。
开关:一端连接到电池组的正极,另一端连接到滑动变阻器。
灯泡:连接到滑动变阻器的另一端,形成完整的电路。
12. 请将图 6 中的电压表正确接入电路,使开关闭合时,电压表测量灯$ L_1$两端的电压.

答案:
应将电压表的“-”接线柱与灯$L_1$的左端连接,将“3”接线柱与灯$L_1$的右端连接(或将电压表的“-”接线柱与灯$L_1$的左端连接,将“15”接线柱与灯$L_1$的右端连接,因电源为两节干电池,电压为3V,所以可选用0 - 3V量程)。
1. 图 7 是某电动车蓄电池上的铭牌,上面标有“24V 12Ah”的字样,则该电池的电压为

24
V. 根据学过的物理知识,可分析判断出“12Ah”中的“Ah”是电荷量
的单位(填物理量名称). 若该电池报废后,属于有害
(选填“可回收”或“有害”)类垃圾.
答案:
24;电荷量;有害
查看更多完整答案,请扫码查看