第15页
- 第2页
- 第3页
- 第4页
- 第5页
- 第6页
- 第7页
- 第8页
- 第9页
- 第10页
- 第11页
- 第12页
- 第13页
- 第14页
- 第15页
- 第16页
- 第17页
- 第18页
- 第19页
- 第20页
- 第21页
- 第22页
- 第23页
- 第24页
- 第25页
- 第26页
- 第27页
- 第28页
- 第29页
- 第30页
- 第31页
- 第32页
- 第33页
- 第34页
- 第35页
- 第36页
- 第37页
- 第38页
- 第39页
- 第40页
- 第41页
- 第42页
- 第43页
- 第44页
- 第45页
- 第46页
- 第47页
- 第48页
- 第49页
- 第50页
- 第51页
- 第52页
- 第53页
- 第54页
- 第55页
- 第56页
- 第57页
- 第58页
- 第59页
- 第60页
- 第61页
- 第62页
- 第63页
- 第64页
- 第65页
- 第66页
- 第67页
- 第68页
- 第69页
- 第70页
- 第71页
- 第72页
- 第73页
- 第74页
- 第75页
- 第76页
- 第77页
- 第78页
- 第79页
- 第80页
- 第81页
- 第82页
- 第83页
- 第84页
- 第85页
- 第86页
8. 内燃机工作时,将内能转化为机械能的冲程是(
A.吸气
B.排气
C.做功
D.压缩
C
)A.吸气
B.排气
C.做功
D.压缩
答案:
C
9. 四冲程汽油机工作时,火花塞点火是在(
A.吸气冲程末
B.压缩冲程初
C.排气冲程初
D.做功冲程初
D
)A.吸气冲程末
B.压缩冲程初
C.排气冲程初
D.做功冲程初
答案:
D
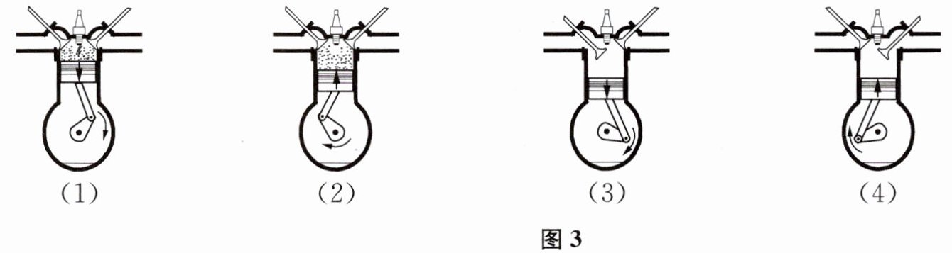
10. 如图3表示汽油机工作时四个冲程,正确的顺序是(

A.(1)(4)(2)(3)
B.(3)(2)(1)(4)
C.(2)(4)(1)(3)
D.(3)(4)(1)(2)
B
)A.(1)(4)(2)(3)
B.(3)(2)(1)(4)
C.(2)(4)(1)(3)
D.(3)(4)(1)(2)
答案:
B
11. 四冲程内燃机工作时,依靠飞轮惯性来完成的是(
A.吸气和压缩两个冲程
B.压缩和排气两个冲程
C.吸气和排气两个冲程
D.吸气、压缩和排气三个冲程
D
)A.吸气和压缩两个冲程
B.压缩和排气两个冲程
C.吸气和排气两个冲程
D.吸气、压缩和排气三个冲程
答案:
D
1. 学习了汽油内燃机的四个冲程后,爱画画的小勇画了压缩冲程的示意图,如图4所示。请仔细观察后指出小勇所画图中存在的错误。

①排气阀门打开着.②活塞在向下运动.③火花塞在点火.
答案:
①排气阀门打开着.②活塞在向下运动.③火花塞在点火.
2. 内燃机的工作过程一般由
四
个冲程组成。其中在做功冲程中,燃料在气缸
内燃烧,燃气迅速膨胀推动活塞
运动,再通过曲轴连杆
结构将机械能输送出去。每完成一个工作循环,活塞往复2
次、曲轴转动2
周、燃气做功1
次。
答案:
四.气缸,活塞,曲轴连杆.2,2,1.
查看更多完整答案,请扫码查看