四、操作题。(每题4分,共12分)
1. 画出图①绕点M逆时针旋转90°后的图形,旋转后点P的位置用数对表示为( , )。
2. 画出图②按2∶1的比放大后的图形。放大后的图形与原来图形的面积比是( )。
3. 图③中点O是圆心,BC是圆的直径,AO = AC,则三角形AOC按边分是( )三角形;点A在点O的( )偏( )( )°方向( )厘米处。(每个小方格边长是2厘米)
1. 画出图①绕点M逆时针旋转90°后的图形,旋转后点P的位置用数对表示为( , )。
2. 画出图②按2∶1的比放大后的图形。放大后的图形与原来图形的面积比是( )。
3. 图③中点O是圆心,BC是圆的直径,AO = AC,则三角形AOC按边分是( )三角形;点A在点O的( )偏( )( )°方向( )厘米处。(每个小方格边长是2厘米)
答案:
1. 画图略 (4,2) 2. 画图略 4 : 1 3. 等边 北 东 30 6
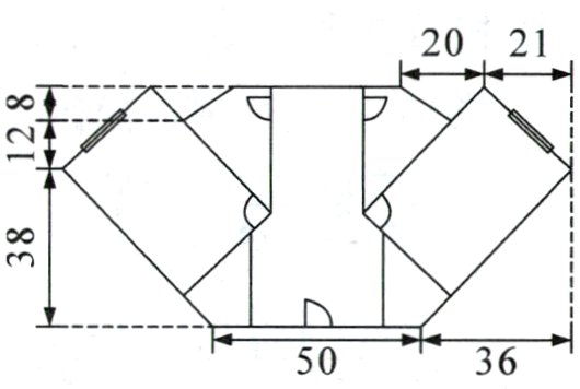
1. 新素养 应用意识 一般房子的结构都是方方正正的,但有些地区由于地理位置、地价等因素,出现了很多另类的户型。请你算一算,下面“元宝”户型的面积是多少平方米?(单位:分米)(5分)

答案:
$(36 + 36 + 50)×(38 + 12 + 8) = 7076$(平方分米) $21×(12 + 8)÷2×2 = 420$(平方分米) $20×8÷2×2 = 160$(平方分米) $36×38÷2×2 = 1368$(平方分米) $7076 - 420 - 160 - 1368 = 5128$(平方分米) 5128 平方分米 = 51.28 平方米
2. 如图(单位:厘米)的领奖台由四个完全相同的长方体木块拼合而成,在它的前、后两面涂上白色油漆,上面和侧面铺上地毯。
(1)需要涂油漆的部分的面积是( )平方厘米。(4分)
(2)地毯展开后是什么图形? 面积是多少平方厘米?(4分)

(1)需要涂油漆的部分的面积是( )平方厘米。(4分)
(2)地毯展开后是什么图形? 面积是多少平方厘米?(4分)
答案:
(1)6400 (2)$(20×4 + 40×3)×30 = 6000$(平方厘米) 地毯展开后是一个长方形,面积是 6000 平方厘米。
查看更多完整答案,请扫码查看