第55页
- 第1页
- 第2页
- 第3页
- 第4页
- 第5页
- 第6页
- 第7页
- 第8页
- 第9页
- 第10页
- 第11页
- 第12页
- 第13页
- 第14页
- 第15页
- 第16页
- 第17页
- 第18页
- 第19页
- 第20页
- 第21页
- 第22页
- 第23页
- 第24页
- 第25页
- 第26页
- 第27页
- 第28页
- 第29页
- 第30页
- 第31页
- 第32页
- 第33页
- 第34页
- 第35页
- 第36页
- 第37页
- 第38页
- 第39页
- 第40页
- 第41页
- 第42页
- 第43页
- 第44页
- 第45页
- 第46页
- 第47页
- 第48页
- 第49页
- 第50页
- 第51页
- 第52页
- 第53页
- 第54页
- 第55页
- 第56页
- 第57页
- 第58页
- 第59页
- 第60页
- 第61页
- 第62页
- 第63页
- 第64页
- 第65页
- 第66页
- 第67页
- 第68页
- 第69页
- 第70页
- 第71页
- 第72页
- 第73页
- 第74页
- 第75页
- 第76页
- 第77页
- 第78页
- 第79页
- 第80页
在“探究平面镜成像的特点”的实验中,小强同学利用如图甲所示的器材进行实验。

[基础设问]
(1)为了比较像与物的大小关系,应选取两支
(2)实验时小强用玻璃板代替平面镜,原因是玻璃板透光,便于
(3)现有厚度分别为 $ 5 \, mm $ 和 $ 2 \, mm $ 的两块玻璃板,应选择
(4)为了便于观察,实验应该选在
(5)小强拿
(6)多次移动蜡烛 $ A $ 重复实验,观察到蜡烛 $ A $ 逐渐靠近玻璃板,蜡烛 $ B $ 需要向
(7)实验中若移开与像重合的蜡烛 $ B $,将光屏放在像的位置,不透过玻璃板,直接观察光屏,看不到蜡烛 $ A $ 的像,说明
(8)小强在白纸上记录了物与像对应点的位置,用

实验表明,平面镜所成像的大小与物体的大小
[能力设问]
(9)实验中无论怎样水平移动蜡烛 $ B $,都不能与蜡烛 $ A $ 的像重合,接下来应该
(10)某同学改变蜡烛 $ A $ 的位置,认真测量并记录了一组数据,如下表所示。

然后得出像到平面镜的距离小于物体到平面镜的距离的结论,你认为他的测量方法错误在于
[创新设问]
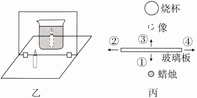
(11)用玻璃板作为平面镜,使蜡烛的像成在装满水的烧杯中,就能观察到“蜡烛在水中燃烧”(如图乙)。若蜡烛的像位置如图丙所示,要使像移到烧杯中,仅移动玻璃板,则移动的方向应是

[基础设问]
(1)为了比较像与物的大小关系,应选取两支
完全相同
的蜡烛 $ A $、$ B $。(2)实验时小强用玻璃板代替平面镜,原因是玻璃板透光,便于
确定像的位置
。(3)现有厚度分别为 $ 5 \, mm $ 和 $ 2 \, mm $ 的两块玻璃板,应选择
2 mm
厚的玻璃板做实验,原因是避免出现重影
。(4)为了便于观察,实验应该选在
较暗
(选填“较亮”或“较暗”)的环境中进行。(5)小强拿
未点燃
(选填“点燃”或“未点燃”)的蜡烛 $ B $,在玻璃板后面移动,人眼一直在玻璃板前面
(选填“前面”或“后面”)观察,直到看上去蜡烛 $ B $ 跟蜡烛 A 的像
(选填“蜡烛 $ A $”或“蜡烛 $ A $ 的像”)重合,在白纸上记下这两支蜡烛的位置。(6)多次移动蜡烛 $ A $ 重复实验,观察到蜡烛 $ A $ 逐渐靠近玻璃板,蜡烛 $ B $ 需要向
靠近
(选填“远离”或“靠近”)玻璃板的方向移动才能与像再次重合,观察到蜡烛 $ A $ 的像的大小不变
(选填“变大”“变小”或“不变”)。(7)实验中若移开与像重合的蜡烛 $ B $,将光屏放在像的位置,不透过玻璃板,直接观察光屏,看不到蜡烛 $ A $ 的像,说明
平面镜成的像是虚像
。(8)小强在白纸上记录了物与像对应点的位置,用
刻度尺
分别测量它们到玻璃板的距离,并记录在下表中。实验表明,平面镜所成像的大小与物体的大小
相等
,像和物体到平面镜的距离相等
。像和物体的连线与镜面垂直
;平面镜所成像的大小与物体到平面镜的距离无关
(选填“无关”或“有关”)。[能力设问]
(9)实验中无论怎样水平移动蜡烛 $ B $,都不能与蜡烛 $ A $ 的像重合,接下来应该
调节玻璃板与水平桌面垂直
。(10)某同学改变蜡烛 $ A $ 的位置,认真测量并记录了一组数据,如下表所示。
然后得出像到平面镜的距离小于物体到平面镜的距离的结论,你认为他的测量方法错误在于
忽略了玻璃板的厚度
。[创新设问]
(11)用玻璃板作为平面镜,使蜡烛的像成在装满水的烧杯中,就能观察到“蜡烛在水中燃烧”(如图乙)。若蜡烛的像位置如图丙所示,要使像移到烧杯中,仅移动玻璃板,则移动的方向应是
③
(选填“①”“②”“③”或“④”)。
答案:
(1)完全相同
(2)确定像的位置
(3)2 mm 避免出现重影
(4)较暗
(5)未点燃 前面 蜡烛 A 的像
(6)靠近 不变
(7)平面镜成的像是虚像
(8)刻度尺 相等 相等 垂直 无关
(9)调节玻璃板与水平桌面垂直
(10)忽略了玻璃板的厚度
(11)③
(1)完全相同
(2)确定像的位置
(3)2 mm 避免出现重影
(4)较暗
(5)未点燃 前面 蜡烛 A 的像
(6)靠近 不变
(7)平面镜成的像是虚像
(8)刻度尺 相等 相等 垂直 无关
(9)调节玻璃板与水平桌面垂直
(10)忽略了玻璃板的厚度
(11)③
查看更多完整答案,请扫码查看