第40页
- 第1页
- 第2页
- 第3页
- 第4页
- 第5页
- 第6页
- 第7页
- 第8页
- 第9页
- 第10页
- 第11页
- 第12页
- 第13页
- 第14页
- 第15页
- 第16页
- 第17页
- 第18页
- 第19页
- 第20页
- 第21页
- 第22页
- 第23页
- 第24页
- 第25页
- 第26页
- 第27页
- 第28页
- 第29页
- 第30页
- 第31页
- 第32页
- 第33页
- 第34页
- 第35页
- 第36页
- 第37页
- 第38页
- 第39页
- 第40页
- 第41页
- 第42页
- 第43页
- 第44页
- 第45页
- 第46页
- 第47页
- 第48页
- 第49页
- 第50页
- 第51页
- 第52页
- 第53页
- 第54页
- 第55页
- 第56页
- 第57页
- 第58页
- 第59页
- 第60页
- 第61页
- 第62页
- 第63页
- 第64页
- 第65页
- 第66页
- 第67页
- 第68页
- 第69页
- 第70页
- 第71页
- 第72页
- 第73页
- 第74页
- 第75页
- 第76页
- 第77页
- 第78页
7. 一圆柱体先后放入密度为 $ \rho_{1} $ 和 $ \rho_{2} $ 的两种液体中,均处于漂浮状态,如图所示。圆柱体在两液体中所受浮力依次是 $ F_{1} $ 和 $ F_{2} $,则( )

A.$ \rho_{1}>\rho_{2} $ $ F_{1}>F_{2} $
B.$ \rho_{1}<\rho_{2} $ $ F_{1}<F_{2} $
C.$ \rho_{1}<\rho_{2} $ $ F_{1}= F_{2} $
D.$ \rho_{1}>\rho_{2} $ $ F_{1}= F_{2} $
A.$ \rho_{1}>\rho_{2} $ $ F_{1}>F_{2} $
B.$ \rho_{1}<\rho_{2} $ $ F_{1}<F_{2} $
C.$ \rho_{1}<\rho_{2} $ $ F_{1}= F_{2} $
D.$ \rho_{1}>\rho_{2} $ $ F_{1}= F_{2} $
答案:
D
8. 当汤圆刚放入水中时会沉入锅底,而当汤圆煮熟时则会浮出水面,某同学用简化图模拟烧煮一段时间后汤圆分布图(其中 $ A $、$ B $、$ C $ 表示汤圆),则以下分析正确的是( )

A.$ A $ 汤圆与锅底接触,则 $ A $ 的密度一定小于水的密度
B.$ C $ 汤圆浮出水面,则 $ C $ 汤圆的密度等于水的密度
C.$ B $ 汤圆静止时,浮力大于重力
D.若此时在水中加入适量的白砂糖,则 $ B $ 汤圆所受浮力增大
A.$ A $ 汤圆与锅底接触,则 $ A $ 的密度一定小于水的密度
B.$ C $ 汤圆浮出水面,则 $ C $ 汤圆的密度等于水的密度
C.$ B $ 汤圆静止时,浮力大于重力
D.若此时在水中加入适量的白砂糖,则 $ B $ 汤圆所受浮力增大
答案:
D
二、判一判
9. 漂浮在水面上的物体比沉在水底的物体受到的浮力大。( )
10. 物体的密度越大受到的浮力越大。( )
11. 物体排开水的重力越大受到的浮力越大。( )
9. 漂浮在水面上的物体比沉在水底的物体受到的浮力大。( )
10. 物体的密度越大受到的浮力越大。( )
11. 物体排开水的重力越大受到的浮力越大。( )
答案:
9.× 10.× 11.√
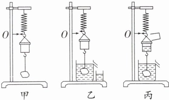
12. 某教师在“阿基米德原理”教学过程中,做了如下演示实验。

(1)在弹簧下端挂上小筒和金属块,记下弹簧伸长后指针位置 $ O $,如图甲所示。
(2)溢水杯中装满水,把金属块全部浸入溢水杯的水中,用烧杯收集排开的水,弹簧缩短,如图乙所示。
(3)把烧杯中的水全部倒入小筒中,弹簧指针又恢复到原来的位置 $ O $,如图丙所示。
乙图的弹簧比甲图的弹簧缩短了,说明金属块受到____的作用;丙图弹簧指针又恢复到位置 $ O $,说明____。
(1)在弹簧下端挂上小筒和金属块,记下弹簧伸长后指针位置 $ O $,如图甲所示。
(2)溢水杯中装满水,把金属块全部浸入溢水杯的水中,用烧杯收集排开的水,弹簧缩短,如图乙所示。
(3)把烧杯中的水全部倒入小筒中,弹簧指针又恢复到原来的位置 $ O $,如图丙所示。
乙图的弹簧比甲图的弹簧缩短了,说明金属块受到____的作用;丙图弹簧指针又恢复到位置 $ O $,说明____。
答案:
(3)浮力 物体受到浮力的大小等于物体排开的水所受的重力
(3)浮力 物体受到浮力的大小等于物体排开的水所受的重力
13. 某课外兴趣小组同学利用弹簧测力计和量筒研究“浮力大小与排开液体多少的关系”,设计了如下实验步
骤和数据记录表:
① 在量筒中加入水,读出量筒内水面位置的刻度。
② 把系有细线的铁块挂在弹簧测力计的挂钩上,测出铁块的重力。
③ 把挂在弹簧测力计下的铁块浸没在盛有水的量筒里,再次读出弹簧测力计的示数。
④ 读出量筒水面位置升高后的刻度。
⑤ 计算铁块排开水的体积。求出铁块排开的水受到的重力。
| 铁块浸没时弹簧测力计的示数/N | 铁块在水中受到的浮力/N | 水的体积$/cm^3 $| 水和铁块的总体积$/cm^3 $| 排开水的体积$/cm^3 $| 排开的水受到的重力/N |
| | | | | | |
实验过程中,小组同学发现设计的表格中缺少一项,该项是____。补充完整后,完成实验。分析数据得出结论:浸在液体中的物体受到向上的浮力,浮力的大小等于物体排开的液体受到的重力。
实验后,该组同学进行了反思:
(1)量筒中不能加入太多的水,否则无法直接测出____,从而不能得出实验结论。
(2)通过以上实验得出结论不可靠,理由是____。(填字母)
A. 没有进行多次重复实验
B. 没有换用其他液体进行实验
C. 没有进行物体部分浸入水中时的实验
① 在量筒中加入水,读出量筒内水面位置的刻度。
② 把系有细线的铁块挂在弹簧测力计的挂钩上,测出铁块的重力。
③ 把挂在弹簧测力计下的铁块浸没在盛有水的量筒里,再次读出弹簧测力计的示数。
④ 读出量筒水面位置升高后的刻度。
⑤ 计算铁块排开水的体积。求出铁块排开的水受到的重力。
| 铁块浸没时弹簧测力计的示数/N | 铁块在水中受到的浮力/N | 水的体积$/cm^3 $| 水和铁块的总体积$/cm^3 $| 排开水的体积$/cm^3 $| 排开的水受到的重力/N |
| | | | | | |
实验过程中,小组同学发现设计的表格中缺少一项,该项是____。补充完整后,完成实验。分析数据得出结论:浸在液体中的物体受到向上的浮力,浮力的大小等于物体排开的液体受到的重力。
实验后,该组同学进行了反思:
(1)量筒中不能加入太多的水,否则无法直接测出____,从而不能得出实验结论。
(2)通过以上实验得出结论不可靠,理由是____。(填字母)
A. 没有进行多次重复实验
B. 没有换用其他液体进行实验
C. 没有进行物体部分浸入水中时的实验
答案:
铁块的重力/N
(1)水和铁块的总体积或排开水的体积
(2)ABC
(1)水和铁块的总体积或排开水的体积
(2)ABC
查看更多完整答案,请扫码查看