2025年名校课堂内外五年级数学下册北师大版
注:目前有些书本章节名称可能整理的还不是很完善,但都是按照顺序排列的,请同学们按照顺序仔细查找。练习册 2025年名校课堂内外五年级数学下册北师大版 答案主要是用来给同学们做完题方便对答案用的,请勿直接抄袭。
一 在括号里填上适当的单位。
一台立式空调的体积约是2( )。
一只木箱的体积约是0.45( )。
一瓶矿泉水约是550( )。
一本字典的体积约是0.8( )。
一块肥皂的体积约是200( )。
一台立式空调的体积约是2( )。
一只木箱的体积约是0.45( )。
一瓶矿泉水约是550( )。
一本字典的体积约是0.8( )。
一块肥皂的体积约是200( )。
答案:
$m^{3}$ ml $dm^{3}$ $cm^{3}$
二 单位换算。
15.08m³=( )dm³
5000dm³=( )m³
4500cm³=( )dm³
8.5L=( )dm³=( )cm³
590mL=( )cm³=( )L
15.08m³=( )dm³
5000dm³=( )m³
4500cm³=( )dm³
8.5L=( )dm³=( )cm³
590mL=( )cm³=( )L
答案:
15080 5 4.5 8.5 8500 590 0.59
三 求下面各图形的体积。(单位:cm)

答案:
$13×4×5 = 260(cm^{3})$
$5×5×5 = 125(cm^{3})$
$5×5×5 = 125(cm^{3})$
四 一个长方体铁柜长0.8m,宽0.5m,高0.4m。做这个铁柜至少要用多少平方米铁板?这个铁柜的体积是多少?
答案:
$(0.8×0.5 + 0.8×0.4 + 0.5×0.4)×2 = 1.84(m^{2})$
$0.8×0.5×0.4 = 0.16(m^{3})$
$0.8×0.5×0.4 = 0.16(m^{3})$
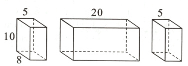
五(金华市金东区)一个长方体零件,拆卸成三部分,可以近似地看成是由下面的三个图形组成,这个零件的体积大约是多少?(单位:cm)

答案:
$(20 + 5)×10×8 = 2400(cm^{3})$
六 工人师傅用棱长3cm的正方体塑料拼插积木在广场中央搭起了一面长6m,高2.7m,厚6cm的广告宣传墙,算一算工人师傅共用了多少块积木?
答案:
$6m = 600cm$ $2.7m = 270cm$
$600×270×6 = 972000(cm^{3})$
$972000÷(3×3×3) = 36000(块)$
$600×270×6 = 972000(cm^{3})$
$972000÷(3×3×3) = 36000(块)$
七 一个长方体,如果长减少6cm,就变成了一个正方体,这个正方体的表面积是96cm²,原来长方体的体积是多少立方厘米?
答案:
$96÷6 = 16(cm^{2})$
$4×4 = 16$
$4 + 6 = 10(cm)$
$4×4×10 = 160(cm^{3})$
$4×4 = 16$
$4 + 6 = 10(cm)$
$4×4×10 = 160(cm^{3})$
查看更多完整答案,请扫码查看