第84页
- 第1页
- 第2页
- 第3页
- 第4页
- 第5页
- 第6页
- 第7页
- 第8页
- 第9页
- 第10页
- 第11页
- 第12页
- 第13页
- 第14页
- 第15页
- 第16页
- 第17页
- 第18页
- 第19页
- 第20页
- 第21页
- 第22页
- 第23页
- 第24页
- 第25页
- 第26页
- 第27页
- 第28页
- 第29页
- 第30页
- 第31页
- 第32页
- 第33页
- 第34页
- 第35页
- 第36页
- 第37页
- 第38页
- 第39页
- 第40页
- 第41页
- 第42页
- 第43页
- 第44页
- 第45页
- 第46页
- 第47页
- 第48页
- 第49页
- 第50页
- 第51页
- 第52页
- 第53页
- 第54页
- 第55页
- 第56页
- 第57页
- 第58页
- 第59页
- 第60页
- 第61页
- 第62页
- 第63页
- 第64页
- 第65页
- 第66页
- 第67页
- 第68页
- 第69页
- 第70页
- 第71页
- 第72页
- 第73页
- 第74页
- 第75页
- 第76页
- 第77页
- 第78页
- 第79页
- 第80页
- 第81页
- 第82页
- 第83页
- 第84页
- 第85页
- 第86页
- 第87页
9.在“探究影响滑轮组机械效率的因素”的实验中,小明用同一滑轮组进行了三次实验,实验数据如表:


(1)根据表格中的数据,在图甲中画出滑轮组的绕绳方法。
(2)实验中,沿竖直方向匀速拉动弹簧测力计,使物体缓缓上升,在测量绳端所受的拉力时,弹簧测力计应______(填“保持静止”或“匀速上升”)。
(3)第3次实验时,测力计示数如图乙所示,此时绳端受到的拉力为______N,滑轮组的机械效率为______。
(4)根据表格中的数据分析可知:
①随着物重的增大,额外功______(填“变小”“不变”或“变大”),原因是____________________。
②要提高同一滑轮组机械效率,可以采取______________________________的措施。
(1)根据表格中的数据,在图甲中画出滑轮组的绕绳方法。
(2)实验中,沿竖直方向匀速拉动弹簧测力计,使物体缓缓上升,在测量绳端所受的拉力时,弹簧测力计应______(填“保持静止”或“匀速上升”)。
(3)第3次实验时,测力计示数如图乙所示,此时绳端受到的拉力为______N,滑轮组的机械效率为______。
(4)根据表格中的数据分析可知:
①随着物重的增大,额外功______(填“变小”“不变”或“变大”),原因是____________________。
②要提高同一滑轮组机械效率,可以采取______________________________的措施。
答案:
(1)答图如图所示:

(2)匀速上升
(3)1.8 74.1%
(4)①变大 克服摩擦做功更多
②增加提起的物重(合理即可)
(1)答图如图所示:
(2)匀速上升
(3)1.8 74.1%
(4)①变大 克服摩擦做功更多
②增加提起的物重(合理即可)
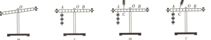
10.在“探究杠杆平衡条件”的实验中:
(1)如图甲所示,实验前杠杆左端下沉,则应将平衡螺母向______(填“左”或“右”)调节,直到杠杆在水平位置平衡。
(2)如图乙所示,杠杆上刻度均匀,在$A$处挂3个相同钩码,要使杠杆在水平位置平衡,应在$B$处挂______个相同的钩码;当杠杆平衡后,将$A$、$B$两处下方同时增加一个相同的钩码,则杠杆将____________(填“左端下沉”“右端下沉”或“仍保持静止不动”)。
(3)如图丙所示,若不在$B$处挂钩码,改用弹簧测力计在$C$处竖直向上拉杠杆,使杠杆在水平位置平衡;当弹簧测力计从图丙位置转到图丁位置时,杠杆仍在水平位置平衡,其示数会______(填“变大”“不变”或“变小”),原因是______________________________。
(1)如图甲所示,实验前杠杆左端下沉,则应将平衡螺母向______(填“左”或“右”)调节,直到杠杆在水平位置平衡。
(2)如图乙所示,杠杆上刻度均匀,在$A$处挂3个相同钩码,要使杠杆在水平位置平衡,应在$B$处挂______个相同的钩码;当杠杆平衡后,将$A$、$B$两处下方同时增加一个相同的钩码,则杠杆将____________(填“左端下沉”“右端下沉”或“仍保持静止不动”)。
(3)如图丙所示,若不在$B$处挂钩码,改用弹簧测力计在$C$处竖直向上拉杠杆,使杠杆在水平位置平衡;当弹簧测力计从图丙位置转到图丁位置时,杠杆仍在水平位置平衡,其示数会______(填“变大”“不变”或“变小”),原因是______________________________。
答案:
(1)右
(2)4 左端下沉
(3)变大 弹簧测力计拉力的力臂变小(合理即可)
(1)右
(2)4 左端下沉
(3)变大 弹簧测力计拉力的力臂变小(合理即可)
查看更多完整答案,请扫码查看