第23页
- 第1页
- 第2页
- 第3页
- 第4页
- 第5页
- 第6页
- 第7页
- 第8页
- 第9页
- 第10页
- 第11页
- 第12页
- 第13页
- 第14页
- 第15页
- 第16页
- 第17页
- 第18页
- 第19页
- 第20页
- 第21页
- 第22页
- 第23页
- 第24页
- 第25页
- 第26页
- 第27页
- 第28页
- 第29页
- 第30页
- 第31页
- 第32页
- 第33页
- 第34页
- 第35页
- 第36页
- 第37页
- 第38页
- 第39页
- 第40页
- 第41页
- 第42页
- 第43页
- 第44页
- 第45页
- 第46页
- 第47页
- 第48页
- 第49页
- 第50页
- 第51页
- 第52页
- 第53页
- 第54页
- 第55页
- 第56页
- 第57页
- 第58页
- 第59页
- 第60页
- 第61页
- 第62页
- 第63页
- 第64页
- 第65页
- 第66页
- 第67页
- 第68页
- 第69页
- 第70页
- 第71页
- 第72页
- 第73页
- 第74页
- 第75页
- 第76页
- 第77页
- 第78页
- 第79页
- 第80页
- 第81页
- 第82页
- 第83页
- 第84页
- 第85页
- 第86页
- 第87页
- 第88页
- 第89页
- 第90页
- 第91页
- 第92页
- 第93页
8. (2023·合肥期末)如图甲所示是同学们常用的燕尾夹,使用时可简化成以O点为支点的杠杆,如图乙所示,请在图乙中作出打开夹子所需的最小动力F及其力臂l。

答案:

9. (物理学与日常生活)(2023·眉山)学校组织学生参加劳动实践活动,在基地发现了一台活塞式抽水机,在杠杆C处用力便可取水。请在图中画出:
(1)阻力F₂的力臂L₂;
(2)在C处所用最小力F₁的示意图。

(1)阻力F₂的力臂L₂;
(2)在C处所用最小力F₁的示意图。
答案:

10. (2023·泰州)工人站在地面上用如图的滑轮组提升重物,画出滑轮组的绕绳方式。

答案:

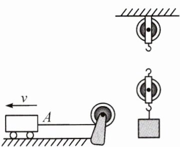
11. (2023·清城区模拟)如图所示,利用滑轮组拉着物体A沿水平方向做匀速直线运动。请在图中画出滑轮组最省力的绕线情况,并画出A对地面压力的示意图。

答案:

12. (2023·哈尔滨)小丽学习了滑轮的知识后,想利用滑轮组设计一个升降装置,自己把物体吊上楼来,请你画出最省力的绕线方式和物体所受重力的示意图。

答案:

13. (2024·惠州期中)如图所示,用滑轮组提升物体,请画出最省力的绕绳法。

答案:

14. (2024·佛山期末)工人师傅利用题图所示的滑轮组和机组装提升重物,绳索自由端与机车尾部A点相连,请在题图中补全滑轮组的绕线方式。

答案:

查看更多完整答案,请扫码查看