11. 如图 5 - 10 所示,物体 M 重 100 N,滑轮重 10 N,若不计摩擦及绳重,当滑轮在恒力 F 的作用下,以 0.2 m/s 的速度匀速上升时,物体 M 的速度及拉力 F 的大小分别为 ( )

A. 0.4 m/s,210 N
B. 0.4 m/s,110 N
C. 0.1 m/s,110 N
D. 0.2 m/s,55 N
A. 0.4 m/s,210 N
B. 0.4 m/s,110 N
C. 0.1 m/s,110 N
D. 0.2 m/s,55 N
答案:
A
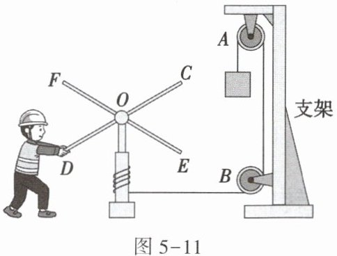
12. 如图 5 - 11 所示,推动硬棒 CD(或 EF),使它们在水平面内绕点 O 转动,即可将绳逐渐绕到轴上,以提升重物。小明用此装置将重 400 N 的重物匀速提升了 0.6 m,此过程中装置的机械效率为 80%。下列说法正确的是 ( )

A. 硬棒 CD 是费力杠杆
B. 小明所做的总功为 300 J
C. 滑轮 B 能改变力的大小
D. 轴上增加的绳长为 1.2 m
A. 硬棒 CD 是费力杠杆
B. 小明所做的总功为 300 J
C. 滑轮 B 能改变力的大小
D. 轴上增加的绳长为 1.2 m
答案:
B
13. 一个质量为 50 kg 的人站在水平面上,他想通过如图 5 - 12 所示的滑轮组对上面的弹簧进行拉力测试,需要对弹簧产生最大为 2 100 N 的力,请画出他的绕绳方法。(动滑轮重不计)

答案:
14. 如图 5 - 13 所示,用一根自重可忽略不计的撬棒撬石块,若撬棒 C 点受到石块 P 的压力,且 DA > CD > BC,请作出撬动石块 P 所用的最小动力 F 及其力臂 L。

答案:
15. 小明在探究杠杆的平衡条件的实验中,所用杠杆的质量分布均匀,每个钩码的质量均为 50 g。
(1) 实验前没有挂钩码时,发现杠杆右端高,要使杠杆在水平位置平衡,应将杠杆左端的平衡螺母向____(选填“左”或“右”)调节。使杠杆在水平位置平衡,主要目的是____。
(2) 调节杠杆水平平衡后,如图 5 - 14 甲所示,在杠杆的左边 A 处挂 4 个钩码,要使杠杆在水平位置平衡,应在杠杆右边 B 处挂____个钩码。小明多次实验并记录数据,最终得出杠杆的平衡条件。

(3) 完成实验后小明突发奇想,想利用该杠杆(重心始终位于 O 点)制作一个可以直接测量质量的“杆秤”。
① 如图 5 - 14 乙所示,以杠杆上的 A 点为支点,当在 C 位置挂 3 个钩码,杠杆在水平位置刚好平衡,则该杠杆的质量为____g。
② 然后小明将 C 位置的 3 个钩码取下,挂到右侧作为“秤砣”。为了将 A 点作为“杆秤”的零刻度线,小明应在图 5 - 14 丙的 C 位置处装配一质量为____g 的吊盘。
③ 接着,小明在图 5 - 14 丙的 D 位置标记上质量最大测量值____g,并将其他质量数均匀标记在 AD 之间的刻度线上。
④ 小明用上述“杆秤”测一物体的质量,不留意只将两个钩码作为“秤砣”来使用,则小明的测量结果会____(选填“偏大”“偏小”或“依然准确”)。
(1) 实验前没有挂钩码时,发现杠杆右端高,要使杠杆在水平位置平衡,应将杠杆左端的平衡螺母向____(选填“左”或“右”)调节。使杠杆在水平位置平衡,主要目的是____。
(2) 调节杠杆水平平衡后,如图 5 - 14 甲所示,在杠杆的左边 A 处挂 4 个钩码,要使杠杆在水平位置平衡,应在杠杆右边 B 处挂____个钩码。小明多次实验并记录数据,最终得出杠杆的平衡条件。
(3) 完成实验后小明突发奇想,想利用该杠杆(重心始终位于 O 点)制作一个可以直接测量质量的“杆秤”。
① 如图 5 - 14 乙所示,以杠杆上的 A 点为支点,当在 C 位置挂 3 个钩码,杠杆在水平位置刚好平衡,则该杠杆的质量为____g。
② 然后小明将 C 位置的 3 个钩码取下,挂到右侧作为“秤砣”。为了将 A 点作为“杆秤”的零刻度线,小明应在图 5 - 14 丙的 C 位置处装配一质量为____g 的吊盘。
③ 接着,小明在图 5 - 14 丙的 D 位置标记上质量最大测量值____g,并将其他质量数均匀标记在 AD 之间的刻度线上。
④ 小明用上述“杆秤”测一物体的质量,不留意只将两个钩码作为“秤砣”来使用,则小明的测量结果会____(选填“偏大”“偏小”或“依然准确”)。
答案:
【解析】:
(1) 杠杆右端高,说明左端重,应将杠杆左端的平衡螺母向右调节。使杠杆在水平位置平衡,主要目的是便于测量力臂。
(2) 设一个钩码重为$G$,杠杆一个小格代表$L$,根据杠杆平衡条件$F_{1}L_{1}=F_{2}L_{2}$,$4G×3L=nG×4L$,解得$n = 3$,应在杠杆右边$B$处挂$3$个钩码。
(3) ① 每个钩码质量$m_{钩码}=50g$,$3$个钩码质量$m_{3钩码}=3×50g = 150g$,设杠杆一个小格为$L$,杠杆质量为$m_{杆}$,根据杠杆平衡条件$m_{3钩码}g×4L = m_{杆}g×2L$,$150g×4L = m_{杆}×2L$,解得$m_{杆}=300g$。
② 设吊盘质量为$m_{盘}$,根据杠杆平衡条件$m_{盘}g×4L = m_{杆}g×2L$,$m_{盘}×4L = 300g×2L$,解得$m_{盘}=150g$。
③ $3$个钩码质量$150g$,设$D$位置能测最大质量为$m$,根据杠杆平衡条件$m_{盘}g×4L + mg×6L = m_{3钩码}g×8L$,$150g×4L + m×6L = 150g×8L$,$600L + 6mL = 1200L$,$6mL = 600L$,解得$m = 100g$。
④ 根据杠杆平衡条件$(m_{盘}+m_{物})g×4L = m_{秤砣}g×L_{秤砣}$,当$m_{秤砣}$减小,$L_{秤砣}$会增大,测量结果会偏大。
【答案】:
(1) 右;便于测量力臂
(2) $3$
(3) ① $300$ ② $150$ ③ $100$ ④ 偏大
(1) 杠杆右端高,说明左端重,应将杠杆左端的平衡螺母向右调节。使杠杆在水平位置平衡,主要目的是便于测量力臂。
(2) 设一个钩码重为$G$,杠杆一个小格代表$L$,根据杠杆平衡条件$F_{1}L_{1}=F_{2}L_{2}$,$4G×3L=nG×4L$,解得$n = 3$,应在杠杆右边$B$处挂$3$个钩码。
(3) ① 每个钩码质量$m_{钩码}=50g$,$3$个钩码质量$m_{3钩码}=3×50g = 150g$,设杠杆一个小格为$L$,杠杆质量为$m_{杆}$,根据杠杆平衡条件$m_{3钩码}g×4L = m_{杆}g×2L$,$150g×4L = m_{杆}×2L$,解得$m_{杆}=300g$。
② 设吊盘质量为$m_{盘}$,根据杠杆平衡条件$m_{盘}g×4L = m_{杆}g×2L$,$m_{盘}×4L = 300g×2L$,解得$m_{盘}=150g$。
③ $3$个钩码质量$150g$,设$D$位置能测最大质量为$m$,根据杠杆平衡条件$m_{盘}g×4L + mg×6L = m_{3钩码}g×8L$,$150g×4L + m×6L = 150g×8L$,$600L + 6mL = 1200L$,$6mL = 600L$,解得$m = 100g$。
④ 根据杠杆平衡条件$(m_{盘}+m_{物})g×4L = m_{秤砣}g×L_{秤砣}$,当$m_{秤砣}$减小,$L_{秤砣}$会增大,测量结果会偏大。
【答案】:
(1) 右;便于测量力臂
(2) $3$
(3) ① $300$ ② $150$ ③ $100$ ④ 偏大
查看更多完整答案,请扫码查看