第71页
- 第1页
- 第2页
- 第3页
- 第4页
- 第5页
- 第6页
- 第7页
- 第8页
- 第9页
- 第10页
- 第11页
- 第12页
- 第13页
- 第14页
- 第15页
- 第16页
- 第17页
- 第18页
- 第19页
- 第20页
- 第21页
- 第22页
- 第23页
- 第24页
- 第25页
- 第26页
- 第27页
- 第28页
- 第29页
- 第30页
- 第31页
- 第32页
- 第33页
- 第34页
- 第35页
- 第36页
- 第37页
- 第38页
- 第39页
- 第40页
- 第41页
- 第42页
- 第43页
- 第44页
- 第45页
- 第46页
- 第47页
- 第48页
- 第49页
- 第50页
- 第51页
- 第52页
- 第53页
- 第54页
- 第55页
- 第56页
- 第57页
- 第58页
- 第59页
- 第60页
- 第61页
- 第62页
- 第63页
- 第64页
- 第65页
- 第66页
- 第67页
- 第68页
- 第69页
- 第70页
- 第71页
- 第72页
- 第73页
- 第74页
- 第75页
- 第76页
- 第77页
二、填空题(22分)
答案:
13. 《论衡》中记载:“司南之杓,投之于地,其柢指南. ”如图所示,因为受到地磁场的作用,“柢”(即握柄)静止时指向地磁场的_______极.

答案:
北
14. (2022·徐州中考)如图所示,先将小磁针放在水平桌面上,静止时小磁针N极指向_______方,再将一根直导线平行架在小磁针上方,给导线通电后,小磁针将_______,说明通电导线周围存在_______.

答案:
北 发生偏转 磁场
15. 地磁场使地球生命免受宇宙射线的危害. 有关地磁场形成的原因有很多假说,其中一种认为,在高温高压环境下,地核物质中的部分带电粒子向外逃逸到地幔层,并随着地球自转形成电流,从而产生磁场,如图所示,这种现象叫作_________,形成磁场的带电粒子是________(选填“质子”或“电子”).

答案:
电流的磁效应(或:电生磁) 电子
16. (2022·安徽中考)将小磁针放置在通电螺线管右侧,小磁针静止时,其N极的指向如图所示. 由此可知电流是从_______(选填“A”或“B”)端流入螺线管的.

答案:
B
17. (2022·成都中考)为实现节能和智能控制,空调内部用到了传感器和电磁继电器,如图是启动或停止空调压缩机的电路示意图. 电磁继电器是利用电磁铁控制工作电路通断的________(选填“用电器”“电源”或“开关”). 夏天,空调制冷,房间内温度降低,热敏元件的电阻增大,控制电路的电流减小,电磁铁的磁性________,低于设定温度时,工作电路就断开,停止制冷.

答案:
开关 减弱 [解析]电磁继电器是利用电磁铁控制工作电路通断的开关;根据题意可知,房间内温度降低,热敏元件的电阻增大,电路中总电阻增大,由欧姆定律可知,电路中电流变小,电磁铁磁性减弱,当温度低到一定值时,衔铁在弹簧的作用下抬起,压缩机停止工作.
名师点睛
解决电磁继电器问题的一般思路:
控制电路通断→电磁铁有无磁性→是否吸引衔铁→触点如何接通→工作电路的通断
开关 减弱 [解析]电磁继电器是利用电磁铁控制工作电路通断的开关;根据题意可知,房间内温度降低,热敏元件的电阻增大,电路中总电阻增大,由欧姆定律可知,电路中电流变小,电磁铁磁性减弱,当温度低到一定值时,衔铁在弹簧的作用下抬起,压缩机停止工作.
名师点睛
解决电磁继电器问题的一般思路:
控制电路通断→电磁铁有无磁性→是否吸引衔铁→触点如何接通→工作电路的通断
18. 小明观察了小区入口的车辆出入自动控制闸,发现当车牌被识别系统识别后,绿灯亮,栏杆抬起,车辆通行. 于是他设计了如图所示的模拟电路,车牌识别成功相当于图中开关闭合.
(1)已知该电路电源电压为6V,指示灯工作时的阻值为5Ω,滑动变阻器接入电路的阻值为10Ω,线圈阻值不计. 闭合开关后,线圈吸住铁柱时,指示灯的功率为_______W.
(2)若电源电压下降,栏杆不能抬起. 除了更换电池外,请你再写出一种能使栏杆正常抬起的方法:______________________________.
(1)已知该电路电源电压为6V,指示灯工作时的阻值为5Ω,滑动变阻器接入电路的阻值为10Ω,线圈阻值不计. 闭合开关后,线圈吸住铁柱时,指示灯的功率为_______W.
(2)若电源电压下降,栏杆不能抬起. 除了更换电池外,请你再写出一种能使栏杆正常抬起的方法:______________________________.
答案:
(1)0.8
(2)将滑动变阻器接入电路的阻值调小些
[解析]
(1)由图知,指示灯与滑动变阻器串联,当滑动变阻器接入电路的阻值为10Ω时,电路的电流I = $\frac{U}{R_{L}+R_{滑}}=\frac{6V}{5Ω + 10Ω}=0.4A$,小灯泡的电功率P = $I^{2}R_{L}=(0.4A)^{2}\times5Ω = 0.8W$.
(2)栏杆不能抬起的原因是电磁铁的磁性太弱,由于电磁铁的磁性与电流的大小和线圈的匝数等因素有关,因此应增大电路中的电流,除了更换电压较大的电源外,还可以向上调节滑动变阻器的滑片,使滑动变阻器连入电路的阻值减小.
(1)0.8
(2)将滑动变阻器接入电路的阻值调小些
[解析]
(1)由图知,指示灯与滑动变阻器串联,当滑动变阻器接入电路的阻值为10Ω时,电路的电流I = $\frac{U}{R_{L}+R_{滑}}=\frac{6V}{5Ω + 10Ω}=0.4A$,小灯泡的电功率P = $I^{2}R_{L}=(0.4A)^{2}\times5Ω = 0.8W$.
(2)栏杆不能抬起的原因是电磁铁的磁性太弱,由于电磁铁的磁性与电流的大小和线圈的匝数等因素有关,因此应增大电路中的电流,除了更换电压较大的电源外,还可以向上调节滑动变阻器的滑片,使滑动变阻器连入电路的阻值减小.
三、作图题(4分)
答案:
19. (2分)如图所示,小磁针静止,标出电源的“+”“-”极及小磁针的N极.

答案:
如图所示.
如图所示.
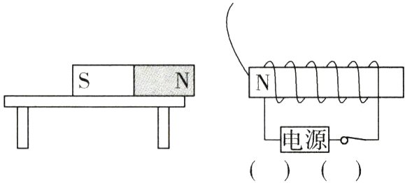
20. (2分)(2022·潍坊中考)如图所示,条形磁铁静止在水平桌面上,通电螺线管左端为N极,靠近条形磁铁放置. 请根据图中所示情况:
(1)将电源“+”“-”极填入括号中.
(2)在已画出的磁感线上用箭头标出其方向.
(3)画出条形磁铁所受摩擦力的示意图.

(1)将电源“+”“-”极填入括号中.
(2)在已画出的磁感线上用箭头标出其方向.
(3)画出条形磁铁所受摩擦力的示意图.
答案:
如图所示.
如图所示.
查看更多完整答案,请扫码查看