第30页
- 第1页
- 第2页
- 第3页
- 第4页
- 第5页
- 第6页
- 第7页
- 第8页
- 第9页
- 第10页
- 第11页
- 第12页
- 第13页
- 第14页
- 第15页
- 第16页
- 第17页
- 第18页
- 第19页
- 第20页
- 第21页
- 第22页
- 第23页
- 第24页
- 第25页
- 第26页
- 第27页
- 第28页
- 第29页
- 第30页
- 第31页
- 第32页
- 第33页
- 第34页
- 第35页
- 第36页
- 第37页
- 第38页
- 第39页
- 第40页
- 第41页
- 第42页
- 第43页
- 第44页
- 第45页
- 第46页
- 第47页
- 第48页
- 第49页
- 第50页
- 第51页
- 第52页
- 第53页
- 第54页
- 第55页
- 第56页
- 第57页
- 第58页
- 第59页
- 第60页
- 第61页
- 第62页
- 第63页
- 第64页
- 第65页
- 第66页
- 第67页
- 第68页
- 第69页
- 第70页
- 第71页
- 第72页
- 第73页
- 第74页
- 第75页
- 第76页
- 第77页
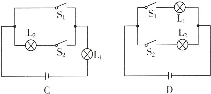
8.(2022·武汉中考)如图所示,下列电路图中,与实物电路对应的是 ( )

答案:
A
9. 如图所示的电路,闭合开关,两灯泡均发光,过一会儿,其中一个灯泡突然熄灭,电流表和电压表指针仍有示数. 造成此现象的原因可能是 ( )

A. 灯泡L1断路
B. 灯泡L2断路
C. 灯泡L1被短接
D. 灯泡L2被短接
A. 灯泡L1断路
B. 灯泡L2断路
C. 灯泡L1被短接
D. 灯泡L2被短接
答案:
A
10. 某款感应式垃圾桶如图所示. 其工作原理如下:启动开关闭合后,垃圾桶才能正常使用,此时指示灯亮起;扔垃圾时只需将手伸到感应区上方一定距离内,感应开关自动闭合,动力装置工作,垃圾桶盖缓缓打开;手离开5秒后动力装置会控制桶盖闭合,然后感应开关自动断开,下列电路符合要求的是 ( )

答案:
C
11. 如图所示,拿一根用毛皮摩擦过的橡胶棒接触不带电的验电器A,验电器A的两个金属箔片张开,然后用一根有绝缘柄的金属棒把验电器A和不带电的验电器B连接起来. 以下说法正确的是 ( )
A. A上的部分质子转移到B上
B. 毛皮和橡胶棒摩擦的过程中,毛皮失去电子带正电
C. 连接的瞬间,金属棒上电流的方向由A至B
D. 金属棒将A、B连接后,产生了稳定的电流

A. A上的部分质子转移到B上
B. 毛皮和橡胶棒摩擦的过程中,毛皮失去电子带正电
C. 连接的瞬间,金属棒上电流的方向由A至B
D. 金属棒将A、B连接后,产生了稳定的电流
答案:
B [解析]摩擦起电现象是通过摩擦的方式使电子发生了转移,而不是质子的转移,A错误;毛皮和橡胶棒摩擦的过程中,橡胶棒原子核束缚电子的能力强,橡胶棒得到电子带负电,而毛皮失去电子带正电,B正确;拿一根用毛皮摩擦过的橡胶棒接触不带电的验电器A,故A带负电,然后用一根有绝缘柄的金属棒把验电器A和不带电的验电器B连接起来,则A有一部分电子会转移到B上(电子是由A至B移动),B由于得到电子而带负电,由于电子(负电荷)定向移动的方向与电流的方向相反,所以电流的方向是由B至A,C错误;当部分电子向B移动后,剩余电子不再移动,不再产生电流,即电流是不稳定的,D错误.
12. 在图甲所示的测量电路中,闭合开关后电压表V1和V2的示数分别如图乙、丙所示,则下列说法中正确的是 ( )
A. 电压表V的示数应为15 V
B. 若小灯泡L1突然断路,则电压表V1的示数变为0 V
C. 若小灯泡L1突然断路,则电压表V2的示数变为0 V
D. 若小灯泡L1突然短路,则电压表V2的示数变为0 V

A. 电压表V的示数应为15 V
B. 若小灯泡L1突然断路,则电压表V1的示数变为0 V
C. 若小灯泡L1突然断路,则电压表V2的示数变为0 V
D. 若小灯泡L1突然短路,则电压表V2的示数变为0 V
答案:
C [解析]由图甲可知,两灯泡串联,电压表V测电源电压,电压表V₁测小灯泡L₁两端电压,电压表V₂测小灯泡L₂两端电压,由图乙可知,电压表V₁选用的是小量程0~3V,电压表V₁的示数为1V,即小灯泡L₁两端电压U₁ = 1V;由图丙可知,电压表V₂选用的是小量程0~3V,电压表V₂的示数为2V,即小灯泡L₂两端电压U₂ = 2V,根据串联电路中电源电压等于各部分电路两端电压之和可知,电源电压U = U₁ + U₂ = 1V + 2V = 3V,即电压表V的示数应为3V,A错误. 由于两灯泡串联,若小灯泡L₁突然断路,则电压表V₁测电源电压,示数为3V,B错误. 串联电路中的小灯泡L₁突然断路,由于电压表V₁相当于断路,电路中几乎没有电流通过小灯泡L₂,电压表V₂无示数,C正确. 若小灯泡L₁突然短路,则电路中只有小灯泡L₂接入,电压表V、V₂均测电源电压,也是小灯泡L₂两端电压,所以示数为3V,D错误.
查看更多完整答案,请扫码查看