第4页
- 第1页
- 第2页
- 第3页
- 第4页
- 第5页
- 第6页
- 第7页
- 第8页
- 第9页
- 第10页
- 第11页
- 第12页
- 第13页
- 第14页
- 第15页
- 第16页
- 第17页
- 第18页
- 第19页
- 第20页
- 第21页
- 第22页
- 第23页
- 第24页
- 第25页
- 第26页
- 第27页
- 第28页
- 第29页
- 第30页
- 第31页
- 第32页
- 第33页
- 第34页
- 第35页
- 第36页
- 第37页
- 第38页
- 第39页
- 第40页
- 第41页
- 第42页
- 第43页
- 第44页
- 第45页
- 第46页
- 第47页
- 第48页
- 第49页
- 第50页
- 第51页
- 第52页
- 第53页
- 第54页
- 第55页
- 第56页
- 第57页
- 第58页
- 第59页
- 第60页
- 第61页
- 第62页
- 第63页
- 第64页
- 第65页
- 第66页
- 第67页
- 第68页
- 第69页
- 第70页
- 第71页
- 第72页
- 第73页
- 第74页
- 第75页
- 第76页
- 第77页
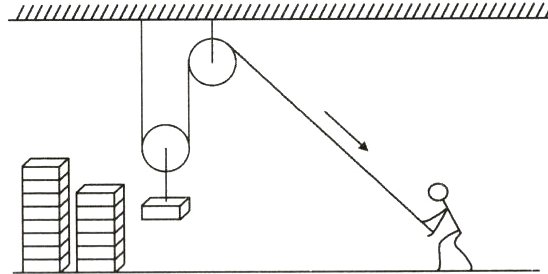
22.(14分)某同学用如图所示的实验装置测量滑轮组的机械效率,相关数据记录在下表中.


(1)实验中,使用滑轮组提升重物时,应竖直向上________拉动弹簧测力计.
(2)第2次实验中,2 s内钩码上升的高度为0.1 m,则它运动的速度为________ m/s.
(3)第3次实验中,绳端移动的距离为________ m,滑轮组的机械效率为________.
(4)分析比较第1、2两次实验的数据,有用功W₁有用________W₂有用,滑轮组的机械效率η₁________η₂(前两空均选填“>”“=”或“<”). 由此可知,可采用____________________的方法来提高滑轮组的机械效率.
(1)实验中,使用滑轮组提升重物时,应竖直向上________拉动弹簧测力计.
(2)第2次实验中,2 s内钩码上升的高度为0.1 m,则它运动的速度为________ m/s.
(3)第3次实验中,绳端移动的距离为________ m,滑轮组的机械效率为________.
(4)分析比较第1、2两次实验的数据,有用功W₁有用________W₂有用,滑轮组的机械效率η₁________η₂(前两空均选填“>”“=”或“<”). 由此可知,可采用____________________的方法来提高滑轮组的机械效率.
答案:
(1)匀速
(2)0.05
(3)0.45 80%
(4)< < 增加物重 [解析]
(1)实验中应该竖直向上匀速拉动弹簧测力计,以保证弹簧测力计示数稳定.
(2)第2次实验中,钩码运动的速度v = $\frac{h_{2}}{t}$ = $\frac{0.1 m}{2 s}$ = 0.05 m/s.
(3)由图可知,滑轮组承重的绳子有效股数n = 3,第3次实验中,绳端移动的距离s₃ = nh₃ = 3×0.15 m = 0.45 m;滑轮组的机械效率η₃ = $\frac{W_{有用}}{W_{总}}$×100% = $\frac{G_{3}h_{3}}{F_{3}s_{3}}$×100% = $\frac{6 N×0.15 m}{2.5 N×0.45 m}$×100% = 80%.
(4)根据第1次和第2次实验的数据可知,有用功分别为W₍有用1₎ = G₁h₁ = 4 N×0.1 m = 0.4 J,W₍有用2₎ = G₂h₂ = 6 N×0.1 m = 0.6 J,所以W₍有用1₎<W₍有用2₎;总功分别为W₍总1₎ = F₁s₁ = 1.8 N×0.3 m = 0.54 J,W₍总2₎ = F₂s₂ = 2.5 N×0.3 m = 0.75 J;机械效率分别为η₁ = $\frac{W_{有用1}}{W_{总1}}$×100% = $\frac{0.4 J}{0.54 J}$×100%≈74%,η₂ = $\frac{W_{有用2}}{W_{总2}}$×100% = $\frac{0.6 J}{0.75 J}$×100% = 80%. 两次所用滑轮组相同,但第2次实验的物重大于第1次实验的物重,机械效率也大于第1次实验的机械效率,所以可得:使用同一滑轮组,增加物重可以提高滑轮组的机械效率.
(1)匀速
(2)0.05
(3)0.45 80%
(4)< < 增加物重 [解析]
(1)实验中应该竖直向上匀速拉动弹簧测力计,以保证弹簧测力计示数稳定.
(2)第2次实验中,钩码运动的速度v = $\frac{h_{2}}{t}$ = $\frac{0.1 m}{2 s}$ = 0.05 m/s.
(3)由图可知,滑轮组承重的绳子有效股数n = 3,第3次实验中,绳端移动的距离s₃ = nh₃ = 3×0.15 m = 0.45 m;滑轮组的机械效率η₃ = $\frac{W_{有用}}{W_{总}}$×100% = $\frac{G_{3}h_{3}}{F_{3}s_{3}}$×100% = $\frac{6 N×0.15 m}{2.5 N×0.45 m}$×100% = 80%.
(4)根据第1次和第2次实验的数据可知,有用功分别为W₍有用1₎ = G₁h₁ = 4 N×0.1 m = 0.4 J,W₍有用2₎ = G₂h₂ = 6 N×0.1 m = 0.6 J,所以W₍有用1₎<W₍有用2₎;总功分别为W₍总1₎ = F₁s₁ = 1.8 N×0.3 m = 0.54 J,W₍总2₎ = F₂s₂ = 2.5 N×0.3 m = 0.75 J;机械效率分别为η₁ = $\frac{W_{有用1}}{W_{总1}}$×100% = $\frac{0.4 J}{0.54 J}$×100%≈74%,η₂ = $\frac{W_{有用2}}{W_{总2}}$×100% = $\frac{0.6 J}{0.75 J}$×100% = 80%. 两次所用滑轮组相同,但第2次实验的物重大于第1次实验的物重,机械效率也大于第1次实验的机械效率,所以可得:使用同一滑轮组,增加物重可以提高滑轮组的机械效率.
23.(6分)建筑工地上,工人们需要将一堆建材运到10 m高处. 小董设计安装了如图所示的装置. 装置中每个滑轮重100 N. 工人利用该装置每次匀速提升一块重900 N的建材,建材上升的速度是0.6 m/s,在施工过程中,求:
(1)若不计绳重和摩擦,该装置的有用功的功率和机械效率.
(2)若不计绳重,绳子自由端拉力为520 N时,每次提升克服摩擦所做的功.
(1)若不计绳重和摩擦,该装置的有用功的功率和机械效率.
(2)若不计绳重,绳子自由端拉力为520 N时,每次提升克服摩擦所做的功.
答案:
解:
(1)该装置的有用功的功率P₍有用₎ = $\frac{W_{有用}}{t}$ = $\frac{Gh}{t}$ = Gv₍物₎ = 900 N×0.6 m/s = 540 W,因为不计绳重和摩擦,所以该装置的机械效率η = $\frac{W_{有用}}{W_{总}}$×100% = $\frac{W_{有用}}{W_{有用}+W_{额外}}$×100% = $\frac{Gh}{Gh + G_{动}h}$×100% = $\frac{G}{G + G_{动}}$×100% = $\frac{900 N}{900 N + 100 N}$×100% = 90%.
(2)由图可知n = 2,绳子自由端移动的距离s = nh = 2×10 m = 20 m,则总功W₍总₎ = Fs = 520 N×20 m = 10 400 J,有用功W₍有用₎ = Gh = 900 N×10 m = 9 000 J,克服动滑轮重力做的额外功W₍动₎ = G₍动₎h = 100 N×10 m = 1 000 J,所以每次提升克服摩擦做功W₍f₎ = W₍总₎ - W₍有用₎ - W₍动₎ = 10 400 J - 9 000 J - 1 000 J = 400 J.
(1)该装置的有用功的功率P₍有用₎ = $\frac{W_{有用}}{t}$ = $\frac{Gh}{t}$ = Gv₍物₎ = 900 N×0.6 m/s = 540 W,因为不计绳重和摩擦,所以该装置的机械效率η = $\frac{W_{有用}}{W_{总}}$×100% = $\frac{W_{有用}}{W_{有用}+W_{额外}}$×100% = $\frac{Gh}{Gh + G_{动}h}$×100% = $\frac{G}{G + G_{动}}$×100% = $\frac{900 N}{900 N + 100 N}$×100% = 90%.
(2)由图可知n = 2,绳子自由端移动的距离s = nh = 2×10 m = 20 m,则总功W₍总₎ = Fs = 520 N×20 m = 10 400 J,有用功W₍有用₎ = Gh = 900 N×10 m = 9 000 J,克服动滑轮重力做的额外功W₍动₎ = G₍动₎h = 100 N×10 m = 1 000 J,所以每次提升克服摩擦做功W₍f₎ = W₍总₎ - W₍有用₎ - W₍动₎ = 10 400 J - 9 000 J - 1 000 J = 400 J.
查看更多完整答案,请扫码查看