6. 家庭电路中,照明灯与控制它的开关之间是______联的,亮开的灯越多,总电阻______(选填“越大”或“越小”),如图所示的三孔插座中,A孔应该接______线。
答案:
串 越小 地
7. 如图所示,闭合开关S后,发现电灯L不亮,且保险丝没有熔断。某同学用试电笔测试如图中的A、B、C、D四处,发现A、C、D这三处都能使试电笔的氖管发光,而B处不发光。那么可以判定故障是______________________________。
答案:
导线BD段某处断路
8.(承德一模)小明觉得自家滚筒洗衣机存在故障,他使用如图所示的试电笔检测,使用时指尖抵住上端的笔尾,笔尾属于______(选填“导体”或“绝缘体”),此时氖管发光,说明笔尖接触的是______(选填“零”“火”或“地”)线;他检查发现,接触滚筒洗衣机的金属门手柄会“麻手”,可采用的办法是给洗衣机电路______(选填“加接零线”“加接地线”或“加接空气开关”)。
答案:
导体 火 加接地线
9. 为判断如图所示的家庭电路中白炽灯L1是否短路,将火线上的熔丝断开,用另一只完好的白炽灯L2作为“校验灯”接入电路。然后闭合总开关,再闭合开关S,即可根据L2的亮暗作出判断。请在图中补画一根导线,将L2正确接入电路。

答案:
如图所示
总开关 断开的熔丝
火线
零线

如图所示
总开关 断开的熔丝
火线
零线
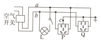
10. 小玲家的家庭电路简化后如图所示,由该电路可知,下列说法正确的是( )

A. a线是零线,b线是火线
B. 灯泡L与插座Q是串联关系
C. c处断开,洗衣机插头插入插座P,洗衣机虽能工作,但有安全隐患
D. 台灯插头插入插座Q后,空气开关立刻跳闸,是因为灯丝断路
A. a线是零线,b线是火线
B. 灯泡L与插座Q是串联关系
C. c处断开,洗衣机插头插入插座P,洗衣机虽能工作,但有安全隐患
D. 台灯插头插入插座Q后,空气开关立刻跳闸,是因为灯丝断路
答案:
C
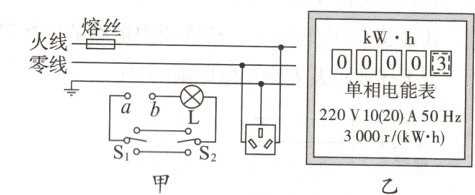
11. 小明家正在进行新房装修,需要安装一盏在一楼和二楼都能控制的楼梯灯,他设计了如图甲所示的电路,S1和S2是单刀双掷开关,图乙是已经安装的电能表。为保证安全用电,下列说法正确的是( )

A. 若用电器消耗5 kW·h的电能,电能表的转盘转900转
B. 小明家所有用电器总功率不得超过2200 W
C. a端应该接零线,b端接火线
D. a端应该接火线,b端接零线
A. 若用电器消耗5 kW·h的电能,电能表的转盘转900转
B. 小明家所有用电器总功率不得超过2200 W
C. a端应该接零线,b端接火线
D. a端应该接火线,b端接零线
答案:
D
12.(张家口一模)如图所示是小李家的家庭电路图,图中灯泡______(选填“L1”或“L2”)控制开关的连接是正确的;使用洗衣机时应选择插座______(选填“A”或“B”)。闭合开关S2后,进户线零线发生断路,则用试电笔检查插座B的各个插孔,试电笔的氖管______(选填“都亮”或“都不亮”)。
答案:
L₂ A 都亮
查看更多完整答案,请扫码查看