7. 小英看到某小区车库积水造成大量财产损失的新闻后,设计了如图所示的车库积水自动报警器,图中A、B位置可以安装电铃或LED灯。车库没有积水时,LED灯亮,车库有积水时,左侧控制电路接通,电磁铁通电,具有______性,把衔铁吸下,电铃发出声音。电铃应该安装在图中的______位置。

答案:
磁 B
8. 如图所示,GMR是一个巨磁电阻,其阻值随磁场的增强而急剧减小,当闭合开关S1、S2时,小磁针N极指向右端,则电磁铁的左端为______极,电源右端为______极。要使指示灯变亮,滑动变阻器的滑片应向______滑动。
答案:
N(北) 正(“+”) 左
9. 虽然纯净的水是不导电的,但一般的水都能导电。根据水的导电性可以设计一种水位自动报警器,其原理如图所示。图中的螺线管中插入了一根软铁棒,通电后磁性会更______(选填“强”或“弱”);当水位到达金属块A时,______(选填“红”或“绿”)灯亮。
答案:
强 红
10. 如图所示是某车间自动除尘装置的简化电路图。空气中尘埃量较少时,光源发出来的光被挡板挡住了。当空气中尘埃量达到一定值时,由于尘埃的反射,部分光越过挡板射到光敏电阻上,光敏电阻的阻值______,电路中的电流增大,电磁铁的磁性______,在衔铁的作用下,开启自动除尘模式。若图中a、b一个是除尘器,一个是指示灯,则______是除尘器。
答案:
减小 增强 b
11. 为了探究“外形相同的电磁铁磁性的强弱跟线圈匝数的关系”,某同学设计了如图所示的电路。要求滑动变阻器的滑片P向A端移动时,电路中的电流增大。请在图中用笔画线代替导线,将电路连接完整。
答案:
如图所示
如图所示
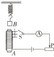
12. 如图所示,A是螺线管内的铁芯,B是悬挂在弹簧下的铁块,S是转换开关,铁芯不直接接触铁块和弹簧,要使弹簧的长度变短,可采用的办法有:
①抽出铁芯 ②将变阻器的滑片P向左移动 ③增加电池节数 ④将开关S转到触点“1”
以上说法正确的是( )

A. ①
B. ②
C. ③
D. ④
①抽出铁芯 ②将变阻器的滑片P向左移动 ③增加电池节数 ④将开关S转到触点“1”
以上说法正确的是( )
A. ①
B. ②
C. ③
D. ④
答案:
A
查看更多完整答案,请扫码查看