6. 小明在一块有机玻璃板上安装了一个用导线绕成的螺线管,在板面上均匀撒满铁屑,通电后轻敲玻璃板,铁屑的排列如图甲所示,螺线管的示意图如图乙所示,下列说法不正确的是( )

A. 图甲中Q点处的磁场比P点处的磁场强
B. 利用撒在磁体周围的铁屑可以判断该磁体周围各点的磁场方向
C. 螺线管周围存在磁场,不存在磁感线
D. 图乙中Q点处的小磁针静止时右端为S极
A. 图甲中Q点处的磁场比P点处的磁场强
B. 利用撒在磁体周围的铁屑可以判断该磁体周围各点的磁场方向
C. 螺线管周围存在磁场,不存在磁感线
D. 图乙中Q点处的小磁针静止时右端为S极
答案:
B
7. 小明自制了一个带有通电螺线管的木船模型(如图所示)。将它放入水中漂浮,船头指向东。闭合开关S,电磁铁的A端为______极;电磁铁由于受到______的作用,船头会指向______。
答案:
S 地磁场 北
8. 如图所示,用细线悬挂的磁体AB,磁极未知。当闭合电路开关S后,磁体的B端与通电螺线管左端相互排斥,则B端是磁体的______极。断开开关S,磁体静止时,B端会指向地理的______(选填“北方”或“南方”)。
答案:
N 北方
9. 小明制作了一个水果电池,他用导线将带有铁芯的螺线管两端分别与铜片和锌片接在一起,并将铜片和锌片插入脐橙中,铜片和锌片相距约3厘米,螺线管下方的小磁针发生偏转,小磁针静止后如图所示,说明______片是水果电池的正极。如果把导线两端的铜片和锌片互换,小磁针偏转方向将______(选填“不变”或“反转”)。
答案:
铜 反转
10. 图中电路连接正确,通电后小磁针指向如图所示(涂黑端表示N极),请在图中标出电源的“+”“-”极,并画出螺线管的绕法。

答案:
如图所示

如图所示
11. (乐山中考)如图所示,按照小磁针N极所示方向标出通电螺线管磁感线方向和电源的“+”“-”极。

答案:
如图所示

如图所示
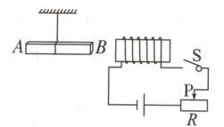
12. 如图所示,一条形磁铁放在水平桌面上,电磁铁固定于条形磁铁附近并正对条形磁铁。开关闭合前后,条形磁铁均处于静止状态。下列说法正确的是( )

A. 闭合开关前,条形磁铁受到桌面向左的摩擦力
B. 闭合开关后,电磁铁的左端为N极,右端为S极
C. 闭合开关后,条形磁铁受到桌面向右的摩擦力
D. 闭合开关后,滑片由b向a移动过程中,条形磁铁受到的摩擦力变大
A. 闭合开关前,条形磁铁受到桌面向左的摩擦力
B. 闭合开关后,电磁铁的左端为N极,右端为S极
C. 闭合开关后,条形磁铁受到桌面向右的摩擦力
D. 闭合开关后,滑片由b向a移动过程中,条形磁铁受到的摩擦力变大
答案:
D
查看更多完整答案,请扫码查看