1. 下面的图形按虚线折叠,能围成正方体的有( )。

A. ①②③
B. ②③④
C. ①③④
D. ①②③④
A. ①②③
B. ②③④
C. ①③④
D. ①②③④
答案:
D
2. 一本图书的长是 16cm,宽是 10cm,厚是 0.5cm,如果把三本这样的书包成一包,最少需要( )$cm^{2}$的包装纸。(接口处不计)
A. 240
B. 199
C. 398
D. 1028
A. 240
B. 199
C. 398
D. 1028
答案:
C
3. 一个长方体形状的玻璃容器(无盖),从外面量,长 11cm,宽 11cm,高 16cm。已知玻璃厚度是 0.5cm,那么这个玻璃容器的容积是( )。
A. 1936mL
B. 1500mL
C. 1708.875mL
D. 1550mL
A. 1936mL
B. 1500mL
C. 1708.875mL
D. 1550mL
答案:
D
二 一个长方体容器,从里面量,底面是边长 60cm 的正方形,容器里直立着一个底面也是正方形的长方体铁块,它的底面边长是 15cm,高是 1m,此时容器里的水深是 0.6m,如果把铁块取出,那么容器里的水深多少厘米?
答案:
已知$0.6m = 60cm$
$15×15×60 = 13500(cm^3)$
$13500÷(60×60)=3.75(cm)$
$60 - 3.75 = 56.25(cm)$
答:容器里的水深56.25厘米。
三 下图是一个机器零件,这个零件的表面积和体积分别是多少?(单位:cm)

答案:
$8×8×6 = 384(cm^2)$
$8×8×8 - 4×4×4 = 448(cm^3)$
答:这个零件的表面积是$384cm^2$,体积是$448cm^3$。
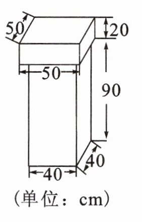
四 东方广场周围有 16 根柱子(如图)。每根柱子的四周及最上面贴上一层瓷砖。如果瓷砖每平方米 120 元,给这些柱子贴瓷砖一共要花多少钱?

答案:
$(40×90×4 + 50×20×4 + 50×50)×16 = 334400(cm^2)=33.44(m^2)$
$120×33.44 = 4012.8$(元)
答:给这些柱子贴瓷砖一共要花4012.8元。
五 如图,一个长方体的玻璃缸长 8dm,宽 6dm,高 4dm,缸中水深 2.8dm。如果放入一块棱长为 4dm 的正方体铁块,缸里的水溢出多少升?

答案:
$4×4×4 = 64(dm^3)$
$8×6×(4 - 2.8)=57.6(dm^3)$
$64 - 57.6 = 6.4(dm^3)=6.4(L)$
答:缸里的水溢出6.4L。
查看更多完整答案,请扫码查看