第33页
- 第1页
- 第2页
- 第3页
- 第4页
- 第5页
- 第6页
- 第7页
- 第8页
- 第9页
- 第10页
- 第11页
- 第12页
- 第13页
- 第14页
- 第15页
- 第16页
- 第17页
- 第18页
- 第19页
- 第20页
- 第21页
- 第22页
- 第23页
- 第24页
- 第25页
- 第26页
- 第27页
- 第28页
- 第29页
- 第30页
- 第31页
- 第32页
- 第33页
- 第34页
- 第35页
- 第36页
- 第37页
- 第38页
- 第39页
- 第40页
- 第41页
- 第42页
- 第43页
- 第44页
- 第45页
- 第46页
- 第47页
- 第48页
- 第49页
- 第50页
- 第51页
- 第52页
- 第53页
- 第54页
- 第55页
- 第56页
- 第57页
- 第58页
- 第59页
- 第60页
- 第61页
- 第62页
- 第63页
- 第64页
- 第65页
- 第66页
- 第67页
- 第68页
- 第69页
- 第70页
- 第71页
- 第72页
- 第73页
- 第74页
- 第75页
- 第76页
- 第77页
- 第78页
- 第79页
- 第80页
- 第81页
- 第82页
- 第83页
- 第84页
- 第85页
- 第86页
- 第87页
- 第88页
- 第89页
- 第90页
- 第91页
- 第92页
- 第93页
- 第94页
- 第95页
- 第96页
- 第97页
- 第98页
- 第99页
- 第100页
- 第101页
- 第102页
- 第103页
- 第104页
- 第105页
- 第106页
- 第107页
- 第108页
- 第109页
- 第110页
- 第111页
- 第112页
- 第113页
- 第114页
- 第115页
- 第116页
- 第117页
- 第118页
- 第119页
- 第120页
6. 小华用如图甲所示的装置测量滑轮组的机械效率(忽略绳重和摩擦).
(1)实验中,应
(2)通过改变动滑轮的重力,提升同一物体,多次实验,将获得的数据绘制成如图乙所示的图像.分析图像可知:被提升的物体重力相同时,动滑轮越重,滑轮组的机械效率越
(3)根据图乙中的$ A $点提供的数据可知,此时被提升的物体重力为

(1)实验中,应
竖直
拉动绳子的自由端,若偏离这个方向,测得机械效率将降低
.(2)通过改变动滑轮的重力,提升同一物体,多次实验,将获得的数据绘制成如图乙所示的图像.分析图像可知:被提升的物体重力相同时,动滑轮越重,滑轮组的机械效率越
低
(选填“高”或“低”).(3)根据图乙中的$ A $点提供的数据可知,此时被提升的物体重力为
3
N.
答案:
1. (1)
实验中,应**竖直**拉动绳子的自由端。
若偏离这个方向,测得机械效率将**变小**。
2. (2)
被提升的物体重力相同时,动滑轮越重,滑轮组的机械效率越**低**。
3. (3)
解:根据公式$\eta=\frac{G}{G + G_{动}}$(忽略绳重和摩擦),已知$\eta = 75\%=\frac{3}{4}$,$G_{动}=1N$。
由$\eta=\frac{G}{G + G_{动}}$可得$\frac{3}{4}=\frac{G}{G + 1N}$。
交叉相乘得:$3(G + 1N)=4G$。
展开式子:$3G+3N = 4G$。
移项可得:$G = 3N$。
故答案依次为:(1)竖直;变小;(2)低;(3)$3$。
实验中,应**竖直**拉动绳子的自由端。
若偏离这个方向,测得机械效率将**变小**。
2. (2)
被提升的物体重力相同时,动滑轮越重,滑轮组的机械效率越**低**。
3. (3)
解:根据公式$\eta=\frac{G}{G + G_{动}}$(忽略绳重和摩擦),已知$\eta = 75\%=\frac{3}{4}$,$G_{动}=1N$。
由$\eta=\frac{G}{G + G_{动}}$可得$\frac{3}{4}=\frac{G}{G + 1N}$。
交叉相乘得:$3(G + 1N)=4G$。
展开式子:$3G+3N = 4G$。
移项可得:$G = 3N$。
故答案依次为:(1)竖直;变小;(2)低;(3)$3$。
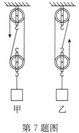
7. (2025·沭阳县开学)如图所示,用完全相同的滑轮和绳子组成甲、乙两个滑轮组,用它们提升相同的物体,物体被匀速拉起的过程中不计绳重和摩擦,下列说法正确的是(

A.乙滑轮组较省力且机械效率更高
B.若将物体提升相同的高度,则拉力做的总功相同
C.物体在被匀速提起的过程中,甲、乙的拉力大小不变且相等
D.增加物体的重力或者减小定滑轮的重力,都能提高甲、乙滑轮组的机械效率

B
)A.乙滑轮组较省力且机械效率更高
B.若将物体提升相同的高度,则拉力做的总功相同
C.物体在被匀速提起的过程中,甲、乙的拉力大小不变且相等
D.增加物体的重力或者减小定滑轮的重力,都能提高甲、乙滑轮组的机械效率
答案:
B
8. (2025·姜堰区月考)用如图所示装置探究斜面的机械效率,实验记录如表所示.(计算结果均保留一位小数)
|实验次数|物体的种类|物体的重力$ G/N $|斜面高$ h/cm $|沿斜面的拉力$ F/N $|斜面长$ s/cm $|机械效率$ \eta/\% $|
|1|木块|4|15|1.1|90|60.6|
|2|小车|4|15| |90| |
(1)根据图中测力计的示数,可知第2次实验的机械效率为
(2)第1次实验中,木块所受的摩擦力为

|实验次数|物体的种类|物体的重力$ G/N $|斜面高$ h/cm $|沿斜面的拉力$ F/N $|斜面长$ s/cm $|机械效率$ \eta/\% $|
|1|木块|4|15|1.1|90|60.6|
|2|小车|4|15| |90| |
(1)根据图中测力计的示数,可知第2次实验的机械效率为
95.2
%.由实验可得出初步结论:斜面的倾斜程度相同时,摩擦力
越小,机械效率越大.(2)第1次实验中,木块所受的摩擦力为
0.43
N.
答案:
(1)95.2 摩擦力
(2)0.43
(1)95.2 摩擦力
(2)0.43
9. 小明用如图所示的装置探究杠杆的机械效率,每个钩码的质量为$ m $,$ O $为支点.
(1)他将2只钩码悬挂在$ B $点,在$ A $点竖直向上
(2)他将2只钩码悬挂在$ C $点,在$ A $点竖直向上匀速拉动弹簧测力计,使$ C 点上升高度为 h_{2} $,则弹簧测力计的示数将
(3)他将3只钩码悬挂在$ C $点,在$ A $点竖直向上匀速拉动弹簧测力计,使$ C 点上升高度仍为 h_{2} $,则第3次杠杆的机械效率与前两次相比

(1)他将2只钩码悬挂在$ B $点,在$ A $点竖直向上
匀速
拉动弹簧测力计,拉力为$ F_{1} $,测得$ A $、$ B 两点上升的高度分别为 h_{1} $、$ h_{2} $,则此次杠杆的机械效率为$ \eta = $$\frac{2mgh_{2}}{Fh_{1}}× 100\%$
(用已知或测量物理量的符号表示).(2)他将2只钩码悬挂在$ C $点,在$ A $点竖直向上匀速拉动弹簧测力计,使$ C 点上升高度为 h_{2} $,则弹簧测力计的示数将
大于
(选填“大于”“等于”或“小于”)$ F_{1} $,此次弹簧测力计做的功将小于
(选填“大于”“等于”或“小于”)第一次做的功,杠杆的机械效率将变大
(选填“变大”“变小”或“不变”).(3)他将3只钩码悬挂在$ C $点,在$ A $点竖直向上匀速拉动弹簧测力计,使$ C 点上升高度仍为 h_{2} $,则第3次杠杆的机械效率与前两次相比
最大
(选填“最大”“最小”或“三次相等”).
答案:
(1)匀速 $\frac{2mgh_{2}}{Fh_{1}}× 100\%$
(2)大于 小于 变大
(3)最大
(1)匀速 $\frac{2mgh_{2}}{Fh_{1}}× 100\%$
(2)大于 小于 变大
(3)最大
查看更多完整答案,请扫码查看