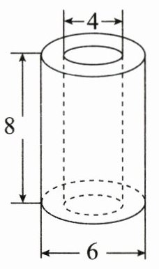
五、求下面图形的体积(单位:dm)
1.
2.
1.
2.
答案:
3.14×($\frac{4}{2}$)²×10 + $\frac{1}{3}$×3.14×($\frac{8}{2}$)²×6 = 226.08(dm³)@@3.14×($\frac{6}{2}$)²×8 - 3.14×($\frac{4}{2}$)²×8 = 125.6(dm³)
1. 一饮料生产商生产一种饮料,采用圆柱形易拉罐包装,从易拉罐的外面量,底面直径是6 cm,高是12 cm,易拉罐侧面印有“净含量350 mL”的字样。生产商是否欺骗了消费者? (易拉罐厚度不计)
答案:
3.14×(6÷2)²×12 = 339.12(mL)
339.12<350,所以生产商欺骗了消费者。
339.12<350,所以生产商欺骗了消费者。
2. 一个用塑料薄膜覆盖的蔬菜大棚,长是30米,横截面是一个直径为4米的半圆。
(1)搭建这个大棚至少要用多少平方米的塑料薄膜?
(2)大棚内的空间大约有多少立方米?

(1)搭建这个大棚至少要用多少平方米的塑料薄膜?
(2)大棚内的空间大约有多少立方米?
答案:
(1) 3.14×4×30÷2 + 3.14×(4÷2)² = 200.96(平方米)
(2) 3.14×(4÷2)²×30÷2 = 188.4(立方米)
(1) 3.14×4×30÷2 + 3.14×(4÷2)² = 200.96(平方米)
(2) 3.14×(4÷2)²×30÷2 = 188.4(立方米)
查看更多完整答案,请扫码查看