第8页
- 第1页
- 第2页
- 第3页
- 第4页
- 第5页
- 第6页
- 第7页
- 第8页
- 第9页
- 第10页
- 第11页
- 第12页
- 第13页
- 第14页
- 第15页
- 第16页
- 第17页
- 第18页
- 第19页
- 第20页
- 第21页
- 第22页
- 第23页
- 第24页
- 第25页
- 第26页
- 第27页
- 第28页
- 第29页
- 第30页
- 第31页
- 第32页
- 第33页
- 第34页
- 第35页
- 第36页
- 第37页
- 第38页
- 第39页
- 第40页
- 第41页
- 第42页
- 第43页
- 第44页
- 第45页
- 第46页
- 第47页
- 第48页
- 第49页
- 第50页
- 第51页
- 第52页
- 第53页
- 第54页
- 第55页
- 第56页
- 第57页
- 第58页
- 第59页
- 第60页
- 第61页
- 第62页
- 第63页
- 第64页
- 第65页
- 第66页
- 第67页
- 第68页
- 第69页
- 第70页
- 第71页
- 第72页
- 第73页
- 第74页
- 第75页
- 第76页
- 第77页
- 第78页
- 第79页
- 第80页
- 第81页
- 第82页
- 第83页
- 第84页
- 第85页
- 第86页
- 第87页
- 第88页
- 第89页
- 第90页
- 第91页
- 第92页
- 第93页
1. 实验原理:$\eta=\frac{W_{有用}}{W_{总}}×100\%=$ 。
答案:
$\frac{Gh}{Fs}× 100\%$
2. 实验器材: 、、细线、滑轮、钩码。
答案:
弹簧测力计 刻度尺
3. 测量的数据:物重$G$、
绳子自由端的拉力F
、重物上升的高度$h$、 。绳子自由端移动的距离s
答案:
绳子自由端的拉力F 绳子自由端移动的距离s
4. 影响滑轮组机械效率的因素:重物的重力、
动滑轮和绳子
的重力、各处的摩擦力。
答案:
动滑轮和绳子
1. 如图所示,在测定滑轮组机械效率的实验中,下列要求错误的是(

A.弹簧测力计必须先校零
B.弹簧测力计必须匀速向上拉
C.弹簧测力计必须在静止时读数
D.实验时装置旁的直尺必须竖直放置
C
)A.弹簧测力计必须先校零
B.弹簧测力计必须匀速向上拉
C.弹簧测力计必须在静止时读数
D.实验时装置旁的直尺必须竖直放置
答案:
C
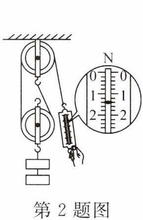
2. 测量滑轮组机械效率的实验装置如图所示。

(1)实验中,需要测量4个量:
①用弹簧测力计测出钩码所受的重力$G$;
②
③用
(2)某同学记录实验数据如表所示。

如图所示,弹簧测力计显示了第1次实验中的拉力大小,则$F_1=$
(3)分析实验数据可知,滑轮组的机械效率随着所挂钩码重力的增加而 。
(1)实验中,需要测量4个量:
①用弹簧测力计测出钩码所受的重力$G$;
②
匀速
拉动弹簧测力计,使钩码升高,读出拉力$F$的值;③用
刻度尺
测出钩码上升的高度$h$和弹簧测力计移动的距离$s$。(2)某同学记录实验数据如表所示。
如图所示,弹簧测力计显示了第1次实验中的拉力大小,则$F_1=$
1.4
N;用公式$\eta=$ $\frac{Gh}{Fs}× 100\%$
(用题中符号表示)求出第2次实验中滑轮组的机械效率$\eta_2=$ 。80%
(3)分析实验数据可知,滑轮组的机械效率随着所挂钩码重力的增加而 。
增大
答案:
(1)②匀速 ③刻度尺
(2)1.4 $\frac{Gh}{Fs}× 100\%$ 80%
(3)增大
(1)②匀速 ③刻度尺
(2)1.4 $\frac{Gh}{Fs}× 100\%$ 80%
(3)增大
3. 小明用滑轮组从井内提水,以下能够提高滑轮组机械效率的做法是(
A.换用更重的桶
B.让桶尽量装满水
C.提高拉绳子的速度
D.换用更轻的定滑轮
B
)A.换用更重的桶
B.让桶尽量装满水
C.提高拉绳子的速度
D.换用更轻的定滑轮
答案:
B
4. 如图甲,用滑轮组竖直向上提升重物,不计绳重和摩擦,下列措施能提高滑轮组机械效率的是(

A.改为乙图绕线方式
B.减小定滑轮的重力
C.增大重物上升的高度
D.减小动滑轮的重力
D
)A.改为乙图绕线方式
B.减小定滑轮的重力
C.增大重物上升的高度
D.减小动滑轮的重力
答案:
D
5. 小金用如图所示装置和相关的实验仪器探究斜面机械效率的影响因素,斜面长为$L$,高为$h$,他用沿斜面向上的拉力$F$把重为$G$的物体从斜面底端匀速拉到顶端。下列说法错误的是(

A.改变$h$即可研究斜面倾斜程度对斜面机械效率的影响
B.该过程中克服斜面摩擦力做的功属于额外功
C.该斜面的机械效率为$\frac{Gh}{F_L}×100\%$
D.若物体没有被拉到斜面顶端,则无法测出斜面的机械效率
D
)A.改变$h$即可研究斜面倾斜程度对斜面机械效率的影响
B.该过程中克服斜面摩擦力做的功属于额外功
C.该斜面的机械效率为$\frac{Gh}{F_L}×100\%$
D.若物体没有被拉到斜面顶端,则无法测出斜面的机械效率
答案:
D
查看更多完整答案,请扫码查看