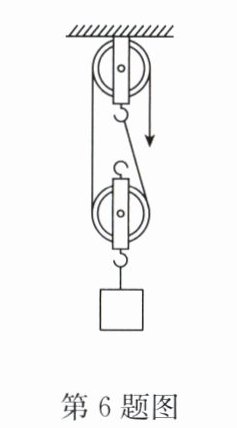
6. 如图所示,工人用该滑轮组在20s内将质量为150kg的重物匀速提升了10m,其工作期间的机械效率为75%,钢丝绳能承受的最大拉力为6000N,不计绳重与摩擦,g取10N/kg,则下列说法正确的是(

A.动滑轮的重力为200N
B.拉力的功率为$1.0×10^3W$
C.该吊车在这段时间里所做的额外功为$1.2×10^4J$
D.该吊车能吊起的最大重物的质量为400kg
B
)A.动滑轮的重力为200N
B.拉力的功率为$1.0×10^3W$
C.该吊车在这段时间里所做的额外功为$1.2×10^4J$
D.该吊车能吊起的最大重物的质量为400kg
答案:
B
7. 下列关于温度、内能和热量的说法中,正确的是(
A.0℃的物体,内能不为零
B.物体吸收热量,温度一定升高
C.内能小的物体不能将热量传递给内能大的物体
D.温度低的物体含有的热量一定少
A
)A.0℃的物体,内能不为零
B.物体吸收热量,温度一定升高
C.内能小的物体不能将热量传递给内能大的物体
D.温度低的物体含有的热量一定少
答案:
A
8. 如图所示的四种情景,人对物体做功的是(
C
)
答案:
C
查看更多完整答案,请扫码查看