2025年68所名校图书小学毕业升学必做的16套试卷六年级数学
注:目前有些书本章节名称可能整理的还不是很完善,但都是按照顺序排列的,请同学们按照顺序仔细查找。练习册 2025年68所名校图书小学毕业升学必做的16套试卷六年级数学 答案主要是用来给同学们做完题方便对答案用的,请勿直接抄袭。
4. 求下图中阴影部分的面积。(4分)

答案:
(4×2 + 10)×4÷2 - 3.14×4²÷2 = 10.88(cm²)
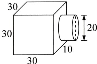
5. 求下面立体图形的体积。(单位:cm)(4分)

答案:
30³ + 3.14×$(\frac{20}{2})^2$×10 = 30140(cm³)
1. 为弘扬科学家精神,六(1)班开展了以“致敬科技工作者”为主题的班会,在这次班会上,亮亮用数学知识设计了一枚图标。下面我们一起在方格纸上画出这枚图标吧!(6分)
(1)画出直角三角形关于直线l的轴对称图形。
(2)以点(9,8)为圆心、2厘米为半径画圆(图中小正方形的边长表示1cm)。
(3)将长方形绕点O逆时针旋转90°。

(1)画出直角三角形关于直线l的轴对称图形。
(2)以点(9,8)为圆心、2厘米为半径画圆(图中小正方形的边长表示1cm)。
(3)将长方形绕点O逆时针旋转90°。
答案:
2. 自“双减”工作开展以来,某小学开展了丰富多彩的课后服务活动。该校六(1)班学生每人都选择参加了一项活动,他们参加课后服务活动的情况如下图:
(1)六(1)班参加课后服务活动的一共有多少人?(3分)
(2)先算一算,再在图1中将“书法”部分的图形补充完整。(2分)
(3)参加编程学习的学生人数是全班人数的百分之几?(2分)
(1)六(1)班参加课后服务活动的一共有多少人?(3分)
(2)先算一算,再在图1中将“书法”部分的图形补充完整。(2分)
(3)参加编程学习的学生人数是全班人数的百分之几?(2分)
答案:
(1)8÷20% = 40(人)
(2)40 - 16 - 4 - 8 = 12(人)

(3)4÷40×100% = 10%
(1)8÷20% = 40(人)
(2)40 - 16 - 4 - 8 = 12(人)
(3)4÷40×100% = 10%
查看更多完整答案,请扫码查看