2025年同步作业本练闯考九年级化学下册人教版安徽专版
注:目前有些书本章节名称可能整理的还不是很完善,但都是按照顺序排列的,请同学们按照顺序仔细查找。练习册 2025年同步作业本练闯考九年级化学下册人教版安徽专版 答案主要是用来给同学们做完题方便对答案用的,请勿直接抄袭。
第45页
- 第1页
- 第2页
- 第3页
- 第4页
- 第5页
- 第6页
- 第7页
- 第8页
- 第9页
- 第10页
- 第11页
- 第12页
- 第13页
- 第14页
- 第15页
- 第16页
- 第17页
- 第18页
- 第19页
- 第20页
- 第21页
- 第22页
- 第23页
- 第24页
- 第25页
- 第26页
- 第27页
- 第28页
- 第29页
- 第30页
- 第31页
- 第32页
- 第33页
- 第34页
- 第35页
- 第36页
- 第37页
- 第38页
- 第39页
- 第40页
- 第41页
- 第42页
- 第43页
- 第44页
- 第45页
- 第46页
- 第47页
- 第48页
- 第49页
- 第50页
- 第51页
- 第52页
- 第53页
- 第54页
- 第55页
- 第56页
- 第57页
- 第58页
- 第59页
- 第60页
- 第61页
- 第62页
- 第63页
- 第64页
- 第65页
- 第66页
- 第67页
- 第68页
7.类比推理在化学学习和科学研究中有重要意义,下列说法正确的是( )
A.氢氧化钠、氢氧化钙溶液能使酚酞溶液变红,所以Cu(OH)₂、Fe(OH)₃难溶于水的碱也能使酚酞溶液变红
B.CO₂和SO₂都能与碱溶液反应,所以非金属氧化物一定能与碱溶液反应
C.氢氧化钙与氢氧化钠都能与二氧化碳反应,所以也可以用氢氧化钠溶液来检验二氧化碳
D.金属阳离子与氢氧根离子可以结合成碱,但碱中不一定含有金属元素(如NH₃·H₂O)
A.氢氧化钠、氢氧化钙溶液能使酚酞溶液变红,所以Cu(OH)₂、Fe(OH)₃难溶于水的碱也能使酚酞溶液变红
B.CO₂和SO₂都能与碱溶液反应,所以非金属氧化物一定能与碱溶液反应
C.氢氧化钙与氢氧化钠都能与二氧化碳反应,所以也可以用氢氧化钠溶液来检验二氧化碳
D.金属阳离子与氢氧根离子可以结合成碱,但碱中不一定含有金属元素(如NH₃·H₂O)
答案:
D
8.下列溶液在空气中敞口放置,因发生化学变化导致溶液质量增大的是( )
A.澄清石灰水
B.盐酸
C.氢氧化钠溶液
D.浓硫酸
A.澄清石灰水
B.盐酸
C.氢氧化钠溶液
D.浓硫酸
答案:
C
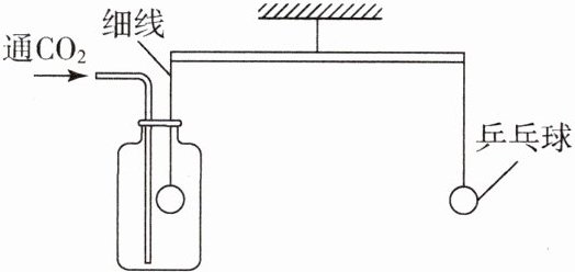
9.新考向 跨学科 如图,杠杆已调至平衡,向集气瓶内缓慢通入一定量的CO₂气体,稍后再倒入浓NaOH溶液(液面不接触乒乓球)。下列说法正确的是( )

A.通入CO₂气体后,左端乒乓球下降
B.整个过程中乒乓球位置始终没有变化
C.倒入浓NaOH溶液后,杠杆逐渐恢复原状
D.其他条件不变,将CO₂换成H₂会产生同样现象
A.通入CO₂气体后,左端乒乓球下降
B.整个过程中乒乓球位置始终没有变化
C.倒入浓NaOH溶液后,杠杆逐渐恢复原状
D.其他条件不变,将CO₂换成H₂会产生同样现象
答案:
C
10.新考向 项目式探究(2024·阜阳二模)某化学兴趣小组同学以“氢氧化钠的性质和用途”为主题开展项目式学习。
【任务一】氢氧化钠的性质
甲同学用如图1实验验证氢氧化钠的性质。
(1)实验中观察到的现象是________________;有同学认为该实验不能直接证明二氧化碳可以与氢氧化钠反应,需要再做一个补充实验,请在虚线框中画出补充实验的设计图。
(2)写出二氧化碳与氢氧化钠反应的化学方程式:______________________________。
【任务二】氢氧化钠的用途
氢氧化钠溶液可以用于“捕捉”CO₂,乙同学通过下列反应流程,将工业生产中产生的CO₂分离出来进行储存利用[已知:Na₂CO₃ + Ca(OH)₂==CaCO₃↓ + 2NaOH]。
(3)物质Y的化学式为__________。
(4)不能直接将“烟气”通入“颗粒反应室”的原因是______________________________。
【任务三】数字实验角度再识氢氧化钠
(5)丙同学用如图2装置进行实验,实验时先后将两种溶液快速推入,瓶内压强变化如图3所示。
①实验过程中可证明CO₂与NaOH反应的实验现象是________________________。
②bc段压强不变的原因:______________________________。
③e点压强小于a点的原因:______________________________。



【任务一】氢氧化钠的性质
甲同学用如图1实验验证氢氧化钠的性质。
(1)实验中观察到的现象是________________;有同学认为该实验不能直接证明二氧化碳可以与氢氧化钠反应,需要再做一个补充实验,请在虚线框中画出补充实验的设计图。
(2)写出二氧化碳与氢氧化钠反应的化学方程式:______________________________。
【任务二】氢氧化钠的用途
氢氧化钠溶液可以用于“捕捉”CO₂,乙同学通过下列反应流程,将工业生产中产生的CO₂分离出来进行储存利用[已知:Na₂CO₃ + Ca(OH)₂==CaCO₃↓ + 2NaOH]。
(3)物质Y的化学式为__________。
(4)不能直接将“烟气”通入“颗粒反应室”的原因是______________________________。
【任务三】数字实验角度再识氢氧化钠
(5)丙同学用如图2装置进行实验,实验时先后将两种溶液快速推入,瓶内压强变化如图3所示。
①实验过程中可证明CO₂与NaOH反应的实验现象是________________________。
②bc段压强不变的原因:______________________________。
③e点压强小于a点的原因:______________________________。
答案:
(1)试管内液面上升

(2)$CO_2 + 2NaOH = Na_2CO_3 + H_2O$
(3)$CaCO_3$
(4)氢氧化钙在水中的溶解度很小,能吸收的二氧化碳比较少
(5)①溶液中有气泡冒出 ②氢氧化钠溶液与二氧化碳已经反应完 ③部分$CO_2$溶于水(或与水反应)
(1)试管内液面上升
(2)$CO_2 + 2NaOH = Na_2CO_3 + H_2O$
(3)$CaCO_3$
(4)氢氧化钙在水中的溶解度很小,能吸收的二氧化碳比较少
(5)①溶液中有气泡冒出 ②氢氧化钠溶液与二氧化碳已经反应完 ③部分$CO_2$溶于水(或与水反应)
查看更多完整答案,请扫码查看