2025年赢在微点轻松课堂微讲小本高中生物选择性必修3
注:目前有些书本章节名称可能整理的还不是很完善,但都是按照顺序排列的,请同学们按照顺序仔细查找。练习册 2025年赢在微点轻松课堂微讲小本高中生物选择性必修3 答案主要是用来给同学们做完题方便对答案用的,请勿直接抄袭。
第21页
- 第1页
- 第2页
- 第3页
- 第4页
- 第5页
- 第6页
- 第7页
- 第8页
- 第9页
- 第10页
- 第11页
- 第12页
- 第13页
- 第14页
- 第15页
- 第16页
- 第17页
- 第18页
- 第19页
- 第20页
- 第21页
- 第22页
- 第23页
- 第24页
- 第25页
- 第26页
- 第27页
- 第28页
- 第29页
- 第30页
- 第31页
- 第32页
- 第33页
- 第34页
- 第35页
- 第36页
- 第37页
- 第38页
- 第39页
- 第40页
- 第41页
- 第42页
- 第43页
- 第44页
- 第45页
- 第46页
- 第47页
- 第48页
- 第49页
- 第50页
- 第51页
- 第52页
- 第53页
- 第54页
- 第55页
- 第56页
- 第57页
- 第58页
- 第59页
- 第60页
- 第61页
- 第62页
- 第63页
- 第64页
- 第65页
- 第66页
- 第67页
- 第68页
【微变式】 关于单细胞蛋白的叙述正确的是 ( )
A. 是从微生物细胞中提取的蛋白质
B. 通过发酵生产的微生物菌体
C. 是微生物细胞分泌的抗生素
D. 单细胞蛋白不能作为食品添加剂
A. 是从微生物细胞中提取的蛋白质
B. 通过发酵生产的微生物菌体
C. 是微生物细胞分泌的抗生素
D. 单细胞蛋白不能作为食品添加剂
答案:
B
1. 下列不需要利用发酵工程的是 ( )
A. 生产单细胞蛋白饲料
B. 通过生物技术培育可移植的皮肤
C. 利用工程菌生产胰岛素
D. 工厂化生产青霉素
A. 生产单细胞蛋白饲料
B. 通过生物技术培育可移植的皮肤
C. 利用工程菌生产胰岛素
D. 工厂化生产青霉素
答案:
B
2. 下列对发酵工程内容的叙述,错误的是( )
A. 用诱变育种、基因工程等方法选育出性状优良的菌种并进行扩大培养
B. 配制培养基是发酵工程的中心环节
C. 发酵过程中必须严格地检测并控制发酵条件
D. 用适当的方法分离提纯产物并严格地进行质量检查
A. 用诱变育种、基因工程等方法选育出性状优良的菌种并进行扩大培养
B. 配制培养基是发酵工程的中心环节
C. 发酵过程中必须严格地检测并控制发酵条件
D. 用适当的方法分离提纯产物并严格地进行质量检查
答案:
B
3. 随着生物技术的快速发展,发酵工程为人类提供了越来越多的产品,生产啤酒、酸奶、味精、乙型肝炎疫苗的常用菌种分别是 ( )
A. 酵母菌、醋酸杆菌、枯草杆菌、大肠杆菌
B. 青霉菌、乳酸菌、黄色短杆菌、肺炎双球菌
C. 酵母菌、乳酸菌、谷氨酸棒状杆菌、酵母菌
D. 谷氨酸棒状杆菌、酵母菌、放线菌、大肠杆菌
A. 酵母菌、醋酸杆菌、枯草杆菌、大肠杆菌
B. 青霉菌、乳酸菌、黄色短杆菌、肺炎双球菌
C. 酵母菌、乳酸菌、谷氨酸棒状杆菌、酵母菌
D. 谷氨酸棒状杆菌、酵母菌、放线菌、大肠杆菌
答案:
C
4. 下列哪项是发酵过程中不需要完成的( )
A. 随时取样检测培养液中的细菌数目、产物浓度
B. 不断添加菌种
C. 及时添加必需的培养液成分
D. 严格控制温度、pH、溶氧、通气量与转速等条件
A. 随时取样检测培养液中的细菌数目、产物浓度
B. 不断添加菌种
C. 及时添加必需的培养液成分
D. 严格控制温度、pH、溶氧、通气量与转速等条件
答案:
B
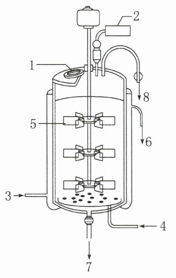
5. 如图为通过谷氨酸棒状杆菌(一种好氧细菌)发酵获得谷氨酸的装置图。

(1)图中3、6处是发酵罐夹层中水的进口和出口,水在发酵罐夹层流动的作用是________。
(2)谷氨酸发酵过程中,当培养液呈________时,会积累谷氨酸;当培养液呈________时,易形成________。
(3)如果发酵产品是微生物细胞本身,可在发酵结束之后,采用________(填“过滤、沉淀”或“蒸馏、萃取”)等方法获得产品。
(4)图中5的作用是________。
(1)图中3、6处是发酵罐夹层中水的进口和出口,水在发酵罐夹层流动的作用是________。
(2)谷氨酸发酵过程中,当培养液呈________时,会积累谷氨酸;当培养液呈________时,易形成________。
(3)如果发酵产品是微生物细胞本身,可在发酵结束之后,采用________(填“过滤、沉淀”或“蒸馏、萃取”)等方法获得产品。
(4)图中5的作用是________。
答案:
冷却(或降温)@@中性或弱碱性@@酸性@@谷氨酰胺和N - 乙酰谷氨酰胺@@过滤、沉淀@@使微生物与发酵液混合均匀,加快氧气的溶解以及散热
查看更多完整答案,请扫码查看