第91页
- 第1页
- 第2页
- 第3页
- 第4页
- 第5页
- 第6页
- 第7页
- 第8页
- 第9页
- 第10页
- 第11页
- 第12页
- 第13页
- 第14页
- 第15页
- 第16页
- 第17页
- 第18页
- 第19页
- 第20页
- 第21页
- 第22页
- 第23页
- 第24页
- 第25页
- 第26页
- 第27页
- 第28页
- 第29页
- 第30页
- 第31页
- 第32页
- 第33页
- 第34页
- 第35页
- 第36页
- 第37页
- 第38页
- 第39页
- 第40页
- 第41页
- 第42页
- 第43页
- 第44页
- 第45页
- 第46页
- 第47页
- 第48页
- 第49页
- 第50页
- 第51页
- 第52页
- 第53页
- 第54页
- 第55页
- 第56页
- 第57页
- 第58页
- 第59页
- 第60页
- 第61页
- 第62页
- 第63页
- 第64页
- 第65页
- 第66页
- 第67页
- 第68页
- 第69页
- 第70页
- 第71页
- 第72页
- 第73页
- 第74页
- 第75页
- 第76页
- 第77页
- 第78页
- 第79页
- 第80页
- 第81页
- 第82页
- 第83页
- 第84页
- 第85页
- 第86页
- 第87页
- 第88页
- 第89页
- 第90页
- 第91页
- 第92页
- 第93页
8. [2024·临汾阶段测]在探究杠杆平衡条件的实验中,在杠杆两侧挂上不同数量相同规格的钩码,调节钩码的位置,杠杆处于水平平衡状态,如图所示。若在杠杆支点两侧钩码的下方各增加一个钩码,则杠杆将 ( )

A. 左端下沉
B. 右端下沉
C. 仍然平衡
D. 无法判断
A. 左端下沉
B. 右端下沉
C. 仍然平衡
D. 无法判断
答案:
A
9. 如图所示的四种情况中,一定不能使杠杆保持平衡的是 ( )

答案:
C
10. [立德树人·传统文化]我国古代《墨经》最早记述了秤的杠杆原理,如图所示,“权”“重”对应物理学中的力,“标”“本”对应物理学中的______;当“重”增大时,应把“权”向______(填“A”或“O”)移动,才能平衡;调节后,秤能够静止或者匀速转动,则视为秤处于__________状态。

答案:
力臂@@A@@平衡
11. 如图甲所示,高铁上的餐车前轮遇到障碍物A时,应该________(填“抬起”或“按压”)扶把E,这时餐车可以看作杠杆,支点是C;如图乙所示,当后轮遇到障碍物时,应该________(填“抬起”或“按压”)扶把E,此时支点是________。

答案:
按压@@抬起@@B
12. 如图甲所示,将人看作杠杆,支点在手上,请在简图乙中画出地面对脚的作用力F的示意图(l为F的力臂)。

答案:
解:如图所示。
解:如图所示。
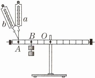
13. [科学推理]在图中,挂在B点的两个相同的钩码重力均为0.5 N。当弹簧测力计在A点沿竖直方向的a方向拉时,杠杆平衡。这时弹簧测力计的示数$F_a$ = ________N。若弹簧测力计沿斜向上的b方向拉时杠杆仍然平衡,则弹簧测力计的示数$F_b$ ______(填“>”“=”或“<”)$F_a$,其原因是________________________。

答案:
0.6@@>@@在阻力和阻力臂不变时,动力臂变小,动力变大
查看更多完整答案,请扫码查看