第19页
- 第1页
- 第2页
- 第3页
- 第4页
- 第5页
- 第6页
- 第7页
- 第8页
- 第9页
- 第10页
- 第11页
- 第12页
- 第13页
- 第14页
- 第15页
- 第16页
- 第17页
- 第18页
- 第19页
- 第20页
- 第21页
- 第22页
- 第23页
- 第24页
- 第25页
- 第26页
- 第27页
- 第28页
- 第29页
- 第30页
- 第31页
- 第32页
- 第33页
- 第34页
- 第35页
- 第36页
- 第37页
- 第38页
- 第39页
- 第40页
- 第41页
- 第42页
- 第43页
- 第44页
- 第45页
- 第46页
- 第47页
- 第48页
- 第49页
- 第50页
- 第51页
- 第52页
- 第53页
- 第54页
- 第55页
- 第56页
- 第57页
- 第58页
- 第59页
- 第60页
- 第61页
- 第62页
- 第63页
- 第64页
- 第65页
- 第66页
- 第67页
- 第68页
- 第69页
- 第70页
- 第71页
- 第72页
- 第73页
- 第74页
- 第75页
- 第76页
- 第77页
- 第78页
- 第79页
- 第80页
- 第81页
- 第82页
- 第83页
- 第84页
- 第85页
- 第86页
- 第87页
- 第88页
- 第89页
- 第90页
- 第91页
- 第92页
- 第93页
- 第94页
- 第95页
- 第96页
- 第97页
- 第98页
- 第99页
- 第100页
- 第101页
- 第102页
- 第103页
- 第104页
- 第105页
- 第106页
- 第107页
- 第108页
- 第109页
- 第110页
- 第111页
- 第112页
- 第113页
- 第114页
- 第115页
- 第116页
- 第117页
- 第118页
- 第119页
水通电分解得到
氢气
和氧气,二者体积比为2∶1
,反应的文字表达式为水$\xrightarrow{通电}$氢气+氧气
,氢气燃烧的文字表达式为氢气+氧气$\xrightarrow{点燃}$水
,以上实验都说明了水是由氢元素和氧元素
组成的。
答案:
氢气 2∶1 水$\xrightarrow{通电}$氢气+氧气 氢气+氧气$\xrightarrow{点燃}$水 氢元素和氧元素
1. 以下的“水”属于纯净物的是(
A.糖水
B.海水
C.矿泉水
D.冰水混合物
D
)A.糖水
B.海水
C.矿泉水
D.冰水混合物
答案:
D
2. 下列有关水的性质的描述中,属于水的化学性质的是(
A.水在自然界中存在的状态有三种
B.水通电后可以分解成氢气和氧气
C.水是无色无味的液体
D.水在零度会结冰
B
)A.水在自然界中存在的状态有三种
B.水通电后可以分解成氢气和氧气
C.水是无色无味的液体
D.水在零度会结冰
答案:
B
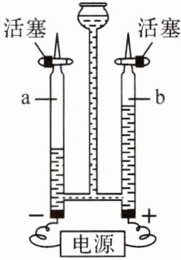
3.(2024·赤峰)晓佳为探究不同电压对电解水速率的影响,用如图装置进行多次实验,并记录不同电压下生成20mL氢气所需时间。下列分析正确的是(

A.a管与电源正极相连
B.b管中气体可以燃烧
C.a管与b管中气体质量比为2∶1
D.该实验中,电压越高电解水的速率越快
D
)A.a管与电源正极相连
B.b管中气体可以燃烧
C.a管与b管中气体质量比为2∶1
D.该实验中,电压越高电解水的速率越快
答案:
D
4. 如图是水的电解实验装置图。
(1)该实验中,与电源负极相连的a管内产生的气体为

(2)该反应的文字表达式为
(3)用一根燃着的木条分别放在两个玻璃管尖嘴口检验电解水反应中产生的气体,在a玻璃管处可观察到
(4)该实验证明了水是由
(1)该实验中,与电源负极相连的a管内产生的气体为
氢气
,b管内产生的气体为氧气
。(2)该反应的文字表达式为
水$\xrightarrow{通电}$氢气+氧气
,该反应属于基本反应类型中的分解反应
。(3)用一根燃着的木条分别放在两个玻璃管尖嘴口检验电解水反应中产生的气体,在a玻璃管处可观察到
气体燃烧,发出淡蓝色焰
该反应文字表达式为氢气+氧气$\xrightarrow{点燃}$水
;b玻璃管处可观察到木条燃烧得更旺
。(4)该实验证明了水是由
氢元素和氧元素
组成的。
答案:
(1)氢气 氧气
(2)水$\xrightarrow{通电}$氢气+氧气 分解反应
(3)气体燃烧,发出淡蓝色焰 氢气+氧气$\xrightarrow{点燃}$水 木条燃烧得更旺
(4)氢元素和氧元素
(1)氢气 氧气
(2)水$\xrightarrow{通电}$氢气+氧气 分解反应
(3)气体燃烧,发出淡蓝色焰 氢气+氧气$\xrightarrow{点燃}$水 木条燃烧得更旺
(4)氢元素和氧元素
5. 液氢常用作发射火箭的燃料。下列关于氢气在空气中或氧气中燃烧的说法错误的是(
A.发出淡蓝色火焰,放出大量的热
B.生成无色无味的气体
C.燃烧前要检验其纯度
D.说明水是由氢元素和氧元素组成的
B
)A.发出淡蓝色火焰,放出大量的热
B.生成无色无味的气体
C.燃烧前要检验其纯度
D.说明水是由氢元素和氧元素组成的
答案:
B
6. 在氢气的检验和验纯实验操作中,下列说法不正确的是(
A.氢气在纯氧中安静地燃烧,产生淡蓝色火焰
B.验纯的方法是用拇指堵住试管口,试管口向上,移近火焰,松开拇指,点火
C.验纯时听到的声音很小,表明气体较纯
D.点燃纯净的氢气,在火焰上方罩一个干冷的烧杯,烧杯内壁凝结有水雾
B
)A.氢气在纯氧中安静地燃烧,产生淡蓝色火焰
B.验纯的方法是用拇指堵住试管口,试管口向上,移近火焰,松开拇指,点火
C.验纯时听到的声音很小,表明气体较纯
D.点燃纯净的氢气,在火焰上方罩一个干冷的烧杯,烧杯内壁凝结有水雾
答案:
B
查看更多完整答案,请扫码查看