第74页
- 第1页
- 第2页
- 第3页
- 第4页
- 第5页
- 第6页
- 第7页
- 第8页
- 第9页
- 第10页
- 第11页
- 第12页
- 第13页
- 第14页
- 第15页
- 第16页
- 第17页
- 第18页
- 第19页
- 第20页
- 第21页
- 第22页
- 第23页
- 第24页
- 第25页
- 第26页
- 第27页
- 第28页
- 第29页
- 第30页
- 第31页
- 第32页
- 第33页
- 第34页
- 第35页
- 第36页
- 第37页
- 第38页
- 第39页
- 第40页
- 第41页
- 第42页
- 第43页
- 第44页
- 第45页
- 第46页
- 第47页
- 第48页
- 第49页
- 第50页
- 第51页
- 第52页
- 第53页
- 第54页
- 第55页
- 第56页
- 第57页
- 第58页
- 第59页
- 第60页
- 第61页
- 第62页
- 第63页
- 第64页
- 第65页
- 第66页
- 第67页
- 第68页
- 第69页
- 第70页
- 第71页
- 第72页
- 第73页
- 第74页
- 第75页
- 第76页
- 第77页
- 第78页
- 第79页
- 第80页
- 第81页
- 第82页
- 第83页
- 第84页
- 第85页
- 第86页
- 第87页
- 第88页
- 第89页
- 第90页
- 第91页
- 第92页
- 第93页
- 第94页
- 第95页
- 第96页
- 第97页
- 第98页
- 第99页
- 第100页
- 第101页
- 第102页
- 第103页
- 第104页
- 第105页
- 第106页
- 第107页
- 第108页
- 第109页
- 第110页
- 第111页
- 第112页
5. [物理与工程]如图甲,我国敦煌的塔式光热电站通过平面镜把太阳光反射后会聚到吸热塔,为解释这一原理,我们假设S点为太阳,平面镜如此放置时,反射光线刚好可以射到A点,请在图乙中完成太阳S发出的光经镜子反射到达吸热器A的光路图.

答案:
5.如图所示.
5.如图所示.
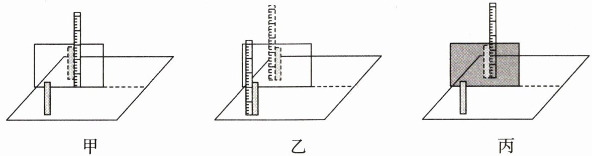
6. (2025年佛山市一模)在“探究平面镜成像特点”的实验中,同学们通过小组讨论提出了三种测量像的大小的方案.
方案一:用刻度尺紧贴平面镜,测量像的高度,如图甲所示.
方案二:用刻度尺紧贴物体,通过平面镜中的“刻度尺”测量像的高度,如图乙所示.
方案三:将平面镜换成玻璃板,在玻璃板后移动刻度尺,直至刻度尺紧贴像,测量像的高度,如图丙所示.

(1) 方案一中,像的高度测量值比真实值偏
(2) 你认为方案二
(3) 方案三,换用玻璃板是为了确定虚像的
(4) 小明利用方案三测出了如表所示数据:

分析数据,可得出结论:
方案一:用刻度尺紧贴平面镜,测量像的高度,如图甲所示.
方案二:用刻度尺紧贴物体,通过平面镜中的“刻度尺”测量像的高度,如图乙所示.
方案三:将平面镜换成玻璃板,在玻璃板后移动刻度尺,直至刻度尺紧贴像,测量像的高度,如图丙所示.
(1) 方案一中,像的高度测量值比真实值偏
小
,原因是像的下端没有与刻度尺的零刻度线对齐
.(2) 你认为方案二
小
(填“合理”或“不合理”),请说明理由:像的下端没有与刻度尺的零刻度线对齐
.(3) 方案三,换用玻璃板是为了确定虚像的
小
.此方案中像的下端没有与刻度尺的零刻度线对齐
(填“需要”或“不需要”)透过玻璃板读数.(4) 小明利用方案三测出了如表所示数据:
分析数据,可得出结论:
平面镜成的像大小不变
.
答案:
6.
(1)小 像的下端没有与刻度尺的零刻度线对齐
(2)不合理 平面镜中的“刻度尺”是虚像
(3)位置 需要
(4)平面镜成的像大小不变
(1)小 像的下端没有与刻度尺的零刻度线对齐
(2)不合理 平面镜中的“刻度尺”是虚像
(3)位置 需要
(4)平面镜成的像大小不变
7. 有一光线与水平面成$ 60^{\circ} $角入射,经一平面镜反射后,反射光线沿水平方向射出,此平面镜与水平面的夹角(锐角)可能为
30°或60°
.
答案:
7.30°或60°
查看更多完整答案,请扫码查看