第51页
- 第1页
- 第2页
- 第3页
- 第4页
- 第5页
- 第6页
- 第7页
- 第8页
- 第9页
- 第10页
- 第11页
- 第12页
- 第13页
- 第14页
- 第15页
- 第16页
- 第17页
- 第18页
- 第19页
- 第20页
- 第21页
- 第22页
- 第23页
- 第24页
- 第25页
- 第26页
- 第27页
- 第28页
- 第29页
- 第30页
- 第31页
- 第32页
- 第33页
- 第34页
- 第35页
- 第36页
- 第37页
- 第38页
- 第39页
- 第40页
- 第41页
- 第42页
- 第43页
- 第44页
- 第45页
- 第46页
- 第47页
- 第48页
- 第49页
- 第50页
- 第51页
- 第52页
- 第53页
- 第54页
- 第55页
- 第56页
- 第57页
- 第58页
- 第59页
- 第60页
- 第61页
- 第62页
- 第63页
- 第64页
- 第65页
- 第66页
- 第67页
- 第68页
15. 如图12所示,以O为支点用撬棒撬石头,画出作用在A点的最小动力F的示意图。

答案:
如答图1所示
如答图1所示
16. 浸没在水中的物体,上表面受到水的压力大小为6N,下表面受到水的压力大小为10N,请在图13中画出物体受到的浮力$F_{浮}$的示意图。

答案:
如答图2所示
如答图2所示
17. 下表是小明在“探究重力的大小跟质量的关系”实验中得到的实验数据。

(1) 实验中,需要的测量工具是天平和____。
(2) 表中第一行A处缺少的栏目是____;分析表中数据,可以得到的结论是:物体的重力与质量成____。
(3) 根据实验数据画出的G-m图像如图14所示,该小组实验过程可能存在的问题是____。

(1) 实验中,需要的测量工具是天平和____。
(2) 表中第一行A处缺少的栏目是____;分析表中数据,可以得到的结论是:物体的重力与质量成____。
(3) 根据实验数据画出的G-m图像如图14所示,该小组实验过程可能存在的问题是____。
答案:
(1)弹簧测力计
(2)$\frac {G}{m}/(N\cdot kg^{-1})$ 正比
(3)弹簧测力计使用前未调零
(1)弹簧测力计
(2)$\frac {G}{m}/(N\cdot kg^{-1})$ 正比
(3)弹簧测力计使用前未调零
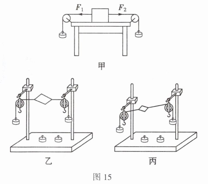
18. 在“探究二力平衡条件”的实验中,小明设置的实验装置如图15甲所示,实验中钩码的质量相同。

(1) 实验是通过____来改变木块受到的拉力大小的。
(2) 实验时,在左、右两侧同时挂上等重的钩码,这时木块保持静止;但小明在实验时发现,若在左、右两侧同时挂上不等重的钩码,木块仍然保持静止,则产生这一现象的原因是____。
(3) 现保持$F_{1}与F_{2}$的大小相等,将木块换成小车,然后扭转一个角度,松手后,小车将发生转动,据此可以得出二力平衡时需要满足的一个条件是____。
(4) 小红设计了如图15乙所示的装置探究,同学们认为小红的实验优于小明的实验,其主要原因是____。用剪刀从小卡片的中间将小卡片剪开,可以探究相互平衡的两个力需要满足的条件是____。如果两个滑轮安装成不同的高度,如图15丙所示,该装置____(填“能”或“不能”)探究二力平衡的条件。
(1) 实验是通过____来改变木块受到的拉力大小的。
(2) 实验时,在左、右两侧同时挂上等重的钩码,这时木块保持静止;但小明在实验时发现,若在左、右两侧同时挂上不等重的钩码,木块仍然保持静止,则产生这一现象的原因是____。
(3) 现保持$F_{1}与F_{2}$的大小相等,将木块换成小车,然后扭转一个角度,松手后,小车将发生转动,据此可以得出二力平衡时需要满足的一个条件是____。
(4) 小红设计了如图15乙所示的装置探究,同学们认为小红的实验优于小明的实验,其主要原因是____。用剪刀从小卡片的中间将小卡片剪开,可以探究相互平衡的两个力需要满足的条件是____。如果两个滑轮安装成不同的高度,如图15丙所示,该装置____(填“能”或“不能”)探究二力平衡的条件。
答案:
(1)改变钩码的数量
(2)木块与桌面之间存在较大的摩擦力
(3)相互平衡的两个力一定在同一直线上
(4)减小摩擦力对实验结果的影响 相互平衡的两个力作用在同一物体上 能
(1)改变钩码的数量
(2)木块与桌面之间存在较大的摩擦力
(3)相互平衡的两个力一定在同一直线上
(4)减小摩擦力对实验结果的影响 相互平衡的两个力作用在同一物体上 能
查看更多完整答案,请扫码查看