2025年综合应用创新题典中点九年级物理下册鲁科版
注:目前有些书本章节名称可能整理的还不是很完善,但都是按照顺序排列的,请同学们按照顺序仔细查找。练习册 2025年综合应用创新题典中点九年级物理下册鲁科版 答案主要是用来给同学们做完题方便对答案用的,请勿直接抄袭。
第67页
- 第1页
- 第2页
- 第3页
- 第4页
- 第5页
- 第6页
- 第7页
- 第8页
- 第9页
- 第10页
- 第11页
- 第12页
- 第13页
- 第14页
- 第15页
- 第16页
- 第17页
- 第18页
- 第19页
- 第20页
- 第21页
- 第22页
- 第23页
- 第24页
- 第25页
- 第26页
- 第27页
- 第28页
- 第29页
- 第30页
- 第31页
- 第32页
- 第33页
- 第34页
- 第35页
- 第36页
- 第37页
- 第38页
- 第39页
- 第40页
- 第41页
- 第42页
- 第43页
- 第44页
- 第45页
- 第46页
- 第47页
- 第48页
- 第49页
- 第50页
- 第51页
- 第52页
- 第53页
- 第54页
- 第55页
- 第56页
- 第57页
- 第58页
- 第59页
- 第60页
- 第61页
- 第62页
- 第63页
- 第64页
- 第65页
- 第66页
- 第67页
- 第68页
15. 科学思维 发散思维 如图是老师在物理课上做的热机工作原理的模拟实验,在玻璃管中先加入少量酒精,将橡皮塞放入玻璃管并向下压缩气体,然后用电子点火器点火,橡皮塞会向上弹出。
(1)橡皮塞向下压时,其能量转化与汽油机工作四冲程中的________冲程相同。
(2)如果想让橡皮塞弹得更远,你的方法是________________________(答出一条即可)。
(1)橡皮塞向下压时,其能量转化与汽油机工作四冲程中的________冲程相同。
(2)如果想让橡皮塞弹得更远,你的方法是________________________(答出一条即可)。
答案:
(1)压缩
(2)橡皮塞下压更长距离(合理即可)
(1)压缩
(2)橡皮塞下压更长距离(合理即可)
16. 某台汽油机飞轮的转速为2 400 r/min,在1 s内,汽油机完成了________个工作循环。如果汽油机在一段时间内消耗了500 g汽油,其效率为30%,对外做功________J。(q汽油 = 4.6×10⁷ J/kg)
答案:
20;$6.9×10^{6}$ [点拨]四冲程汽油机的飞轮转速为2400r/min,即40r/s,即在1s内飞轮转40r;因为飞轮每转2r完成一个工作循环,所以,在1s内,汽油机完成了20个工作循环。汽油质量$m = 500\text{ g}=0.5\text{ kg}$,则汽油完全燃烧放出的热量$Q_{放}=mq_{汽油}=0.5\text{ kg}×4.6×10^{7}\text{ J/kg}=2.3×10^{7}\text{ J}$,由$\eta=\frac{W}{Q_{放}}$可得,汽油机对外做的功$W = Q_{放}\eta=2.3×10^{7}\text{ J}×30\% = 6.9×10^{6}\text{ J}$。
17. 科学思维 科学探究 【探究名称】探究不同燃料燃烧放热能力的差异。
【证据】小明设计了如图甲、乙所示的两组实验,实验装置完全相同,且两种燃料燃烧时均匀放热。
【解释】(1)实验装置的组装顺序应该是________(填“自上而下”或“自下而上”)。
(2)实验是通过燃料1、2燃烧完后________来比较燃料放出热量的多少的。
【交流】(3)为保证实验结论的可靠性,本实验中要保证装置甲、乙所用的水和燃料的________相等。
(4)如图丙是燃料1、2燃烧过程中,水的温度随时间变化的关系图象。根据图象可知,燃料1放出的热量________(填“>”“<”或“=”)燃料2放出的热量,燃料________的热值大。
【拓展】(5)首先利用公式Q = cmΔt计算出水吸收的热量,然后利用这个热量和公式Q = qm计算出燃料的热值,发现计算结果与资料中的数据相比偏________(填“大”或“小”),你认为出现这种情况的原因是______________________________。
【证据】小明设计了如图甲、乙所示的两组实验,实验装置完全相同,且两种燃料燃烧时均匀放热。
【解释】(1)实验装置的组装顺序应该是________(填“自上而下”或“自下而上”)。
(2)实验是通过燃料1、2燃烧完后________来比较燃料放出热量的多少的。
【交流】(3)为保证实验结论的可靠性,本实验中要保证装置甲、乙所用的水和燃料的________相等。
(4)如图丙是燃料1、2燃烧过程中,水的温度随时间变化的关系图象。根据图象可知,燃料1放出的热量________(填“>”“<”或“=”)燃料2放出的热量,燃料________的热值大。
【拓展】(5)首先利用公式Q = cmΔt计算出水吸收的热量,然后利用这个热量和公式Q = qm计算出燃料的热值,发现计算结果与资料中的数据相比偏________(填“大”或“小”),你认为出现这种情况的原因是______________________________。
答案:
(1)自下而上
(2)水升高的温度
(3)质量
(4)>;1
(5)小;燃料不可能完全燃烧且燃烧产生的热量不能完全被水吸收,存在热损失
[点拨]
(4)由图丙可知,燃料燃烧完时,燃料1使水升温更多,说明燃料1放出的热量大于燃料2放出的热量,又因为燃料1和燃料2的质量相同,故燃料1的热值大。
(1)自下而上
(2)水升高的温度
(3)质量
(4)>;1
(5)小;燃料不可能完全燃烧且燃烧产生的热量不能完全被水吸收,存在热损失
[点拨]
(4)由图丙可知,燃料燃烧完时,燃料1使水升温更多,说明燃料1放出的热量大于燃料2放出的热量,又因为燃料1和燃料2的质量相同,故燃料1的热值大。
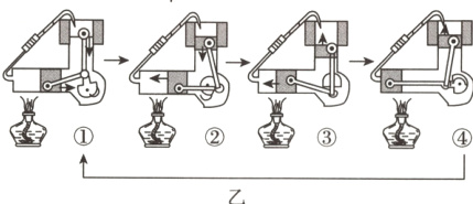
18. 新考法 解释说明 英国物理学家斯特林于1816年发明了“斯特林发动机”。斯特林发动机汽缸内工作介质易汽化、易液化,该介质经过吸热膨胀,冷却压缩的循环过程输出动力,因此又被称为热气机。某工程师按照“斯特林发动机”原理设计了如图甲所示的模型机,工作过程中飞轮持续旋转如图乙。请结合所学知识解释飞轮能持续转动的工作原理。
答案:
[解]酒精灯加热将化学能转化为内能,热汽缸中的工作介质吸热汽化膨胀,推动活塞A向右运动做功,将内能转化为机械能。由于飞轮具有惯性,带动活塞A向左运动,活塞A将汽缸中的工作介质推入冷汽缸并液化,活塞B又将物质推回热汽缸。如此反复。
查看更多完整答案,请扫码查看