2025年综合应用创新题典中点九年级物理下册鲁科版
注:目前有些书本章节名称可能整理的还不是很完善,但都是按照顺序排列的,请同学们按照顺序仔细查找。练习册 2025年综合应用创新题典中点九年级物理下册鲁科版 答案主要是用来给同学们做完题方便对答案用的,请勿直接抄袭。
第1页
- 第1页
- 第2页
- 第3页
- 第4页
- 第5页
- 第6页
- 第7页
- 第8页
- 第9页
- 第10页
- 第11页
- 第12页
- 第13页
- 第14页
- 第15页
- 第16页
- 第17页
- 第18页
- 第19页
- 第20页
- 第21页
- 第22页
- 第23页
- 第24页
- 第25页
- 第26页
- 第27页
- 第28页
- 第29页
- 第30页
- 第31页
- 第32页
- 第33页
- 第34页
- 第35页
- 第36页
- 第37页
- 第38页
- 第39页
- 第40页
- 第41页
- 第42页
- 第43页
- 第44页
- 第45页
- 第46页
- 第47页
- 第48页
- 第49页
- 第50页
- 第51页
- 第52页
- 第53页
- 第54页
- 第55页
- 第56页
- 第57页
- 第58页
- 第59页
- 第60页
- 第61页
- 第62页
- 第63页
- 第64页
- 第65页
- 第66页
- 第67页
- 第68页
1. [2024·长春] 下列能被磁体吸引的物体是( )
A. 铁钉
B. 铜线
C. 金币
D. 铝箔
A. 铁钉
B. 铜线
C. 金币
D. 铝箔
答案:
A
2. 关于条形磁体,下列说法中不正确的是( )
A. 条形磁体是用铁棒制成的
B. 条形磁体两端磁性最强,中间最弱
C. 把条形磁体分成两段,每段仍有两个磁极
D. 把条形磁体用绳子悬挂起来,静止后能指南北
A. 条形磁体是用铁棒制成的
B. 条形磁体两端磁性最强,中间最弱
C. 把条形磁体分成两段,每段仍有两个磁极
D. 把条形磁体用绳子悬挂起来,静止后能指南北
答案:
A 【点拨】天然磁铁矿石或者铁、钴、镍等物质都可以做成条形磁体,故 A 符合题意。
3. [2024·聊城二模] 下列关于磁场和磁感线的说法,正确的是( )
A. 磁场看不见摸不着,实际不存在,是人们假想出来的一种物质
B. 磁感线的疏密程度能反映磁场的强弱程度
C. 在磁场中小磁针静止时南极所指的方向就是该点的磁场方向
D. 磁体外部的磁感线都是从S极出来回到N极
A. 磁场看不见摸不着,实际不存在,是人们假想出来的一种物质
B. 磁感线的疏密程度能反映磁场的强弱程度
C. 在磁场中小磁针静止时南极所指的方向就是该点的磁场方向
D. 磁体外部的磁感线都是从S极出来回到N极
答案:
B 【点拨】磁体周围存在磁场,但磁场是看不见摸不着的,故 A 错误;磁感线有疏密之分,可以表示磁场的强弱,磁感线越密表示磁场越强,故 B 正确;磁场中小磁针自由静止时,北极所指的方向就是该点的磁场方向,故 C 错误;在磁体外部磁感线是从 N 极出发回到 S 极的,故 D 错误。故选 B。
4. [多选] 下列四个图分别画出了磁体的两个磁极间的磁感线,其中正确的是( )
答案:
BC 【点拨】由磁感线的特点可知,磁感线具有方向性,在磁体的外部,磁感线从磁体的 N 极出发回到 S 极,故 BC 正确。
5. 跨学科 学科综合 若假想地磁场是由地球内部一块大磁体产生的,如图所示的四个示意图中,能合理描述这块大磁体的是( )
答案:
B
6. [2024·广州一模] 一条形磁体附近有一个小磁针,小磁针静止时的指向如图甲所示。则图甲中小磁针的N极在________(填“左”或“右”)侧;若此条形磁体断成两部分,把小磁针放在其中一部分旁,如图乙所示,则小磁针将________(填“顺时针”或“逆时针”)转动后静止。
答案:
左;顺时针
7. 在弹簧测力计下端吊一块条形磁体A,并且位于另一条形磁体B的上方,如图所示,图中弹簧测力计的示数为________N,此示数________(填“大于”“等于”或“小于”)磁体A的重力;将弹簧测力计水平向右移动至B最右端时,弹簧测力计示数的变化情况是________。
答案:
1.8;小于;逐渐变大【点拨】由图可知,弹簧测力计的分度值是 0.2 N,弹簧测力计的示数是 1.8 N,磁体 A 的下端是 N 极,磁体 B 的左端是 N 极,两个 N 极相互排斥,故弹簧测力计的示数小于磁体 A 的重力。弹簧测力计水平向右移动至 B 最右端时,两块磁体间由相互排斥变为相互吸引,磁体对弹簧测力计的拉力逐渐变大,故弹簧测力计的示数逐渐变大。
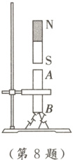
8. 母题 教材P3图16 - 1 - 4 将一软铁棒夹在铁架台上,它并不能吸引台上的大头针,说明软铁棒________(填“有”或“没有”)磁性。把一条形磁体按如图所示靠近软铁棒的A端,可观察到其B端能吸引大头针,这一现象叫做________,B端应是________极。
答案:
没有;磁化;S
9. [2024·济宁模拟] 磁体旁的小磁针静止时所指的方向如图所示,请在括号中标出磁体的磁极,并标出图中磁感线的方向。
答案:
【解】如图所示。
【解】如图所示。
查看更多完整答案,请扫码查看