第52页
- 第4页
- 第5页
- 第6页
- 第7页
- 第8页
- 第9页
- 第10页
- 第11页
- 第12页
- 第13页
- 第14页
- 第15页
- 第16页
- 第17页
- 第18页
- 第19页
- 第20页
- 第21页
- 第22页
- 第23页
- 第24页
- 第25页
- 第26页
- 第27页
- 第28页
- 第29页
- 第30页
- 第31页
- 第32页
- 第33页
- 第34页
- 第35页
- 第36页
- 第37页
- 第38页
- 第39页
- 第40页
- 第41页
- 第42页
- 第43页
- 第44页
- 第45页
- 第46页
- 第47页
- 第48页
- 第49页
- 第50页
- 第51页
- 第52页
- 第53页
- 第54页
- 第55页
- 第56页
- 第57页
- 第58页
- 第59页
- 第60页
- 第61页
- 第62页
- 第63页
- 第64页
- 第65页
- 第66页
- 第67页
- 第68页
- 第69页
1.如图所示,小磁针在条形磁体的作用下处于静止状态,请标出小磁针的 N 极和条形磁体磁感线的方向。

答案:

2.如图所示,请根据两条形磁体磁感线的分布情况,在括号中标出磁体的 N 极和 S 极。

答案:

3.如图所示,请根据磁感线的方向,标出磁体 a 端的磁极名称和小磁针的 S 极。

答案:

4.请在图中标出蹄形磁体的 N、S 极和磁感线的方向。

答案:

5.地球周围存在着磁场,如图所示,请在 A、B 的方框中标出地磁场的 N、S 极,并在 C、D 的方框中标出小磁针静止时的 N、S 极。

答案:

6.(2023·黑龙江绥化中考)请在图中标出通电螺线管的 N 极,并在 P 点用箭头标出通电螺线管磁感线的方向。

答案:

7.(2023·四川凉山州中考)如图所示,电流表正确连接在电路中,通电时请在括号中标出电源的正、负极及小磁针静止时的 N 极。

答案:

8.(2023·甘肃兰州中考)如图所示,小磁针左侧为通电螺线管,右侧为条形磁体,请根据小磁针的 N 极指向,标出条形磁体的磁极,并用箭头标出磁感线的方向和通电螺线管中的电流方向。

答案:

9.根据小磁针静止时所指的方向,在图中画出通过小磁针中心的一条磁感线,并标出电源的正极。

答案:

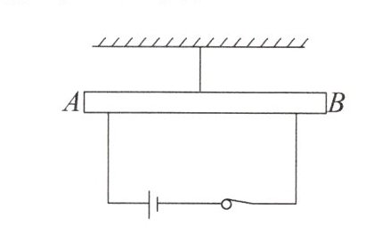
10.将一个通电螺线管 AB 用单线悬挂起来,如图所示,最后静止时 A 端指南、B 端指北。画出通电螺线管上的导线环绕方式,并在通电螺线管两端标出 N、S 极。

答案:

11.如图所示,小磁针静止在甲、乙两个通电螺线管之间,请你完成:
(1)甲通电螺线管的绕法和 A 处磁感线的方向;
(2)乙通电螺线管电源的正、负极。

(1)甲通电螺线管的绕法和 A 处磁感线的方向;
(2)乙通电螺线管电源的正、负极。
答案:

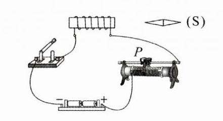
12.如图所示,用笔画线代替导线将电路连接完整,并在括号中标出小磁针静止时右端的磁极名称(要求:闭合开关,移动滑片 P 时,螺线管磁性强弱改变)。

答案:

13.(2023·辽宁营口中考)某温度自动报警器的原理图如图所示。电磁铁上端为 N 极,在水银温度计中封入一段金属丝。当温度低于设定温度时,安全指示灯常亮;当温度达到设定温度时,安全指示灯熄灭,电铃发出报警信号。请在括号中标出电源的极性(用“+”或“-”表示),并在虚线框内填入电铃(ⓜ)和指示灯的电路元件符号。

答案:

14.下图是某小区利用太阳能给 LED 路灯供电的自动控制电路的原理示意图,其中,光敏电阻的阻值随光照强度的增强而减小。白天,该装置通过太阳能电池板给蓄电池充电;晚上,蓄电池给 LED 路灯提供电能,使其发光照明。试将电路连接完整。

答案:

查看更多完整答案,请扫码查看