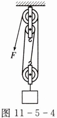
11. 如图11-5-4所示滑轮组,重物G= 12牛,每个滑轮重3牛,人用拉力F在2秒内把物体匀速提高了3米,不计绳重和滑轮轴处摩擦。求:

(1)人做的有用功是多少?
(2)人的拉力F为多少牛?
(3)滑轮组机械效率为多少?额外功为多少?
(4)物体上升的速度为多少,人拉绳子的速度为多少?
(1)人做的有用功是多少?
(2)人的拉力F为多少牛?
(3)滑轮组机械效率为多少?额外功为多少?
(4)物体上升的速度为多少,人拉绳子的速度为多少?
答案:
解:$W_{有}=Gh={ 12 }\ \text {N}×{ 3 }\ \text {m}={ 36 }\ \text {J}$
解:$F=\frac 13(G+G_{动})=\frac 13×(12\ \text {N}+3\ \text {N})=5\ \text {N}$
解:$η=\frac G{3F}=\frac {12\ \text {N}}{3×5\ \text {N}}×100\%=80\%$
$ W_{额}=G_{动}h={ 3 }\ \text {N}×{ 3 }\ \text {m}={ 9 }\ \text {J}$
解:$v_{物}=\frac{h}{t}=\frac{3m}{2s}=1.5m/s$
$s_{绳}=3h=3×3\ \text {m}=9\ \text {m}$
$ v_{绳}=\frac {s_{绳}}t=\frac {{ 9 }\ \text {m}}{{ 2 }\ \text {s}}={ 4.5 }\ \text {m/s}$
解:$F=\frac 13(G+G_{动})=\frac 13×(12\ \text {N}+3\ \text {N})=5\ \text {N}$
解:$η=\frac G{3F}=\frac {12\ \text {N}}{3×5\ \text {N}}×100\%=80\%$
$ W_{额}=G_{动}h={ 3 }\ \text {N}×{ 3 }\ \text {m}={ 9 }\ \text {J}$
解:$v_{物}=\frac{h}{t}=\frac{3m}{2s}=1.5m/s$
$s_{绳}=3h=3×3\ \text {m}=9\ \text {m}$
$ v_{绳}=\frac {s_{绳}}t=\frac {{ 9 }\ \text {m}}{{ 2 }\ \text {s}}={ 4.5 }\ \text {m/s}$
12. 如图11-5-5所示,用手通过一个弹簧测力计,沿竖直方向匀速拉一个动滑轮,使挂在动滑轮下的钩码缓慢上升。

(1)在动滑轮匀速缓缓上升的过程中,弹簧测力计的示数是
(2)手移动距离s与钩码上升高度h之间的关系是
(3)以上过程中,拉力做的额外功有
(1)在动滑轮匀速缓缓上升的过程中,弹簧测力计的示数是
稳定不变的
(填“不断变化着的”或“稳定不变的”)。(2)手移动距离s与钩码上升高度h之间的关系是
s=2h
。(3)以上过程中,拉力做的额外功有
克服动滑轮重做的功
(填一条即可),若动滑轮重$G_{1}$,钩码重$G_{2}$,弹簧测力计的示数为F,则动滑轮的机械效率可用字母表示为$\frac {G_2}{2F}×100\%$
。
答案:
稳定不变的
s=2h
克服动滑轮重做的功
$ \frac {G_2}{2F}×100\%$
稳定不变的
s=2h
克服动滑轮重做的功
$ \frac {G_2}{2F}×100\%$
13. 如图所示,小明分别使用甲、乙图中两种不同的机械将同一物体M匀速提升同样高度。测得两次拉力$F_{甲}$、$F_{乙}$和物体M所受的重力$G_{M}$如下表所示。

(1)从表中数据可知:甲机械
(2)若已知乙图中物体M上升的速度为0.05m/s,在10s内,乙机械拉力$F_{乙}$的功率为0.8W,求拉力$F_{乙}$做的功
(3)求乙机械提升物体M时的机械效率
(1)从表中数据可知:甲机械
费力
(填“省力”“费力”或“不省力也不费力”),甲机械所做的有用功等于
(填“大于”“等于”或“小于”)乙机械所做的有用功;(2)若已知乙图中物体M上升的速度为0.05m/s,在10s内,乙机械拉力$F_{乙}$的功率为0.8W,求拉力$F_{乙}$做的功
8J
。(3)求乙机械提升物体M时的机械效率
62.5%
。
答案:
(1)
因为$F_{甲}=12N\gt G_{M}=10N$,所以甲机械费力;
根据$W_{有}=Gh$,将同一物体$M$匀速提升同样高度,甲机械所做的有用功等于乙机械所做的有用功。
(2)
根据$P = \frac{W}{t}$,可得$W = Pt$,已知$P = 0.8W$,$t = 10s$,则$W_{乙}=Pt=0.8W×10s = 8J$。
(3)
由$v=\frac{h}{t}$可得,物体$M$上升的高度$h = vt=0.05m/s×10s = 0.5m$;
$W_{有}=G_{M}h=10N×0.5m = 5J$;
根据$\eta=\frac{W_{有}}{W_{总}}×100\%$,$W_{总}=W_{乙}=8J$,所以$\eta=\frac{5J}{8J}×100\% = 62.5\%$。
答案依次为:
(1) 费力;等于;
(2) $8J$;
(3) $62.5\%$。
(1)
因为$F_{甲}=12N\gt G_{M}=10N$,所以甲机械费力;
根据$W_{有}=Gh$,将同一物体$M$匀速提升同样高度,甲机械所做的有用功等于乙机械所做的有用功。
(2)
根据$P = \frac{W}{t}$,可得$W = Pt$,已知$P = 0.8W$,$t = 10s$,则$W_{乙}=Pt=0.8W×10s = 8J$。
(3)
由$v=\frac{h}{t}$可得,物体$M$上升的高度$h = vt=0.05m/s×10s = 0.5m$;
$W_{有}=G_{M}h=10N×0.5m = 5J$;
根据$\eta=\frac{W_{有}}{W_{总}}×100\%$,$W_{总}=W_{乙}=8J$,所以$\eta=\frac{5J}{8J}×100\% = 62.5\%$。
答案依次为:
(1) 费力;等于;
(2) $8J$;
(3) $62.5\%$。
查看更多完整答案,请扫码查看