8. 一轻质不等臂杠杆$AOB$的左右两端分别吊着一实心铝块和铜块,此时杠杆在水平位置平衡。现将铝块、铜块同时浸没在水中,如图所示。已知$\rho_{水}= 1.0×10^{3}kg/m^{3}$,$\rho_{铝}= 2.7×10^{3}kg/m^{3}$,$\rho_{铜}= 8.9×10^{3}kg/m^{3}$,则下列判断正确的是()

A.$A$端下降
B.$B$端下降
C.仍然平衡
D.无法判断
A.$A$端下降
B.$B$端下降
C.仍然平衡
D.无法判断
答案:
B
9. 明代学者宋应星著有《天工开物》。如图所示,是书中描绘古代劳动人民用桔槔汲水的场景。桔槔属于____(填“杠杆”“滑轮”或“轮轴”),使用时,机械效率$\eta$____(填“$>$”“$<$”或“$=$”)$1$。

答案:
杠杆;$<$
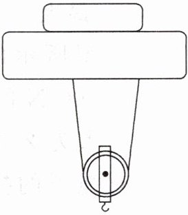
10. 用如图所示的电动起重机将$3000N的货物提高4m$,起重机对货物做的有用功是____$J$;它的电动机功率为$3000W$,此过程用时$10s$,起重机的机械效率为____$\%$;若减小动滑轮的重力,起重机的机械效率将变____。

答案:
$12000$;$40$;大
11. 杆秤是民间的一种测量工具,使用时将待测物体挂在秤钩$A$上,用手拎住称钮$B或C$(相当于支点),秤砣$D在称杆E$上移动,当杠杆水平平衡时就可以在杠杆上读出读数。
(1)从科学的角度来看,杆秤应该是一种测量____大小的工具;
(2)根据杠杆平衡的条件分析,使用杆秤时,当从秤钮$B换到秤纽C$时,杠杆的最大测量值将____。(填“变大”“变小”或“不变”)

(1)从科学的角度来看,杆秤应该是一种测量____大小的工具;
(2)根据杠杆平衡的条件分析,使用杆秤时,当从秤钮$B换到秤纽C$时,杠杆的最大测量值将____。(填“变大”“变小”或“不变”)
答案:
(1) 质量
(2) 变大
(1) 质量
(2) 变大
12. 某同学锻炼时,双脚并拢,脚尖$O$触地,脚后跟踮起,手掌支撑在竖直墙壁上,手臂水平,$A$为人体重心所在位置,此时墙壁对手掌的支撑力$F$如图所示,不计墙壁对手掌的摩擦力($g取10N/kg$)。
(1)以$O$为支点,请在图中作出力$F的力臂L$。
(2)该同学质量为$50kg$,则墙壁对人的支撑力约为____$N$。
(3)若增大脚尖与墙壁的距离,手臂仍然水平支撑在墙壁上,支撑力$F$如何变化?____,并说明理由:____。

(1)以$O$为支点,请在图中作出力$F的力臂L$。
(2)该同学质量为$50kg$,则墙壁对人的支撑力约为____$N$。
(3)若增大脚尖与墙壁的距离,手臂仍然水平支撑在墙壁上,支撑力$F$如何变化?____,并说明理由:____。
答案:
【解析】:
###
(1) 作力$F$的力臂$L$
力臂是从支点到力的作用线的垂直距离。过支点$O$作力$F$作用线的垂线段,即为力$F$的力臂$L$(同学们可根据此描述在图中画出)。
###
(2) 计算墙壁对人的支撑力$F$
首先计算该同学的重力$G$:根据$G = mg$(其中$m = 50kg$,$g = 10N/kg$),可得$G=mg = 50kg×10N/kg = 500N$。
然后根据杠杆平衡条件$F_{1}L_{1}=F_{2}L_{2}$(设重力的力臂为$L_{G}$,从图中大致估算$L$与$L_{G}$的比例关系,$L$约为$L_{G}$的$3$倍 )。
由$FL = GL_{G}$,可得$F=\frac{GL_{G}}{L}$,因为$L\approx3L_{G}$,所以$F=\frac{G}{3}=\frac{500N}{3}\approx167N$。
###
(3) 分析增大脚尖与墙壁距离时支撑力$F$的变化
若增大脚尖与墙壁的距离,手臂仍然水平支撑在墙壁上,根据几何关系可知,力$F$的力臂$L$变小,重力$G$不变,重力的力臂$L_{G}$变大。
根据杠杆平衡条件$FL = GL_{G}$,$G$不变,$L_{G}$变大,$L$变小,所以$F$变大。
【答案】:
(1) 同学们按上述方法画出力臂$L$。
(2) $167$
(3) 变大;根据杠杆平衡条件$FL = GL_{G}$,$G$不变,$L_{G}$变大,$L$变小,所以$F$变大 。
###
(1) 作力$F$的力臂$L$
力臂是从支点到力的作用线的垂直距离。过支点$O$作力$F$作用线的垂线段,即为力$F$的力臂$L$(同学们可根据此描述在图中画出)。
###
(2) 计算墙壁对人的支撑力$F$
首先计算该同学的重力$G$:根据$G = mg$(其中$m = 50kg$,$g = 10N/kg$),可得$G=mg = 50kg×10N/kg = 500N$。
然后根据杠杆平衡条件$F_{1}L_{1}=F_{2}L_{2}$(设重力的力臂为$L_{G}$,从图中大致估算$L$与$L_{G}$的比例关系,$L$约为$L_{G}$的$3$倍 )。
由$FL = GL_{G}$,可得$F=\frac{GL_{G}}{L}$,因为$L\approx3L_{G}$,所以$F=\frac{G}{3}=\frac{500N}{3}\approx167N$。
###
(3) 分析增大脚尖与墙壁距离时支撑力$F$的变化
若增大脚尖与墙壁的距离,手臂仍然水平支撑在墙壁上,根据几何关系可知,力$F$的力臂$L$变小,重力$G$不变,重力的力臂$L_{G}$变大。
根据杠杆平衡条件$FL = GL_{G}$,$G$不变,$L_{G}$变大,$L$变小,所以$F$变大。
【答案】:
(1) 同学们按上述方法画出力臂$L$。
(2) $167$
(3) 变大;根据杠杆平衡条件$FL = GL_{G}$,$G$不变,$L_{G}$变大,$L$变小,所以$F$变大 。
13. 植树节当天,学校初二年级开展植树活动。同学们分工合作,如图甲,小高正在用铁锹铲土。将铁锹视为杠杆,$O$为支点,请在图乙中画出:①手在$A处施加的最小动力F$的示意图;②$F的力臂L$。

答案:
【解析】:
1. 要使动力最小,根据杠杆平衡条件$F_{1}L_{1}=F_{2}L_{2}$,在阻力和阻力臂一定时,动力臂最长,动力最小。
连接$OA$,$OA$就是最长的动力臂$L$。
过$A$点作$OA$的垂线,方向向上,即为最小动力$F$的示意图。
【答案】:
①过$A$点作垂直于$OA$向上的力$F$(示意图);②连接$OA$,标出力臂$L$(示意图)。(由于是画图题,这里文字描述作图方法,实际答题按要求画出相应图形)
1. 要使动力最小,根据杠杆平衡条件$F_{1}L_{1}=F_{2}L_{2}$,在阻力和阻力臂一定时,动力臂最长,动力最小。
连接$OA$,$OA$就是最长的动力臂$L$。
过$A$点作$OA$的垂线,方向向上,即为最小动力$F$的示意图。
【答案】:
①过$A$点作垂直于$OA$向上的力$F$(示意图);②连接$OA$,标出力臂$L$(示意图)。(由于是画图题,这里文字描述作图方法,实际答题按要求画出相应图形)
查看更多完整答案,请扫码查看