2025年暑假作业新疆青少年出版社八年级物理人教版
注:目前有些书本章节名称可能整理的还不是很完善,但都是按照顺序排列的,请同学们按照顺序仔细查找。练习册 2025年暑假作业新疆青少年出版社八年级物理人教版 答案主要是用来给同学们做完题方便对答案用的,请勿直接抄袭。
18. 如图所示,现使用最小的力$F_1$使杠杆在图示位置平衡,请画出$F_1$及其对应的力臂$L_1。$

答案:
过杠杆最右端作垂直于杠杆向上的力$F_1$,连接支点$O$与力$F_1$作用点,支点$O$到$F_1$作用线的垂直距离为$L_1$(作图略,按照上述方法作图即可)。
19. 请在图中画出使轻质杠杆在图示位置平衡时所需最小动力F的示意图。

答案:
过杠杆最左端(以支点$O$到杠杆最左端距离为动力臂,此时动力臂最长)作垂直于杠杆(或垂直于支点$O$与最左端连线)且向上的力$F$,即为最小动力$F$的示意图。(因无法直接作图,按上述文字描述作图即可)
20. 在图中画出使用滑轮组提升物体时最省力的绳子绕法。

答案:
21. 节约用水,人人有责!如图甲所示是用水后及时关闭水龙头时的情景,水龙头手柄看作是一个杠杆,向下按关水,请你在图乙所示的示意图中画出阻力臂$L_2,$并画出施加在A点的最小动力$F_1。$

答案:
22. 如图甲所示是爆米花锅,锅盖被锁扣紧锁在锅口。为了方便打开锅盖,爆米花师傅在锁扣上插入一个钢管,与锁扣构成杠杆AOB,扳动钢管的A点,就能打开锁扣。图乙是其简化图,O为支点$,F_2$是阻力。请在乙图中画出打开锅盖时,阻力$F_2$的力臂$L_2$以及作用在A点的最小动力$F_1$及其力臂$L_1。$

答案:
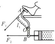
23. 如图所示是汽车液压刹车装置的一部分。该装置中AOB实为一个杠杆,O是杠杆的支点,请画出刹车时它所受的动力$F_1、$阻力$F_2$和动力臂$l_1。$

答案:
24. 如图所示,在A处或B处的虚线框内添加一个滑轮,利用三个滑轮组成滑轮组,要求使用时最省力,添加滑轮并完成滑轮组绕法。

答案:
查看更多完整答案,请扫码查看