18. 如图,三个阻值均为10Ω的电阻$R_{1}$、$R_{2}$、$R_{3}$串联后接在电压恒为U的电路中,某同学误将电流表并联在电阻$R_{2}$两端,发现电流表的示数为1.5A,据此可推知电源电压U为____V;若用电压表代替电流表并联在$R_{2}$两端,则电压表的示数为____V。

答案:
解析:由图可知,当电流表并联在$R_{2}$两端时,$R_{2}$被短路,$R_{1}$、$R_{3}$串联,电流表测电路中的电流,由欧姆定律可得,电源电压$U=I(R_{1}+R_{3})=1.5A×(10Ω+10Ω)=30V$;若将电流表换成电压表,则三个电阻串联,电压表测$R_{2}$两端的电压,由欧姆定律可得,电路中的电流$I'=\frac {U}{R_{1}+R_{2}+R_{3}}=\frac {30V}{10Ω+10Ω+10Ω}=1A$,则$R_{2}$两端的电压即电压表的示数$U_{2}=I'R_{2}=1A×10Ω=10V$.
19. 如图所示,电源电压为5V,$R_{1}= 5Ω$,$R_{2}= 10Ω$,当闭合开关后,两电表有示数且保持稳定,则甲电表的示数为____,$R_{1}与R_{2}两端的电压之比U_{1}:U_{2}= $____。

答案:
解析:电压表内阻很大,连接在电路中时可看作断路;电流表内阻很小,连接在电路中可看作一根导线.由图可知,要使两电表均有示数,两电阻应该并联,则甲为电流表、乙为电压表.电源电压$U=5V$,由并联电路的电压规律可知,$R_{1}$两端的电压$U_{1}=U=5V$,甲为电流表,测量通过$R_{1}$的电流,由欧姆定律可得,通过$R_{1}$的电流$I_{1}=\frac {U_{1}}{R_{1}}=\frac {5V}{5Ω}=1A$,即甲电表的示数为$1A$;由并联电路的电压规律可知,$R_{1}$与$R_{2}$两端的电压之比$U_{1}:U_{2}=1:1$.
20. 如图甲所示的电路中,$R_{1}$为定值电阻,$R_{2}$为滑动变阻器,电源电压为3V且保持不变。闭合开关S后,滑片P从b端移动到a端的过程中,电压表的示数U与电流表的示数I的关系图像如图乙所示,则定值电阻$R_{1}$的阻值为____Ω,滑动变阻器的最大阻值为____Ω。若$R_{1}$、$R_{2}$并联接在此电源上,则干路中的最小电流为____A。

答案:
解析:由图甲可知,闭合开关$S$,定值电阻$R_{1}$与滑动变阻器$R_{2}$串联,电压表测$R_{2}$两端的电压,电流表测电路中的电流.当滑动变阻器接入电路的阻值为0时,电路中的电流最大,由图乙可知$I_{max}=0.6A$,由$I=\frac{U}{R}$可得,$R_{1}$的电阻$R_{1}=\frac {U}{I_{max}}=\frac {3V}{0.6A}=5Ω$;当滑动变阻器接入电路的阻值最大时,电路中的电流最小,由图乙可知,$I_{min}=0.2A$,此时$R_{2}$两端的电压$U_{2}=2V$,则滑动变阻器的最大阻值$R_{2}=\frac {U_{2}}{I_{min}}=\frac {2V}{0.2A}=10Ω$;若将$R_{1}$与$R_{2}$并联接在此电源上,当滑动变阻器接入电路的阻值最大时,通过滑动变阻器的电流最小,则干路的电流最小,最小电流$I_{min}=\frac{U}{R_{1}}+\frac{U}{R_{2}}=\frac {3V}{5Ω}+\frac {3V}{10Ω}=0.9A$.
21. (2025·江苏南京月考)小强设计了一个电子身高测量仪,如图所示,其中定值电阻$R_{1}= 5Ω$,电源电压恒为4.5V,$R_{2}$的规格为“15Ω 0.5A”,电压表量程为0~3V,电流表量程为0~0.6A。当被测身高增加时,电压表的示数____(选填“增大”“减小”或“不变”)。当变阻器$R_{2}$接入电路的阻值是6.25Ω时,电流表的示数为____A。为了保证电路中各元件安全工作,变阻器接入电路的阻值范围是____Ω。

答案:
解析:由图可知,定值电阻$R_{1}$与变阻器$R_{2}$串联,电流表测电路中电流,电压表测$R_{2}$两端的电压.当被测身高增加时,$R_{2}$接入电路的阻值增大,由串联分压可知,$R_{2}$两端的电压增大,即电压表示数增大.当$R_{2}=6.25Ω$时,电路的总电阻$R=R_{1}+R_{2}=5Ω+6.25Ω=11.25Ω$,由欧姆定律可得,电路中电流$I=\frac{U}{R}=\frac {4.5V}{11.25Ω}=0.4A$.由题意知,电流表量程为$0~0.6A$,而滑动变阻器允许通过的最大电流为$0.5A$,串联电路中电流处处相等,为了保证电路中各元件安全工作,电路中的最大电流为$0.5A$,此时滑动变阻器接入电路的阻值最小,由欧姆定律可得,此时电路的总电阻$R_{总}=\frac {U}{I_{max}}=\frac {4.5V}{0.5A}=9Ω$,则滑动变阻器接入电路的最小阻值$R_{2小}=R_{总}-R_{1}=9Ω - 5Ω=4Ω$;电压表量程为$0~3V$,则滑动变阻器两端的电压最大为$U_{2大}=3V$,此时其接入电路的阻值最大,$R_{1}$两端的电压$U_{1}=U - U_{2大}=4.5V - 3V=1.5V$,电路中电流$I_{min}=\frac {U_{1}}{R_{1}}=\frac {1.5V}{5Ω}=0.3A$,则滑动变阻器接入电路的最大阻值$R_{2大}=\frac {U_{2大}}{I_{min}}=\frac {3V}{0.3A}=10Ω$.所以,滑动变阻器接入电路的阻值范围为$4~10Ω$.
22. 如图所示,电源电压保持不变,$R_{1}和R_{2}$都是定值电阻。当$S_{1}$闭合、$S_{2}$接a,滑动变阻器的滑片置于最左端时,电压表示数为6V,电流表示数为0.3A;当$S_{1}$闭合、$S_{2}$接b,滑动变阻器的滑片置于中点时,电压表示数变化了4V,电流表示数变化了0.1A。则$R_{2}$的阻值为____Ω,电源电压为____V。

答案:
解析:当$S_{1}$闭合、$S_{2}$接$a$,滑动变阻器的滑片置于最左端时,$R$接入电路的阻值最大,$R_{1}$、$R_{2}$和$R$串联,电压表测$R_{1}$、$R_{2}$两端的总电压,电流表测电路中的电流,则$R_{1}$、$R_{2}$两端的总电压$U_{12}=6V$,电路中的电流$I_{1}=0.3A$,$R_{1}$、$R_{2}$的总电阻$R_{12}=R_{1}+R_{2}=\frac {U_{12}}{I_{1}}=\frac {6V}{0.3A}=20Ω$;当$S_{1}$闭合、$S_{2}$接$b$,滑动变阻器的滑片置于中点时,$R_{1}$、$R_{2}$和$\frac{1}{2}R$串联,电压表测$R_{2}$两端的电压,电流表测电路中的电流,由于滑动变阻器接入电路的阻值变小,电路的总电阻变小,由欧姆定律可知,电路中的电流变大,则电流表示数增加了$0.1A$,此时电路中电流$I_{2}=0.3A + 0.1A=0.4A$.若电压表示数增加了$4V$,则此时$R_{2}$两端的电压$U_{2}=6V + 4V=10V$,由$I=\frac{U}{R}$可得,$R_{2}$的阻值$R_{2}=\frac {U_{2}}{I_{2}}=\frac {10V}{0.4A}=25Ω>R_{12}$,不可能发生,故电压表示数减小了$4V$,则此时$R_{2}$两端的电压$U_{2}=6V - 4V=2V$,由$I=\frac{U}{R}$可得,$R_{2}$的阻值$R_{2}=\frac {U_{2}}{I_{2}}=\frac {2V}{0.4A}=5Ω$.当$S_{1}$闭合、$S_{2}$接$a$,滑动变阻器滑片置于最左端时,电源电压$U=U_{12}+I_{1}R=6V + 0.3A×R$ ①,同理可得,当$S_{1}$闭合、$S_{2}$接$b$,滑动变阻器滑片置于中点时,电源电压$U=I_{2}(R_{12}+\frac{1}{2}R)=0.4A×(20Ω+\frac{1}{2}R)$ ②.联立①②可得,电源电压$U=12V$.
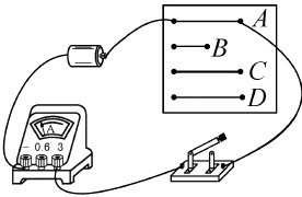
23. (8分)某学习小组在做“探究影响导体电阻大小的因素”实验时,设计了如图所示的实验装置,实验中分别将A、B、C、D四根导体接入电路,四根导体的材料、规格如表。


(1)请你在图中用一根导线将电流表正确连入电路。
(2)为比较A、B、C、D四根导体电阻的大小,可通过观察____来判断。
(3)要探究导体电阻大小与长度的关系,应选用____两根导体进行实验。
(4)将A、C两根导体分别接入电路进行实验,可得出:当导体的长度和材料相同时,横截面积越大,电阻越____。
(5)老师想改装一个滑动变阻器使其最大阻值变小,请你根据该实验结论,帮老师想出一种方法:____。
(1)请你在图中用一根导线将电流表正确连入电路。
(2)为比较A、B、C、D四根导体电阻的大小,可通过观察____来判断。
(3)要探究导体电阻大小与长度的关系,应选用____两根导体进行实验。
(4)将A、C两根导体分别接入电路进行实验,可得出:当导体的长度和材料相同时,横截面积越大,电阻越____。
(5)老师想改装一个滑动变阻器使其最大阻值变小,请你根据该实验结论,帮老师想出一种方法:____。
答案:
(1)如图所示
(2)电流表示数
(3)$A$、$B$
(4)小
(5)换用材料和横截面积相同、长度较短的电阻丝(合理即可)
(1)如图所示
(2)电流表示数
(3)$A$、$B$
(4)小
(5)换用材料和横截面积相同、长度较短的电阻丝(合理即可)
查看更多完整答案,请扫码查看