1. 长方形的面积=长×宽。如下图,这里的长指的是每行能摆( )个□,宽指的是能摆( )行。若 1 个□的面积是 1 平方米,则长方形的面积是( )×( )=( )( )(填单位)。

答案:
4@@3@@4@@3@@12@@平方米
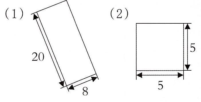
2. 计算下面各图形的面积。(单位:厘米)

答案:
(1) 20×8 = 160(平方厘米)
(2) 5×5 = 25(平方厘米)
(1) 20×8 = 160(平方厘米)
(2) 5×5 = 25(平方厘米)
3. (新情境·传统文化)围棋,古代称为“弈”,被列为“琴棋书画”之一。活动室有一块长 33 分米、宽 22 分米的长方形场地,用于交流棋艺,这块场地的面积是多少平方分米?
答案:
33×22 = 726(平方分米)
4. 一个正方形和一个长方形的面积相等,正方形的边长是 6 厘米,长方形的长是 9 厘米,那么长方形的宽是多少厘米?
答案:
6×6÷9 = 4(厘米)
5. 如图所示,在一张长方形卡片上剪下一个最大的正方形,剩下图形的面积是多少平方厘米?
答案:
25×18 - 18×18 = 126(平方厘米)
解析 在图中的长方形中剪下一个最大的正方形,那么正方形的边长等于长方形的宽,可用长方形的面积减去正方形的面积求出剩下图形的面积。
6. 用一根绳子恰好可以围成一个长 5 米、宽 3 米的长方形(没有剩余),如果用这根绳子围成一个正方形,这个正方形的面积是多少?
答案:
(5 + 3)×2 = 16(米)
16÷4 = 4(米)
4×4 = 16(平方米)
解析 用绳子围成长方形和正方形,绳子的长度是不变的,也就是说长方形的周长和正方形的周长是相等的。围成长方形时可求出长方形的周长,再求出正方形的边长,然后求出正方形的面积。
7. 一张长方形硬纸片,长是 18 厘米,宽是 7 厘米。把这张硬纸片折一下,直立放在桌子上(如图),已知底座部分(涂色部分)是一个面积为 28 平方厘米的长方形,那么直立部分的长方形的长是多少厘米?
答案:
28÷7 = 4(厘米)
18 - 4 = 14(厘米)
解析 观察题图,底座部分的长等于原来长方形硬纸片的宽,为7厘米。因为底座部分的面积是28平方厘米,所以底座部分的宽为28÷7 = 4(厘米)。这条宽边在原来长方形硬纸片的长边上,所以直立部分长方形的长是18 - 4 = 14(厘米)。
查看更多完整答案,请扫码查看