第9页
- 第2页
- 第3页
- 第4页
- 第5页
- 第6页
- 第7页
- 第8页
- 第9页
- 第10页
- 第11页
- 第12页
- 第13页
- 第14页
- 第15页
- 第16页
- 第17页
- 第18页
- 第19页
- 第20页
- 第21页
- 第22页
- 第23页
- 第24页
- 第25页
- 第26页
- 第27页
- 第28页
- 第29页
- 第30页
- 第31页
- 第32页
- 第33页
- 第34页
- 第35页
- 第36页
- 第37页
- 第38页
- 第39页
- 第40页
- 第41页
- 第42页
- 第43页
- 第44页
- 第45页
- 第46页
- 第47页
- 第48页
- 第49页
- 第50页
- 第51页
- 第52页
- 第53页
- 第54页
- 第55页
- 第56页
- 第57页
- 第58页
- 第59页
- 第60页
- 第61页
- 第62页
- 第63页
6.为了有效避免在运动时受伤,以下正确的做法是(
A.不听教师讲解动作要领,自行练习
B.穿着不合适的运动鞋
C.充分热身和拉伸
D.直接进行高强度的动作
C
)A.不听教师讲解动作要领,自行练习
B.穿着不合适的运动鞋
C.充分热身和拉伸
D.直接进行高强度的动作
答案:
6. C
7.下列结构中,与关节的牢固性没有直接关系的是(
A.关节面分为关节头和关节窝,两者十分吻合
B.关节腔内有滑液
C.关节囊由结缔组织构成
D.关节囊内外都有韧带
B
)A.关节面分为关节头和关节窝,两者十分吻合
B.关节腔内有滑液
C.关节囊由结缔组织构成
D.关节囊内外都有韧带
答案:
7. B
8.校园内的“阳光体育”活动促进了青少年的健康成长。甲、乙两图分别是关节和骨骼肌的结构示意图。下列叙述正确的是(

A.关节主要由3、4、5、6组成
B.关节的灵活性只与6有关
C.能够收缩为运动提供动力的是骨骼肌
D.一块骨骼肌由7和9固定在同一块骨上
C
)A.关节主要由3、4、5、6组成
B.关节的灵活性只与6有关
C.能够收缩为运动提供动力的是骨骼肌
D.一块骨骼肌由7和9固定在同一块骨上
答案:
8. C
9.篮球运动可以增强心肺功能、提高身体协调性。如图为双手投篮动作示意图。下列叙述正确的是(

A.投篮时骨骼肌起杠杆作用
B.图中肱三头肌先收缩再舒张
C.投篮动作仅需运动系统就能完成
D.至少两组骨骼肌相互配合才能产生运动
D
)A.投篮时骨骼肌起杠杆作用
B.图中肱三头肌先收缩再舒张
C.投篮动作仅需运动系统就能完成
D.至少两组骨骼肌相互配合才能产生运动
答案:
9. D
10.据悉,不少地区将篮球运动纳入了中考体育项目,篮球是青少年喜欢的一项体育运动。请据图回答以下问题:
(1)在篮球运动中,每个动作都需要运动系统来完成,运动系统主要由
(2)在完成图1所示从左到右的投篮动作时,肱三头肌所处的状态是由
(3)图2为关节结构示意图,该结构中决定其牢固性的主要结构是[
(4)为了使关节不受伤害,我们在体育锻炼过程中,应该怎么做?请至少写出两条建议:

(1)在篮球运动中,每个动作都需要运动系统来完成,运动系统主要由
骨
、关节和肌肉
组成。每个动作除了依靠运动系统外,还需要神经
系统的调节,而完成动作需要的能量来自细胞的呼吸
作用。(2)在完成图1所示从左到右的投篮动作时,肱三头肌所处的状态是由
舒张
到收缩
。(3)图2为关节结构示意图,该结构中决定其牢固性的主要结构是[
②
]关节囊
及其内外坚韧的韧带,与其灵活性有关的主要包括③
(填序号)内的滑液和[⑤]关节软骨
。(4)为了使关节不受伤害,我们在体育锻炼过程中,应该怎么做?请至少写出两条建议:
运动前做好准备活动(或热身)、运动强度要适当、掌握正确的运动方式和技巧等
。
答案:
10.
(1)骨 肌肉 神经 呼吸
(2)舒张 收缩
(3)② 关节囊 ③ 关节软骨
(4)运动前做好准备活动(或热身)、运动强度要适当、掌握正确的运动方式和技巧等
(1)骨 肌肉 神经 呼吸
(2)舒张 收缩
(3)② 关节囊 ③ 关节软骨
(4)运动前做好准备活动(或热身)、运动强度要适当、掌握正确的运动方式和技巧等
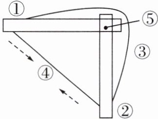
模型构建是学习生物学的一种有效策略。如图是某同学用长木板①和②、橡皮筋③和④、螺丝⑤,制作的肌肉牵拉骨运动的模型。下列叙述不正确的是(

A.①和②相当于两块骨
B.用该模型模仿屈肘动作时,③④都收缩
C.用该模型模仿屈肘动作时,⑤起支点作用
D.③④模拟的是骨骼肌
B
)A.①和②相当于两块骨
B.用该模型模仿屈肘动作时,③④都收缩
C.用该模型模仿屈肘动作时,⑤起支点作用
D.③④模拟的是骨骼肌
答案:
学科互通 B
查看更多完整答案,请扫码查看