5. 小球竖直向上运动并落回地面的过程中,先后经过A、B两点.小球在这两点的动能和重力势能如图所示,则小球在B点的(
A.动能等于在A点的
B.机械能大于在A点的
C.速度比在A点的大
D.离地高度比在A点的高
C
)A.动能等于在A点的
B.机械能大于在A点的
C.速度比在A点的大
D.离地高度比在A点的高
答案:
C
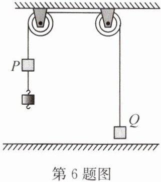
6. 如图所示,质量为2m的物块P下方连接有一个质量为m的钩码,上端通过细线绕过轻质定滑轮连接一质量为2m的物块Q,将它们由静止释放.在物块P下落到地面的过程中,P、Q间细线拉力大小为F(细线重力及各处的摩擦均不计,钩码落地后不弹起).下列说法正确的是(

A.钩码落地前$F = 3mg$,Q的机械能增大
B.钩码落地前$F\lt3mg$,Q的机械能增大
C.钩码落地后$F = 2mg$,P的机械能不变
D.钩码落地后$F\gt2mg$,P的机械能减小
B
)A.钩码落地前$F = 3mg$,Q的机械能增大
B.钩码落地前$F\lt3mg$,Q的机械能增大
C.钩码落地后$F = 2mg$,P的机械能不变
D.钩码落地后$F\gt2mg$,P的机械能减小
答案:
B
7. 将一物体从地面竖直上抛,物体上抛运动过程中所受空气阻力大小与速度成正比.设物体在地面时的重力势能为零,则物体从抛出到落回原地的过程中,物体的机械能E与物体距离地面高度h的关系,如图所示中描述正确的是(

D
)
答案:
D
查看更多完整答案,请扫码查看