9.(2023杭州西湖期末,5,★☆☆)用天平称一粒米的质量,可采用的方法是 ( )
A. 把一粒米放在天平上仔细测量
B. 把一粒米放在一杯子中,称出其总质量,再减去杯子的质量
C. 把一粒米放在天平托盘里,反复测量再求平均值
D. 先测一百粒米的质量,再通过计算求得
A. 把一粒米放在天平上仔细测量
B. 把一粒米放在一杯子中,称出其总质量,再减去杯子的质量
C. 把一粒米放在天平托盘里,反复测量再求平均值
D. 先测一百粒米的质量,再通过计算求得
答案:
D 一粒米的质量太小,无法直接测量,A错误;一粒米与杯子一块儿测,米的质量很难显示出来,不切实际,B错误;测量的次数再多,也不能解决质量太小、无法读数的问题,C错误;采用累积法,是测量微小质量最简便有效的方法,D正确。
10.(2023宁波鄞州期中,23,★★☆)小明在实验室测量某物体的质量,最终测得其质量为87 g,砝码盒中有100 g、50 g、10 g、5 g砝码各一个,20 g砝码两个,若用“+、-”分别表示在右盘中增加和减去砝码,则以下增减砝码和调节游码的操作顺序合理的是(S7203001) ( )
A. +50 g,+20 g,+20 g,-20 g,+5 g,+10 g,调节游码
B. +5 g,+10 g,+20 g,+20 g,+50 g,-20 g,调节游码
C. +100 g,-100 g,+20 g,+20 g,+50 g,-20 g,+10 g,调节游码
D. +100 g,-100 g,+50 g,+20 g,+20 g,-20 g,+10 g,+5 g,调节游码
A. +50 g,+20 g,+20 g,-20 g,+5 g,+10 g,调节游码
B. +5 g,+10 g,+20 g,+20 g,+50 g,-20 g,调节游码
C. +100 g,-100 g,+20 g,+20 g,+50 g,-20 g,+10 g,调节游码
D. +100 g,-100 g,+50 g,+20 g,+20 g,-20 g,+10 g,+5 g,调节游码
答案:
D 没有试加100 g的砝码,而直接加50 g的,不合理,而且后面先试加5 g,再试加10 g,也不合理,A不合题意;先从5 g的小砝码加起,再依次增大,B不合题意;试加完100 g的砝码之后,没有先加50 g的,而是直接加了20 g的,不合理,而且没有加到最小砝码,就去调节游码,也是错误的,C不合题意;完全按照由大到小的顺序,依次试加,D符合题意。
11. 学科素养·科学思维(2023宁波慈溪校级月考)小红在“测量铁块质量”的实验中,遇到如下问题(砝码盒里的砝码有100 g、50 g、20 g、20 g、10 g、5 g):
(1)若她在调节横梁平衡时,出现了如图b所示的情形,则横梁______平衡(填“已经”或“没有”)。
(2)在测量时,她在右盘中放入了50 g、20 g的砝码各一个,再往右盘里放一个20 g的砝码时,指针位置如图c所示;再用10 g砝码将一个20 g砝码替换下来,指针位置如图a所示,则该铁块的质量在______。
A. 70~80 g
B. 80~90 g
C. 90~100 g
D. 100~110 g
(3)她接下来应该进行的操作是______,使天平横梁平衡。(填序号)
A. 调节平衡螺母
B. 取下10 g的砝码,再加入5 g的砝码,并移动游码
C. 加入5 g的砝码,若指针左偏,再移动游码
D. 加入5 g的砝码,若指针右偏,再取下5 g的砝码,并移动游码
(1)若她在调节横梁平衡时,出现了如图b所示的情形,则横梁______平衡(填“已经”或“没有”)。
(2)在测量时,她在右盘中放入了50 g、20 g的砝码各一个,再往右盘里放一个20 g的砝码时,指针位置如图c所示;再用10 g砝码将一个20 g砝码替换下来,指针位置如图a所示,则该铁块的质量在______。
A. 70~80 g
B. 80~90 g
C. 90~100 g
D. 100~110 g
(3)她接下来应该进行的操作是______,使天平横梁平衡。(填序号)
A. 调节平衡螺母
B. 取下10 g的砝码,再加入5 g的砝码,并移动游码
C. 加入5 g的砝码,若指针左偏,再移动游码
D. 加入5 g的砝码,若指针右偏,再取下5 g的砝码,并移动游码
答案:
答案
(1)已经
(2)B
(3)CD
解析
(1)若她在调节横梁平衡时出现了如图b中所示的情形,说明指针左右摆动幅度相等,天平横梁已经平衡。
(2)加20 g砝码,指针偏右,此时砝码的质量为50 g+20 g+20 g = 90 g,说明砝码的质量偏大;用10 g砝码将一个20 g砝码替换下来,指针偏左,此时砝码的质量为50 g+20 g+10 g = 80 g,说明砝码的质量偏小,由此可见,该铁块的质量在80 g~90 g。
(3)称量过程中不可以再移动平衡螺母,A错误;因为指针偏左,所以不能取下10 g的砝码,应再加入5 g的砝码,并观察指针偏转情况,B错误;加入5 g的砝码,若指针左偏,说明砝码质量偏小,可以再移动游码,C正确;加入5 g的砝码,若指针右偏,说明砝码质量偏大,可以再取下5 g的砝码,并移动游码,D正确。
(1)已经
(2)B
(3)CD
解析
(1)若她在调节横梁平衡时出现了如图b中所示的情形,说明指针左右摆动幅度相等,天平横梁已经平衡。
(2)加20 g砝码,指针偏右,此时砝码的质量为50 g+20 g+20 g = 90 g,说明砝码的质量偏大;用10 g砝码将一个20 g砝码替换下来,指针偏左,此时砝码的质量为50 g+20 g+10 g = 80 g,说明砝码的质量偏小,由此可见,该铁块的质量在80 g~90 g。
(3)称量过程中不可以再移动平衡螺母,A错误;因为指针偏左,所以不能取下10 g的砝码,应再加入5 g的砝码,并观察指针偏转情况,B错误;加入5 g的砝码,若指针左偏,说明砝码质量偏小,可以再移动游码,C正确;加入5 g的砝码,若指针右偏,说明砝码质量偏大,可以再取下5 g的砝码,并移动游码,D正确。
12. 学科素养·探究实践(2024广东汕头潮南二模)
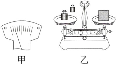
①小明同学在用天平测物体质量的实验中,首先取来托盘天平放在水平桌面上,并将游码移到左端零刻度处,发现指针如图甲所示,他应采取的措施是______________________。
②天平调节平衡后,小明按如图乙所示的方法来称量物体的质量,小华立即对小明说:“你操作时至少犯了两个错误。”小华所说的两个错误是:______________________;______________________。
③纠正错误后,最后测量的结果如图丙所示,那么小明所称量物体的质量是______g。
①小明同学在用天平测物体质量的实验中,首先取来托盘天平放在水平桌面上,并将游码移到左端零刻度处,发现指针如图甲所示,他应采取的措施是______________________。
②天平调节平衡后,小明按如图乙所示的方法来称量物体的质量,小华立即对小明说:“你操作时至少犯了两个错误。”小华所说的两个错误是:______________________;______________________。
③纠正错误后,最后测量的结果如图丙所示,那么小明所称量物体的质量是______g。
答案:
答案 ①向右调节平衡螺母 ②物体放到右盘,砝码放左盘 游码未移到左端零刻度线处 ③48.4
解析 ①小明同学在用天平测物体质量的实验中,首先取来托盘天平放在水平桌面上,并将游码移到左端零刻度处,发现指针如图甲所示,他应采取的措施是向右调节平衡螺母。②小华所说的两个错误是:物体放到右盘,砝码放左盘;游码未移到左端零刻度线处。③物体的质量等于砝码的总质量加游码左端在标尺上所对的刻度值,如图丙,小明所称量物体的质量是48.4 g。
解析 ①小明同学在用天平测物体质量的实验中,首先取来托盘天平放在水平桌面上,并将游码移到左端零刻度处,发现指针如图甲所示,他应采取的措施是向右调节平衡螺母。②小华所说的两个错误是:物体放到右盘,砝码放左盘;游码未移到左端零刻度线处。③物体的质量等于砝码的总质量加游码左端在标尺上所对的刻度值,如图丙,小明所称量物体的质量是48.4 g。
查看更多完整答案,请扫码查看