2025年金版学案同步优学智慧作业九年级化学上册科粤版
注:目前有些书本章节名称可能整理的还不是很完善,但都是按照顺序排列的,请同学们按照顺序仔细查找。练习册 2025年金版学案同步优学智慧作业九年级化学上册科粤版 答案主要是用来给同学们做完题方便对答案用的,请勿直接抄袭。
第52页
- 第1页
- 第2页
- 第3页
- 第4页
- 第5页
- 第6页
- 第7页
- 第8页
- 第9页
- 第10页
- 第11页
- 第12页
- 第13页
- 第14页
- 第15页
- 第16页
- 第17页
- 第18页
- 第19页
- 第20页
- 第21页
- 第22页
- 第23页
- 第24页
- 第25页
- 第26页
- 第27页
- 第28页
- 第29页
- 第30页
- 第31页
- 第32页
- 第33页
- 第34页
- 第35页
- 第36页
- 第37页
- 第38页
- 第39页
- 第40页
- 第41页
- 第42页
- 第43页
- 第44页
- 第45页
- 第46页
- 第47页
- 第48页
- 第49页
- 第50页
- 第51页
- 第52页
- 第53页
- 第54页
- 第55页
- 第56页
- 第57页
- 第58页
- 第59页
- 第60页
- 第61页
- 第62页
- 第63页
- 第64页
- 第65页
- 第66页
- 第67页
- 第68页
- 第69页
- 第70页
- 第71页
- 第72页
- 第73页
- 第74页
- 第75页
- 第76页
- 第77页
- 第78页
- 第79页
- 第80页
- 第81页
- 第82页
- 第83页
- 第84页
- 第85页
- 第86页
- 第87页
- 第88页
- 第89页
- 第90页
- 第91页
- 第92页
- 第93页
- 第94页
- 第95页
- 第96页
- 第97页
- 第98页
- 第99页
- 第100页
- 第101页
- 第102页
- 第103页
- 第104页
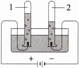
3. 电解水的实验如图所示。下列说法不正确的是(

A.试管1中得到氧气
B.试管2中产生的气体能够燃烧
C.产生的氢气与氧气的体积比约为2∶1
D.该实验能证明水由氢气和氧气组成
D
)A.试管1中得到氧气
B.试管2中产生的气体能够燃烧
C.产生的氢气与氧气的体积比约为2∶1
D.该实验能证明水由氢气和氧气组成
答案:
3.D
4. 电解水实验中产生气体的体积与时间的关系如图所示。下列分析正确的是(

A.与电源负极相连的电极上产生气体N
B.检验M、N气体可证明水的组成
C.气体M、N的质量比为1∶2
D.通电后气体产生的速率相同
B
)A.与电源负极相连的电极上产生气体N
B.检验M、N气体可证明水的组成
C.气体M、N的质量比为1∶2
D.通电后气体产生的速率相同
答案:
4.B
5. 电解水的过程可用下列图示表示,粒子运动变化的先后顺序是(

A.①②③④
B.①②④③
C.④③①②
D.④①②③
C
)A.①②③④
B.①②④③
C.④③①②
D.④①②③
答案:
5.C
6. 如图1是电解水的简易装置,试回答下列问题。

(1)与甲试管相连的是电源的
(2)电解一段时间后,甲、乙两试管内水位均下降,水位下降的原因是________________________;______试管水位下降快。
(3)在电解水的实验中,将两极产生的气体的体积与时间的关系绘制成如图2所示的图像,由图2可以看出0~4 min及4~8 min内产生A、B气体的体积比都约为
(1)与甲试管相连的是电源的
负
极。(2)电解一段时间后,甲、乙两试管内水位均下降,水位下降的原因是________________________;______试管水位下降快。
(3)在电解水的实验中,将两极产生的气体的体积与时间的关系绘制成如图2所示的图像,由图2可以看出0~4 min及4~8 min内产生A、B气体的体积比都约为
2:1
,则B气体是氧
气。
答案:
6.
(1)负
(2)生成的氢气和氧气均不易溶于水,且密度比水小,会聚集在试管的上部,使水位下降 甲
(3)2:1 氧
(1)负
(2)生成的氢气和氧气均不易溶于水,且密度比水小,会聚集在试管的上部,使水位下降 甲
(3)2:1 氧
7. (2025·南沙区一模)某学习小组以“水”为主题展开研究,下列有关说法不正确的是(

A.试管a收集的气体是氢气
B.试管b收集的气体可用于炼钢、气焊等
C.电解水和水蒸发都属于化学变化
D.电解水的微观实质是分子分解为原子,原子重新组合成新的分子
C
)A.试管a收集的气体是氢气
B.试管b收集的气体可用于炼钢、气焊等
C.电解水和水蒸发都属于化学变化
D.电解水的微观实质是分子分解为原子,原子重新组合成新的分子
答案:
7.C
查看更多完整答案,请扫码查看