10. 如图所示,画出了光线经过透镜前后的方向,则在虚线处的透镜应是(

A.凸透镜
B.凹透镜
C.凸透镜、凹透镜都可以
D.凸透镜、凹透镜都不可以
B
)A.凸透镜
B.凹透镜
C.凸透镜、凹透镜都可以
D.凸透镜、凹透镜都不可以
答案:
B
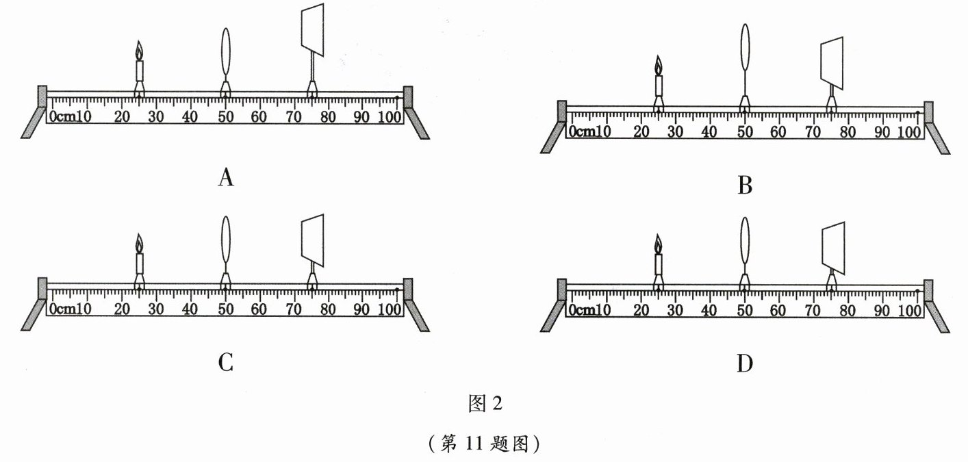
11. 物理创新实验小组的同学利用如下器材探究凸透镜成像的规律。


【实验器材】
蜡烛、凸透镜、光屏、光具座等。
【进行实验与收集数据】
(1)测焦距:如图1所示,让凸透镜正对着太阳光,在它的另一侧找到最小、最亮的光斑,说明凸透镜对光具有
(2)组装实验装置:将蜡烛、凸透镜和光屏放在光具座上,并对三者进行调节,如图2所示是他们分别调节完的实验装置,其中调节正确的是
(3)设计实验表格:请将表格中①和②的内容补充到横线上:①__;②__。
| 物距 $ u $ 跟焦距 $ f $ 的关系 | 像的性质 |
| | ①
| | | | |
| | | | |
| | | | |

【分析与论证】
略
【拓展】
(4)在实验过程中,光屏上呈现了一个清晰的像,此时,若某同学用焦距相同、直径更大的凸透镜替换原凸透镜,则光屏上呈现的像比原来的像
【实验器材】
蜡烛、凸透镜、光屏、光具座等。
【进行实验与收集数据】
(1)测焦距:如图1所示,让凸透镜正对着太阳光,在它的另一侧找到最小、最亮的光斑,说明凸透镜对光具有
会聚
作用,该凸透镜的焦距为5
cm。(2)组装实验装置:将蜡烛、凸透镜和光屏放在光具座上,并对三者进行调节,如图2所示是他们分别调节完的实验装置,其中调节正确的是
C
(填字母序号)装置,理由是三者的中心大致在同一水平高度
,能使像清晰地呈现在光屏的中央。(3)设计实验表格:请将表格中①和②的内容补充到横线上:①__;②__。
| 物距 $ u $ 跟焦距 $ f $ 的关系 | 像的性质 |
| | ①
正倒
| 大小 | ②虚实
|| | | | |
| | | | |
| | | | |
【分析与论证】
略
【拓展】
(4)在实验过程中,光屏上呈现了一个清晰的像,此时,若某同学用焦距相同、直径更大的凸透镜替换原凸透镜,则光屏上呈现的像比原来的像
更亮
(填“更大”“更小”或“更亮”)。
答案:
(1)会聚 5
(2)C 三者的中心大致在同一水平高度
(3)①正倒 ②虚实
(4)更亮
(1)会聚 5
(2)C 三者的中心大致在同一水平高度
(3)①正倒 ②虚实
(4)更亮
查看更多完整答案,请扫码查看