第80页
- 第1页
- 第2页
- 第3页
- 第4页
- 第5页
- 第6页
- 第7页
- 第8页
- 第9页
- 第10页
- 第11页
- 第12页
- 第13页
- 第14页
- 第15页
- 第16页
- 第17页
- 第18页
- 第19页
- 第20页
- 第21页
- 第22页
- 第23页
- 第24页
- 第25页
- 第26页
- 第27页
- 第28页
- 第29页
- 第30页
- 第31页
- 第32页
- 第33页
- 第34页
- 第35页
- 第36页
- 第37页
- 第38页
- 第39页
- 第40页
- 第41页
- 第42页
- 第43页
- 第44页
- 第45页
- 第46页
- 第47页
- 第48页
- 第49页
- 第50页
- 第51页
- 第52页
- 第53页
- 第54页
- 第55页
- 第56页
- 第57页
- 第58页
- 第59页
- 第60页
- 第61页
- 第62页
- 第63页
- 第64页
- 第65页
- 第66页
- 第67页
- 第68页
- 第69页
- 第70页
- 第71页
- 第72页
- 第73页
- 第74页
- 第75页
- 第76页
- 第77页
- 第78页
- 第79页
- 第80页
- 第81页
- 第82页
- 第83页
- 第84页
- 第85页
例 2 如图 19 - 2 所示,蹄形磁铁位于水平木板上。当导体棒向右运动时,电流计的指针向左偏转,则能使电流计的指针向右偏转的措施是(

A.导体棒竖直向上运动
B.磁铁和导体棒以相同的速度同时向右运动
C.导体棒不动,使磁铁向左运动
D.对调磁铁的磁极,并使导体棒向右运动
D
)。A.导体棒竖直向上运动
B.磁铁和导体棒以相同的速度同时向右运动
C.导体棒不动,使磁铁向左运动
D.对调磁铁的磁极,并使导体棒向右运动
答案:
解析 产生感应电流的条件是闭合电路中的一部分导体在磁场中做切割磁感线运动,导体棒竖直向上运动、磁铁和导体棒以相同的速度同时向右运动,都没有做切割磁感线运动,故 A、B 选项均不正确。感应电流的方向与导体的运动方向和磁感线的方向都有关系,导体棒不动,使磁铁向左运动,相当于磁铁不动,导体棒向右运动,电流方向不变,故 C 选项也不正确。导体棒保持向右运动,若对调磁铁的磁极,则感应电流的方向也随着发生改变,故 D 选项正确。所以正确答案为 D。
评注 电流计指针偏转的方向反映电流的方向。本题考查感应电流产生的条件和感应电流的方向跟什么有关。关键在于正确理解切割的含义,不能仅凭导体是否运动来判断。感应电流的方向不仅跟导体运动的方向有关,还跟磁感线的方向有关,当两者中某个发生改变时,电流的方向就会发生改变,但两者同时改变时,电流的方向则不变。
评注 电流计指针偏转的方向反映电流的方向。本题考查感应电流产生的条件和感应电流的方向跟什么有关。关键在于正确理解切割的含义,不能仅凭导体是否运动来判断。感应电流的方向不仅跟导体运动的方向有关,还跟磁感线的方向有关,当两者中某个发生改变时,电流的方向就会发生改变,但两者同时改变时,电流的方向则不变。
1. 在如图 19 - 3 所示的装置中,要使灵敏电流计中有电流通过,可行的办法是(

A.闭合开关,使导体 $ ab $ 竖直向上运动
B.闭合开关,使导体 $ ab $ 水平向外运动
C.断开开关,使导体 $ ab $ 水平向右运动
D.断开开关,使导体 $ ab $ 斜向后运动
B
)。A.闭合开关,使导体 $ ab $ 竖直向上运动
B.闭合开关,使导体 $ ab $ 水平向外运动
C.断开开关,使导体 $ ab $ 水平向右运动
D.断开开关,使导体 $ ab $ 斜向后运动
答案:
B
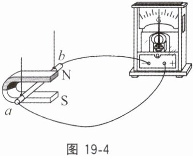
2. 如图 19 - 4 所示是探究产生感应电流条件的实验装置,下列说法正确的是(

A.只要导体 $ ab $ 在磁场中运动,灵敏电流计的指针就会发生偏转
B.只对调两个磁极方向,灵敏电流计的指针偏转方向发生改变
C.只改变导体 $ ab $ 切割磁感线的方向,灵敏电流计的指针偏转方向不发生改变
D.电磁感应是把电能转化为机械能
B
)。A.只要导体 $ ab $ 在磁场中运动,灵敏电流计的指针就会发生偏转
B.只对调两个磁极方向,灵敏电流计的指针偏转方向发生改变
C.只改变导体 $ ab $ 切割磁感线的方向,灵敏电流计的指针偏转方向不发生改变
D.电磁感应是把电能转化为机械能
答案:
B
查看更多完整答案,请扫码查看