【实验新情景】
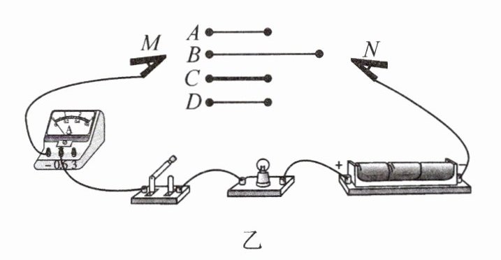
在“探究影响电阻大小的因素”实验时,小宁选取如表所示的四个导体,分别连接在如图乙所示电路的M、N间进行实验。


| 导体编号 | 长度(m) | 横截面积(mm^2) | 材料 |
| :------- | :------ | :------------ | :--------- |
| A | 0.6 | 0.4 | 镍铬合金 |
| B | 1.0 | 0.4 | 镍铬合金 |
| C | 0.6 | 0.6 | 镍铬合金 |
| D | 0.6 | 0.4 | 锰铜合金 |
(1)实验时,通过观察______能更准确反映出导体电阻的大小。这种间接反映电阻大小的实验方法叫______。
(2)在探究“导体电阻大小与长度的关系”时,他应选取______两个导体进行探究。
(3)接下来,他分别将A和C两导体接入电路进行实验,发现对应电路中的电流$I_A < I_C$,这表明在______相同时,导体的______越小,导体的电阻越大。
(4)在“研究电阻随温度变化”的实验中,小宁另取一段灯泡中的钨丝连入电路M、N间进行实验,用酒精灯加热钨丝后,发现电流表的示数变小了,说明钨丝的电阻随温度的升高而______(填“变大”“变小”或“不变”)。
(5)在实验后,小宁对实验进行了深入的思考,提出了两个想法:
①在探究电阻与横截面积的关系时,可以取一段合金丝,将合金丝接入电路,读出电流表示数,然后再将合金丝对折后接入电路中,观察电流表示数的变化,从而作出比较。他的这种实验方案是否可行,请说出理由:______。
②在电路设计中,既然电流表已经能测出电路的电流变化,那么接入小灯泡就显得多余了。你是否赞同他的观点,理由是______。
在“探究影响电阻大小的因素”实验时,小宁选取如表所示的四个导体,分别连接在如图乙所示电路的M、N间进行实验。
| 导体编号 | 长度(m) | 横截面积(mm^2) | 材料 |
| :------- | :------ | :------------ | :--------- |
| A | 0.6 | 0.4 | 镍铬合金 |
| B | 1.0 | 0.4 | 镍铬合金 |
| C | 0.6 | 0.6 | 镍铬合金 |
| D | 0.6 | 0.4 | 锰铜合金 |
(1)实验时,通过观察______能更准确反映出导体电阻的大小。这种间接反映电阻大小的实验方法叫______。
(2)在探究“导体电阻大小与长度的关系”时,他应选取______两个导体进行探究。
(3)接下来,他分别将A和C两导体接入电路进行实验,发现对应电路中的电流$I_A < I_C$,这表明在______相同时,导体的______越小,导体的电阻越大。
(4)在“研究电阻随温度变化”的实验中,小宁另取一段灯泡中的钨丝连入电路M、N间进行实验,用酒精灯加热钨丝后,发现电流表的示数变小了,说明钨丝的电阻随温度的升高而______(填“变大”“变小”或“不变”)。
(5)在实验后,小宁对实验进行了深入的思考,提出了两个想法:
①在探究电阻与横截面积的关系时,可以取一段合金丝,将合金丝接入电路,读出电流表示数,然后再将合金丝对折后接入电路中,观察电流表示数的变化,从而作出比较。他的这种实验方案是否可行,请说出理由:______。
②在电路设计中,既然电流表已经能测出电路的电流变化,那么接入小灯泡就显得多余了。你是否赞同他的观点,理由是______。
答案:
(1)电流表示数 转换法
(2)A、B
(3)导体的材料和长度 横截面积
(4)变大
(5)①方案不可行,没有控制导体的长度相同 ②不赞同,灯泡串联接入电路可以起到保护电路的作用
(1)电流表示数 转换法
(2)A、B
(3)导体的材料和长度 横截面积
(4)变大
(5)①方案不可行,没有控制导体的长度相同 ②不赞同,灯泡串联接入电路可以起到保护电路的作用
如图所示,小宁将电路中的a、b两电极铜棒插入自来水,对自来水的导电性进行了相关探究,得到如下数据:

| 电极铜棒浸入水中的深度h(cm) | 0 | 1 | 2 | 3 |
| :-------------------------- | :-- | :-- | :-- | :-- |
| 电流表的示数I(A) | 0 | 0.16 | 0.20 | 0.32 |

(1)此实验中,电流表示数越大,表明自来水的导电性能越______。
(2)根据表格可知,该实验探究的问题是______。
(3)分析表中数据可知,当电极铜棒浸入水中深度越深,实质上会导致a、b间接入电路的液体的______(填“长度”或“横截面积”)变化。
(4)若要探究导电性与自来水中含盐量(NaCl)的关系,你将如何进行实验:______。
| 电极铜棒浸入水中的深度h(cm) | 0 | 1 | 2 | 3 |
| :-------------------------- | :-- | :-- | :-- | :-- |
| 电流表的示数I(A) | 0 | 0.16 | 0.20 | 0.32 |
(1)此实验中,电流表示数越大,表明自来水的导电性能越______。
(2)根据表格可知,该实验探究的问题是______。
(3)分析表中数据可知,当电极铜棒浸入水中深度越深,实质上会导致a、b间接入电路的液体的______(填“长度”或“横截面积”)变化。
(4)若要探究导电性与自来水中含盐量(NaCl)的关系,你将如何进行实验:______。
答案:
(1)好
(2)自来水的导电性能是否与金属电极浸入自来水的深度有关
(3)横截面积
(4)实验中保持 A、B 间的距离及深度相等,不断在自来水中加入 NaCl(改变自来水中的含盐量),待溶解后,观察电流表的示数
(1)好
(2)自来水的导电性能是否与金属电极浸入自来水的深度有关
(3)横截面积
(4)实验中保持 A、B 间的距离及深度相等,不断在自来水中加入 NaCl(改变自来水中的含盐量),待溶解后,观察电流表的示数
查看更多完整答案,请扫码查看