2025年暑假生活北京师范大学出版社八年级物理人教版
注:目前有些书本章节名称可能整理的还不是很完善,但都是按照顺序排列的,请同学们按照顺序仔细查找。练习册 2025年暑假生活北京师范大学出版社八年级物理人教版 答案主要是用来给同学们做完题方便对答案用的,请勿直接抄袭。
1. (多选)图 21 - 1 中的工具在正常使用时属于省力杠杆的是(

ABD
)。
答案:
ABD
2. 在一个轻质杠杆的左、右两端分别挂上 200 N 和 300 N 的重物时,杠杆恰好水平平衡。若将两端的重物同时减少 50 N,则杠杆(
A.左端下沉
B.右端下沉
C.仍然平衡
D.无法确定
B
)。A.左端下沉
B.右端下沉
C.仍然平衡
D.无法确定
答案:
B
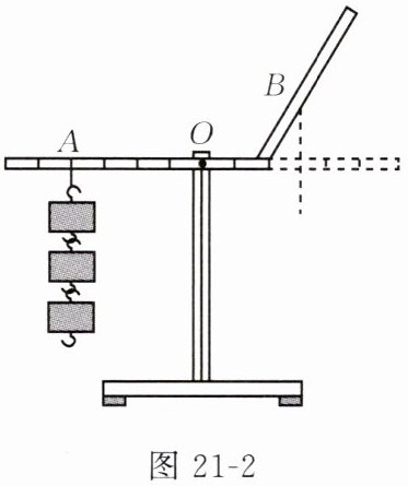
3. 在做“探究杠杆的平衡条件”实验时,调节杠杆水平平衡后,如图 21 - 2 所示,在轻质 L 形杠杆的 A 点挂了 3 个 50 g 的钩码,在另一侧的 B 点挂


4
个 50 g 的钩码,可以使杠杆水平平衡。
答案:
4
4. 多种人体活动可以抽象为杠杆。图 21 - 3 甲为前臂平伸、用手掌托住铅球的情形。我们可将图 21 - 3 甲简化成如图 21 - 3 乙所示的杠杆,不计杠杆自重,若铅球的质量$m = 3kg$,$OA = 0.03m$,$OB = 0.30m$,此时肱二头肌对前臂产生的拉力$F_{1}$为
300
N。($g取10N/kg$)
答案:
300
5. 在地震救援中把石块撬起,如图 21 - 4 所示,若在撬棒 D 点沿 DM 方向用力撬起石块 1,则撬棒的支点是
A
点;若在撬棒 D 点沿 DN 方向用力撬起石块 1,则撬棒的支点是C
点。B 点为 AC 的中点,在这两种方式中,沿DM
(选填“DM”或“DN”)方向用力撬起石块 1 比较省力。
答案:
A C DM
查看更多完整答案,请扫码查看