2025年练客单元期末大练考九年级化学全一册通用版安徽专版
注:目前有些书本章节名称可能整理的还不是很完善,但都是按照顺序排列的,请同学们按照顺序仔细查找。练习册 2025年练客单元期末大练考九年级化学全一册通用版安徽专版 答案主要是用来给同学们做完题方便对答案用的,请勿直接抄袭。
第38页
- 第1页
- 第2页
- 第3页
- 第4页
- 第5页
- 第6页
- 第7页
- 第8页
- 第9页
- 第10页
- 第11页
- 第12页
- 第13页
- 第14页
- 第15页
- 第16页
- 第17页
- 第18页
- 第19页
- 第20页
- 第21页
- 第22页
- 第23页
- 第24页
- 第25页
- 第26页
- 第27页
- 第28页
- 第29页
- 第30页
- 第31页
- 第32页
- 第33页
- 第34页
- 第35页
- 第36页
- 第37页
- 第38页
- 第39页
- 第40页
- 第41页
- 第42页
- 第43页
- 第44页
- 第45页
- 第46页
- 第47页
- 第48页
- 第49页
- 第50页
- 第51页
- 第52页
- 第53页
- 第54页
- 第55页
- 第56页
- 第57页
- 第58页
- 第59页
- 第60页
- 第61页
- 第62页
- 第63页
- 第64页
7. 氢气在氧气中燃烧生成水,其转化可表示为 $H_{2} \xrightarrow[点燃]{O_{2}} H_{2}O$。在给定的条件下,下列物质间的转化不能实现的是(
A.稀盐酸$\xrightarrow{铁丝}$FeCl3
B.铝丝$\xrightarrow{硫酸铜溶液}$Al2(SO4)3
C.氧化铜$\xrightarrow[高温]{C}$Cu
D.白磷$\xrightarrow[点燃]{O_{2}}$P2O5
A
)A.稀盐酸$\xrightarrow{铁丝}$FeCl3
B.铝丝$\xrightarrow{硫酸铜溶液}$Al2(SO4)3
C.氧化铜$\xrightarrow[高温]{C}$Cu
D.白磷$\xrightarrow[点燃]{O_{2}}$P2O5
答案:
7.A
阅读下列材料完成第8~9题。
2024年10月30日神舟19号载人飞船成功发射,展示了中国在航天领域的强大实力和技术水平,是空间站应用与发展阶段的重要里程碑。航天运载火箭常用燃料为偏二甲肼(C2H8N2),推进剂为四氧化二氮。偏二甲肼常温下为无色液体,易溶于水;四氧化二氮为无色气体,液态时呈棕黄色,具有安全、方便、制备成本低等优点。其反应微观示意图如下:

8. 下列有关“偏二甲肼”的说法,错误的是(
A. 偏二甲肼可以燃烧
B. 偏二甲肼分子中有一个氮分子
C. 偏二甲肼中氮元素的质量分数最大
D. 偏二甲肼由碳、氢、氮三种元素组成
9. 结合反应微观示意图分析,下列说法正确的是(
A. 该反应产生有害气体
B. 反应物分子个数比1:1
C. 该反应中元素化合价都没发生改变
D. 燃烧不一定需要氧气参加
2024年10月30日神舟19号载人飞船成功发射,展示了中国在航天领域的强大实力和技术水平,是空间站应用与发展阶段的重要里程碑。航天运载火箭常用燃料为偏二甲肼(C2H8N2),推进剂为四氧化二氮。偏二甲肼常温下为无色液体,易溶于水;四氧化二氮为无色气体,液态时呈棕黄色,具有安全、方便、制备成本低等优点。其反应微观示意图如下:
8. 下列有关“偏二甲肼”的说法,错误的是(
B
)A. 偏二甲肼可以燃烧
B. 偏二甲肼分子中有一个氮分子
C. 偏二甲肼中氮元素的质量分数最大
D. 偏二甲肼由碳、氢、氮三种元素组成
9. 结合反应微观示意图分析,下列说法正确的是(
D
)A. 该反应产生有害气体
B. 反应物分子个数比1:1
C. 该反应中元素化合价都没发生改变
D. 燃烧不一定需要氧气参加
答案:
8.B 9.D
10. 推理是学习化学的重要思维模式。下列推理正确的是(
A.点燃甲烷前需要检验纯度,可燃性气体在点燃前都需要检验纯度
B.铝制品具有很好的抗腐蚀性能,所以铝的化学性质不活泼
C.燃烧都伴有发光放热现象,则有发光放热现象的一定是燃烧
D.易燃物在有限空间内急速燃烧易发生爆炸,所以爆炸都是化学变化
A
)A.点燃甲烷前需要检验纯度,可燃性气体在点燃前都需要检验纯度
B.铝制品具有很好的抗腐蚀性能,所以铝的化学性质不活泼
C.燃烧都伴有发光放热现象,则有发光放热现象的一定是燃烧
D.易燃物在有限空间内急速燃烧易发生爆炸,所以爆炸都是化学变化
答案:
10.A
11. 根据实验操作及现象,下列解释与结论中正确的是(

B
)
答案:
11.B
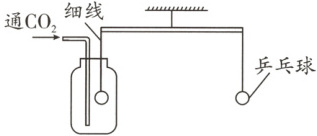
12. 如图,杠杆已调至平衡。向集气瓶内缓慢通入一定量的CO₂气体,稍后再倒入Ca(OH)₂溶液(液面不接触乒乓球)。下列说法正确的是(

A.通入CO₂气体后,左端乒乓球下降
B.整个过程中乒乓球位置始终没有变化
C.倒入足量Ca(OH)₂溶液后,杠杆逐渐恢复原状
D.其他条件不变,将CO₂换成H₂会产生同样现象
C
)A.通入CO₂气体后,左端乒乓球下降
B.整个过程中乒乓球位置始终没有变化
C.倒入足量Ca(OH)₂溶液后,杠杆逐渐恢复原状
D.其他条件不变,将CO₂换成H₂会产生同样现象
答案:
12.C [解析]通入$\mathrm{CO_2}$气体后,二氧化碳的密度比空气大,瓶内气体的密度增大,瓶内乒乓球所受浮力增大,左端乒乓球上升,稍后再倒入氢氧化钙溶液,二氧化碳能与氢氧化钙反应生成碳酸钙沉淀和水,二氧化碳被吸收,杠杆逐渐恢复平衡,若倒入足量氢氧化钙溶液,杠杆一定能恢复原状,A、B 错误,C正确;其他条件不变,氢气的密度比空气小,不与氢氧化钙溶液反应,将$\mathrm{CO_2}$换成$\mathrm{H_2}$不会产生同样现象,D错误。故选C。
13. (5分)阅读科普短文,回答下列问题。
火星不仅是科学研究的前沿阵地,也是人类探索宇宙的实践场所。以火星为例,如何在火星上实现火箭推进剂液态燃料甲烷的合成,是科学研究的重要课题。
研究发现:在一定条件下,以二氧化碳为原料的“地外合成甲烷”可以实现。
方案一:CO₂(g) +4H₂(g) = CH₄(g) +2H₂O(l)
方案二:CO₂(g) +2H₂(g) = CH₄(g) +O₂(g)(注:化学式后面的(g)表示物质为气态,(l)表示物质为液态)。
方案一的反应在低温下就可自发进行;方案二无外力驱动时不能自发进行。“地外合成液体燃料”技术一直是科学家追寻的梦想,将二氧化碳转化为甲烷的反应中,二氧化碳转化率与温度和压强的关系如图所示。

(1) “地外合成甲烷”方案一的优势是
(2) 写出甲烷完全燃烧的化学方程式:
(3) 由图可知,二氧化碳转化率与温度和压强的关系是
(4) 将CH₄(g)转化为CH₄(l),有利于储存和运输,该转化过程中分子间隔将 (选填“变大”或“变小”)。
火星不仅是科学研究的前沿阵地,也是人类探索宇宙的实践场所。以火星为例,如何在火星上实现火箭推进剂液态燃料甲烷的合成,是科学研究的重要课题。
研究发现:在一定条件下,以二氧化碳为原料的“地外合成甲烷”可以实现。
方案一:CO₂(g) +4H₂(g) = CH₄(g) +2H₂O(l)
方案二:CO₂(g) +2H₂(g) = CH₄(g) +O₂(g)(注:化学式后面的(g)表示物质为气态,(l)表示物质为液态)。
方案一的反应在低温下就可自发进行;方案二无外力驱动时不能自发进行。“地外合成液体燃料”技术一直是科学家追寻的梦想,将二氧化碳转化为甲烷的反应中,二氧化碳转化率与温度和压强的关系如图所示。
(1) “地外合成甲烷”方案一的优势是
反应在低温下可自发进行
。(2) 写出甲烷完全燃烧的化学方程式:
$\mathrm{CH_4 + 2O_2\xlongequal{点燃}CO_2 + 2H_2O}$
。(3) 由图可知,二氧化碳转化率与温度和压强的关系是
压强为$10\ \mathrm{MPa}$时,温度升高,二氧化碳转化率降低(或压强为$3\ \mathrm{MPa}$时,温度升高,二氧化碳转化率先降低后不变,或压强分别为$1\ \mathrm{MPa}$、$0.1\ \mathrm{MPa}$时,温度升高,二氧化碳转化率先降低后升高);在一定温度下,压强增大,二氧化碳转化率增大
。(4) 将CH₄(g)转化为CH₄(l),有利于储存和运输,该转化过程中分子间隔将 (选填“变大”或“变小”)。
答案:
13.
(1)反应在低温下可自发进行
(2)$\mathrm{CH_4 + 2O_2\xlongequal{点燃}CO_2 + 2H_2O}$
(3)压强为$10\ \mathrm{MPa}$时,温度升高,二氧化碳转化率降低(或压强为$3\ \mathrm{MPa}$时,温度升高,二氧化碳转化率先降低后不变,或压强分别为$1\ \mathrm{MPa}$、$0.1\ \mathrm{MPa}$时,温度升高,二氧化碳转化率先降低后升高);在一定温度下,压强增大,二氧化碳转化率增大
(4)变小
(1)反应在低温下可自发进行
(2)$\mathrm{CH_4 + 2O_2\xlongequal{点燃}CO_2 + 2H_2O}$
(3)压强为$10\ \mathrm{MPa}$时,温度升高,二氧化碳转化率降低(或压强为$3\ \mathrm{MPa}$时,温度升高,二氧化碳转化率先降低后不变,或压强分别为$1\ \mathrm{MPa}$、$0.1\ \mathrm{MPa}$时,温度升高,二氧化碳转化率先降低后升高);在一定温度下,压强增大,二氧化碳转化率增大
(4)变小
查看更多完整答案,请扫码查看